Фуллерены
Курсовая работапо «Материалам и
компонентам электронной техники»
на тему:
ФуллереныВыполнил: Neur0_13(z_c0m)
студент группы xxxx/x
СПбГПУ, 2004 г.
Содержание
Введение.
1. Методы получения и разделения фуллеренов.
2. Основные представления о симметрии фуллеренов.
3. Электронная структура С60.
4. Понятие об интеркаляции в фуллеритах.
5. Оптические свойства фуллеренов.
6. Проводимость фуллеренов.
7. Полимеризация фуллеренов.
8. Перспективы практического использования.
9. Заключение.
Введение
Издавна человеку были известны две кристаллические аллотропные модификации углерода: графит и алмаз. Еще в 1973 году Бочвар и Гальпери показали, что замкнутый полиэдр из атомов углерода в форме усеченного икосаэдра должен иметь замкнутую электронную оболочку и высокую энергию связи. Однако эта работа прошла незамеченной, и только в 1985 году Крото с сотрудниками обнаружили в масс-спектре продуктов разложения графита под действием лазерного пучка интенсивный пик с массой 720 у.е.м., происхождение которого объяснялось присутствием молекул С60. Другой, менее интенсивный пик, соответствующий массе 840 у.е.м., связывался с молекулой С70. Захватывающая история этого открытия подробно изложения в нобелевских лекциях Крото, Смолли и Керла. Новая аллотропная модификация углерода получила название «фуллерены». Открытие в 1990 году Крэчмером метода получения фуллеренов в макроскопических количествах дало начало интенсивным исследованиям и привело к появлению фактически новых разделов физики твердого тела, химии ароматичеких соединений, молекулярной электроники.
Фуллерены представляют собой устойчивые многоатомные кластеры углерода с числом атомов от нескольких десятков и выше. Число атомов углерода в таком кластере не произвольно, а подчиняется определенной закономерности. Форма фуллеренов – сфероид, грани которого образуют пяти- и шестиугольники. Согласно геометрическому расчету, проведенному еще Эйлером, для построения такого многогранника необходимо, чтобы число пятиугольных граней было равно двенадцати, число же шестиугольных граней может быть произвольно. Такому условию отвечают кластеры с числом атомов N = 32, 44, 50, 58, 60, 70, 72, 78, 80, 82, 84 и т.д. Наибольший интерес экспериментальных исследований представляет фуллерен С60 ввиду его наибольшей стабильности и высокой симметрии.
В настоящее время опубликовано множество экспериментальных и теоретических работ, посвященных различным аспектам физики С60 в различных состояниях: изолированная молекула, С60 в растворах и особенно С60 в твердотельном состоянии. При температурах ниже 600К С60 образует молекулярные кристаллы. Кристаллы высокой чистоты (99.98%) и миллиметровых размеров могут быть выращены из газовой фазы. Будем называть фуллеренами изолированные молекулы Сn, фуллеритами – фуллерены в твердотельном состоянии, в том числе полимеризованные фуллереновые структуры. К многообразным фуллереновым производным относятся также интеркалированные соединения и эндоэдральные фуллерены. При интеркаляции примеси вводятся в пустоты уристаллической решетки фуллерита, а эндоэдральные фуллерены образуются при внедрении атомов различного сорта внутрь кластера Сn.
С химической точки зрения фуллерены могут рассматриваться как трехмерные аналоги планарных ароматических соединений, но с той существенной разницей, что сопряжение п-элетронной системы непрерывно. Фуллерены не содержат водорода, который может участвовать в реакции замещения. Химический реакции с фуллеренами могут быть двух типов: реакции присоединения и окислительно-восстановительные, приводящие соответственно к ковалентным экзоэдральным соединениям и солям. Если найти химическую реакцию, открывающую окошко в каркасе фуллерена, позволяющую впустить туда некий атом или небольшую молекулу и вновь восстанавливающую соединение кластера, получится красивый метод получения эндоэдральных фуллеренов. Однако большинство эндоэдральных металлофуллеренов в настоящее время производятся либо в процессе формирования фуллеренов в присутствии чужеродного вещества, либо путем имплантации.
- Методы получения и разделения фуллеренов.
Наиболее эффективный способ получения фуллеренов основан на термическом разложении графита. При умеренном нагревании графита разрывается связь между отдельными слоями графита, но не происходит разложения испаряемого материала на отдельные атомы. При этом испаряемый слой состоит из отдельных фрагментов, представляющих собой комбинацию шестиугольников. Из этих фрагментов и происходит построение молекулы С60 и других фуллеренов. Для разложения графита при получении фуллеренов используются резистивный и высокочастотный нагрев графитового электрода, сжигание углеводородов, лазерное облучение поверхности графита, испарение графита сфокусированным солнечным лучом. Эти процессы проводятся в буферном газе, в качестве которого обычно используется гелий. Чаще всего для получения фуллеренов применятся дуговой разряд с графитовыми электродами в гелиевой атмосфере. Основная роль гелия связана с охлаждением фрагментов, которые имеют высокую степень колебательного возбуждения, что препятствует их объединению в стабильные структуры. Оптимальное давление гелия находится в диапазоне 50-100 Торр.
Основа метода проста: между двумя графитовыми электродами зажигается электрическая дуга, в которой испаряется анод. На стенках реактора осаждается сажа, содержащая от 1 до 40 % (в зависимости от геометрических и технологических параметров) фуллеренов. Для экстракции фуллеренов из фуллеренсодержащей сажи, сепарации и очистки используются жидкостная экстракция и колоночная хроматография. На первой стадии сажа обрабатывается неполярным растворителем (толуол, ксилол, сероуглерод). Эффективность экстракции обеспечивается применением аппарата Сокслета или обработкой ультразвуком. Полученный раствор фуллеренов отделяется от осадка фильтрованием и центрифугированием, растворитель отгоняют или испаряют. Твердый осадок содержит смесь фуллеренов, в различной степени сольватированных растворителем. Разделение фуллеренов на отдельные соединения проводят методами колоночной жидкостной хроматографии или жидкостной хроматографии высокого давления. Полное удаление остатка растворителя из твердого образца фуллерена осуществляется путем выдерживания при температуре 150—250 °С в условиях динамического вакуума в течение нескольких часов. Дальнейшее повышение степени чистоты достигается при сублимации очищенных образцов.
2. Основные представления о симметрии фуллеренов.
Каркас молекулы С60 состоит из 12 правильных пятиугольников (пентагонов) и 20 немного искаженных шестиугольников (гексагонов). Диаметр молекулы составляет 0.71 нм. Группа симметрии икосаэдра состоит из 120 элементов симметрии, включая 6 осей симметрии пятого порядка (через центры пентагонов), 10 осей третьего порядка (через центры гексагонов) и 15 осей второго порядка (перпендикулярно ребру между гексагонами). В икосаэдрической структуре молекулы С60 все атомы углерода эквивалентны, каждый атом принадлежит двум шестиугольникам и одному пятиугольнику и связан с ближайшими соседями двойной и двумя одиночными ковалентными связями. Непланарность молекул приводит к сильным напряжениям, вследствие чего фуллерены термодинамически менее стабильны, чем графит. Энергия напряжения забирает 80 % теплоты формирования.

Рисунок1. Молекула фуллерена С60 в стандартных ориентациях А и В
относительно кристаллографических осей.
Для рассмотрения вопроса о длине связей в молекуле фуллерена вспомним понятие гибридизации атомных орбит. Электронная оболочка атома углерода содержит четыре валентных электрона конфигурации s^2p^2. Валентные электроны атома находятся на разных орбитах, отличающихся друг от друга распределением электронного облака в пространстве. На основании этого можно было бы предположить наличие связей, не равноценных ни по направлению, ни по прочности: p-орбиты должны создавать более прочные связи, чем s-орбиты. Однако, по данным, например, рентгеноструктурного анализа, молекула ВСl3(хлорид бора) содержит совершенно эквивалентные связи. Для объяснения подобных фактов было предположено, что валентные электроны формируют связи не за счет чистых s,p,d,f-орбит, а за счет смешанных, гибридных орбит. При гибридизации обеспечивается гораздо большее перекрытие электронных облаков вдоль линии, соединяющей центры атомов, чем в случае негибридизированных волновых функций. Благодаря этому происходит понижение энергии всей молекулы и упрочнение связей. При sp^3-гибридизации углам между направлениями, вдоль которых гибридные волновые функции имеют максимумы, соответствуют тетраэдрические значения 109°28'. Гибридизация d^2sp^3 дает октаэдр. В конфигурации алмаза каждый из четырех валентных электронов углерода принадлежит тетрагонально направленной sp^3-гибридной орбитали, которая создает прочную сигма-связь с соседним атомом. В случае графита каждый из трех валентных электронов принадлежит тригонально направленной sp2-гибридной орбитали, участвующей в формировании сильных внутреслойных сигма-связей, а четвертый электрон находится на орбитали pп, направленной перпендикулярно сигма-плоскости. Эта орбиталь формирует слабые, делокализованные пи-связи со своими соседями, при этом пи-связь часто называют ненасыщенной связью. Для графита расстояние между атомами в узлах гексагональной сетки равно 0.142 нм, а между сетками (слоями) 0.335 нм. Для простоты принято говорить, что углеродные атомы фуллереновой клетки имеют sp^2-гибридизацию. Однако это не совсем так, поскольку это возможно только для планарных структур, а отклонение приводит к частичной регибридизации. Для С60 примешивание сигма-связей приводит к состоянию sp^2. Связи, которыми соединяются 2 гексагона ((6,6)-связь, 0.139 нм), двойные и они короче, чем одиночные связи на границе пентагона и гексагона ((5,6)-связь, 0.145 нм). Различия в длине связей ослабевают для С60^-6 и исчезают для С60^-12. Для К6С60 длины связей равны 0.142 и 0.145 нм, в то время как для Li12С60 (6,6)-связь становится длиннее (5,6)-связи: 0.145 и 0.144 нм. Следовательно, причина чередования связей — в заселенности молекулярных орбиталей.
3. Электронная структура С60
Диаграмма энергетических уровней изолированной молекулы С60 схематически показана на рисунке 2. Колебательные состояния, связанные с каждым электронным состоянием, лежат выше
соответствующего бесколебательного уровня на энергию (E), равную целому числу квантов энергии колебаний. Поглощение и испускание света между основным состоянием и первым возбужденным синглетным состоянием должны отсутствовать из-за того, что такие переходы запрещены по соображениям симметрии. Поэтому оптические переходы между этими состояниями могут происходить только при участии фононов.

Рисунок 2. Диаграмма энергетических уровней изолированной молекулы С60.
Экспериментальные и теоретические работы свидетельствовали о том, что энергия электронных переходов между наивысшей заполненной и наинизшей незаполненной молекулярными
орбиталями (HOMO—LUMO) в С60 (как в изолированной молекуле, так и в конденсированном состоянии) лежит в оптическом диапазоне. Первое детальное теоретическое исследование электронной структуры С60 в твердотельном состоянии было выполнено Саито и Ошиямой. Физические свойства молекулы определяются ее электронной структурой, и в этом отношении С60 не имеет аналогов. В молекуле С60 имеется 60 пи-электронов, которые находятся в наименее связанных состояниях и, таким образом, определяют, как С60 будет связываться с другими атомами или молекулами в твердом состоянии.
Распределение по энергиям этих пи-электронов показано на рис. 3. Пары пи-электронов с противоположным спином заполняют 30 нижних энергетических состояний (эти уровни показаны на рисунке 3). Обозначения уровней a, t, g и h соответствуют кратностям вырождения 1, 3, 4 и 5, а индексы g и и относятся к четной и нечетной симметрии волновой функции. Число состояний на уровне определяется побочным квантовым числом L; самый нижний уровень ag (L = 0) содержит одно состояние, следующий t1u (L = 1) содержит три состояния и т.д. Уровень с моментом L = 5, содержащим 11 состояний, на которых могут разместиться 22 электрона, вследствие икосаэдрической симметрии оказывается расщеплен на три отдельных уровня: hu + t1u + t2u. На самом нижнем из них, hu, находится 10 электронов, и это есть наивысшая заполненная молекулярная орбиталь; следующий уровень, t1u, называется наинизшей незаполненной молекулярной орбиталью, на нем может располагаться до 6 электронов.

Рисунок 3. Распределение по энергиям 60 пи-электронов изолированной молекулы и зонная диаграмма энергетических уровней ГЦК фуллерита С60.
Рассмотрим гипотетическую молекулу C60^10+. Полностью заполнены s, р, d, f, g-оболочки, принимающие соответственно 2, 6, 10, 14 и 18 электронов, итого 50. Полное заполнение ведет к тому, что угловые моменты распределены равномерно; гипотетическая молекула С60^10+ не имеет отклонений от икосаэдрической симметрии и не имеет различий в длине связей. В нейтральной молекуле нижний уровень hu оказывается полностью заполнен десятью электронами, которые образуют конфигурацию, аналогичную конфигурации локализованных сигма-орбиталей вдоль (6,6)-связей. Это приводит к слабой локализации пи-электронов вдоль ребра между гексагонами. Добавление 12 электронов на свободные уровни t1u и t2u возвращает симметрию, и длина связей выравнивается (случай Li12C60). Расчетные длины связей и собственных колебаний молекулы находятся в хорошем согласии с экспериментом по комбинационному рассеянию света, инфракрасному поглощению,
неупругому нейтронному рассеянию. Для зазора HOMO—LUMO изолированной молекулы С60 рассчитано значение 1.9 эВ. В конденсированном состоянии этот зазор уменьшается из-за перекрытия волновых функций, связанного с соседними молекулами. Рассчитанная зонная структура С60 в твердотельном состоянии (ГЦК-решетка) показана на рисунке 3 справа. Наблюдается дисперсия в энергии пяти hu-вычисленных валентных зон и трех t1u - вычисленных зон проводимости. Вычисления показывают, что твердотельный С60 в ГЦК-решетке представляет собой прямозонный полупроводник с шириной запрещенной зоны 1.5 эВ. Оптические переходы между потолком валентной зоны и дном зоны проводимости являются запрещенными по соображениям симметрии, так как волновые функции начального и конечного состояний имеют одинаковую четность.
Несмотря на многочисленные исследования электронной структуры С60, сведения об области энергий вокруг уровня Ферми остаются противоречивыми. Зонная структура С60 в ГЦК-решетке сходна со строением энергетических уровней изолированного кластера С60. Для зазора HOMO—LUMO изолированной молекулы С60 рассчитано значение 1.9 эВ. В конденсированном состоянии этот зазор уменьшается из-за перекрытия волновых функций, связанного с соседними молекулами. Наблюдается дисперсия в энергии пяти вычисленныхвалентных зон hu и трех вычисленных зон проводимости
t1u. Вычисления показывают, что фуллерит С60 в ГЦК-решетке представляет собой прямозонный полупроводник с минимумом энергетической щели в точке X зоны Бриллюэна. Расчеты в приближении квазичастиц предсказывают величину щели 2.15 эВ, метод локальной плотности дает явно заниженное значение 1.5 эВ. Наиболее надежным значением для энергетического расстояния между серединами зон HOMO и LUMO можно считать 3.36 эВ при теоретическом значении 3 эВ. Ионизационный потециал равен 7.62 эВ, сродство к электрону 2.65, энергия низшего триплетного состояния 1.7 эВ. Работа выхода для аморфных пленок С60 определена как 4.53 эВ. Кулоновское взаимодействие между молекулами составляет
U=1.6 эВ. Такое значение U должно приводить к возникновению экситонов Френкеля в районе 1.5-2 эВ. Возникновение экситонов Френкеля и экситонов с переносом заряда, характеризующихся тем ,что возбужденный электрон находится на одной молекуле, а дырка на другой.
4. Кристаллические модификации фуллеритов
4.1. Ориентационные структуры
Равновесная твердая фаза С60 при комнатной температуре представляет собой кристаллы с гранецентрированной кубической решеткой (ГЦК), с постоянной а = 1.417 нм, в которой отдельные молекулы удерживаются силами Ван-дер-Ваальса. Элементарная ячейка содержит 8 тетраэдрических пустот и 4 октаэдрические пустоты, каждая из которых окружена соответственно 4 и 6 молекулами С60. Расстояние между ближайшими соседними молекулами равно 1.002 нм.
Координационное число молекул фуллерена в ГЦК-фазе равно 12.
Можно выделить как минимум 4 различных ориентационных состояния фуллерита С60: стекольная фаза, простая кубическая решетка, фаза свободного вращения (чаще всего гранецентрирован-ная кубическая, однако встречались сообщения о гексагональной плотной упаковке) и полимеризованная фаза.
Считается, что при температурах выше 249 — 260 К молекулы быстро вращаются, имеют квазисферическую форму и образуют ГЦК-решетку. По данным ЯМР, частота вращения при комнатной температуре составляет 10^12 с^-1. Но даже в этой фазе вращение не полностью свободно, поскольку существует сильная интермолекулярная ориентационная корреляция. Локализация осуществляется за счет более богатой электронами связи С=С, которая примыкает к центру пентагона соседней молекулы, имеющей более низкую электронную плоскость. Вблизи температуры ориентационного перехода размер коррелированных кластеров достигает 4 нм. При охлаждении фуллерита в области температур 250 — 260 К сходит фазовый переход первого рода: кристалл переходит в простую примитивную кубическую решетку (ПК) с 4 молекулами
в элементарной ячейке. Переход не связан с перемещением молекул, а вызван лишь взаимным упорядочением. Вращательное движение сменяется скачкообразным и либрационным движением около равновесной ориентации. При температуре 90 К скачки замерзают и происходит переход типа стеклования. Ориентация молекул влияет на такие черты электронной структуры, как вырождение, дисперсия, ширина зон, положение экстремумов валентной зоны и зоны проводимости.
Упорядочение в простой кубической фазе не является полным, поскольку возможны две ориентации молекул, в которых молекулы повернуты на 38 или 98° относительно оси (111). Насыщенные электронами межпентагонные связи могут быть направлены на бедные электронами грани пентагонов (Р-ориентация) или гексагонов (H-ориентация). Эти две ориентации почти одинаковы энергетически. Однако они имеют различную постоянную решетки. Этим объясняется маленький коэффициент термического расширения фуллерита: расширение сопровождается реориентацией. Все перечисленные фазы претерпевают огромные изменения при приложении давления. Давление меняет расстояние и, следовательно, интермолекулярные взаимодействия. Изучение влияния давления на ориентационное поведение С60 выявило три основных момента:
1) возрастание внешнего давления замедляет вращение молекул и увеличивает вращательную анизотропию, следовательно, давление индуцирует переход в ПК-фазу; температура фазового перехода
ПК—ГЦК увеличивается линейно с наклоном линии смены фаз dT/dP = 162 К/ГПа.
2) давление существенно уменьшает ориентационные флуктуации в упорядоченной низкотемпературной ПК-фазе;
3) предполагается существование двух (а не одного) ориентационных переходов в области 247 К.
В промежутке между двумя фазовыми переходами сосуществуют две фазы: Н и Р. При нормальных условиях предпочтительна пентагонная ориентация, но гексагенная ориентация требует меньшего объема и становится предпочтительнее при приложении внешнего давления. Соотношение между Р- и Н-ориентациями описывается уравнением:
f(T)= 1/(1 +ехр(Д/kT)).
Р-ориентация имеет энергию на 40 мэВ меньше, чем H, барьер между двумя минимумами составляет 130 мэВ на молекулу.

Рисунок 4. Полная энергия на молекулу как функция угла поворота в структуре Pm3m для двух различных постоянных решетки: a=1.404 нм соответствует атмосферному давлению, а=1.36 – внешнему давлению 1.5Гпа.
На рисунке 4 показаны расчетные зависимости полной энергии фуллерита от ориентации молекул. Более глубокий минимум соответствует Р-ориентации. Те же расчеты, выполненные для постоянной решетки а = 1.36 нм, что соответствует давлению 1.5 ГПа, демонстрируют, что обе ориентации равновероятны. При 260 К пентагонная ориентация составляет 60 %, а около 90 К 84 %. Прикладывая давление, можно создать полностью ориентированную фазу С60, несмотря на то что экспоненциальный характер распределения в принципе запрещает существование какой-либо полностью ориентированной фазы и тем более какой-либо линии на фазовой диаграмме. Тем не менее в эксперименте у функции P/H=f(T) после значения 80/20 происходит скачок к распределению 98/2. Причина скачкообразного изменения фазы может быть следующая. Потенциал молекулярной реориентации должен учитывать не только вращение одной молекулы, но и когерентное коллективное движение всех молекул. В первом случае отенциал будет иметь один минимум: полностью ориентированное состояние. Разумно предположить, что кристалл состоит из большого числа Р- или Н- ориентированных микродоменов, а не из смеси беспорядочно ориентированных молекул. Далее, логично ожидать, что переключение в полностью ориентированную фазу произойдет, когда ориентированы 11 молекул из 12. Кроме того, можно предполагать, что однажды сформированная Н-фаза будет сохранять стабильность до фазового перехода.
Ниже 90 К все молекулярные реориентации замерзают, но, по видимому, некоторый ориентационный беспорядок остается, что приводит к наблюдаемому переходу типа стеклования вблизи 90 К.
4.2. Понятие об интеркаляции в фуллеритах
При внедрении атомов примеси в фуллеритовую матрицу могут происходить два процесса. В первом случае атомы примеси распределяются в кристалле в виде отдельных кластеров. Для фуллеренов характерно другое явление, а именно интерполяция атомов примеси в решетку фуллерита. Интеркаляционные соединения представляют собой материал, в котором атомы или молекулы примеси захвачены между слоями кристаллической решетки. Формально химическая связь между интеркалянтом и матрицей отсутствует. Процессы интеркаляции широко изучаются, например, в графите, где атомы примеси внедряются в пространство между плоскостями решетки графита, не деформируя саму структуру кристалла. Интеркаляция атомов примеси в решетку фуллерена происходит несколько иначе. Фуллерены представляют собой трехмерный тип интеркаляционных соединений. Диаметр молекулы С60 велик по сравнению с размерами большинства элементов периодической таблицы. Следствием является очень большая для кристаллов, состоящих из атомов одного сорта, постоянная решетки (а = 1.42 нм; для сравнения в кремнии а = 0.54 нм, в германии а = 0.57 нм); для высших фуллеренов а еще больше. Из-за этого в межмолекулярные пустоты кристалла С60 могут внедряться, не деформируя решетку атомы примеси. Тем не менее не все элементы могут формировать объемные интеркаляционные соединения. В основном это щелочные, щелочноземельные и редкоземельные металлы. Решающим фактором при этом является сумма работ выхода металла Еf и энергии когезии Еkog. Если эта сумма меньше уровня низшей незаполненной молекулярной орбитали Elumo, то энергия интеркаляции Еинт = Elumo - Еkor - Ef положительна и создание трехмерных интеркаляционных соединений возможно. При интеркаляции примеси в фуллереновую матрицу могут создаваться структуры, представленные на рисунке 5. Интеркаляция может существенно влиять на физические и электронные свойства материала. Процесс интеркаляции характеризуется большим переносом заряда от атома примеси к молекуле С60 (в случае легирования фуллеренов щелочными металлами происходит полный перенос заряда к С60 — следствие низкого потенциала ионизации атомов щелочных металлов). При этом велик интеграл перекрытия волновых функций атома примеси и С60. При интеркаляции будет повышаться проводимость за счет атомов, поставляющих свои пи-электроны, причем проводимость будет резко зависеть от того, какие позиции заняты этими атомами. В случае щелочных металлов этот эффект проявляется очень сильно. Электрические свойства таких композитных соединений зависят от количества атомов щелочных металлов, приходящихся на элементарную ячейку С60. На каждую молекулу имеется 1 окта-эдрическая и 2 тетраэдрические пустоты. С60 имеет большое сродство к электрону, щелочные металлы легко отдают электроны.
Экспментальные данные следующие:
1) рамановская и фотоэлектронная спектроскопия показывает, что заряд переносится от щелочных металлов к фулерену;
2) химический анализ показывает, что для достижения наивысшей проводимости стехиометрия A3C60;
3) ритвальдский анализ данных рентгеновской дифракции показывает, что решетка имеет структуру ГЦК.

Рисунок 5. Строение элементарной ячейки интеркалированного фуллерена при различных заполнениях пустот решетки.
Иными словами, при x = 3 все пустоты ГЦК-решетки заполнены и каждая молекула С60 приняла 3 электрона в зону проводимости t1u. Создалась наполовину заполненная зона. При увеличении количества металла структура перейдет в объемно-центрированную тетрагональную (ОЦТ) фазу и далее в кубическую (ОЦК). В последнем случае зона будет заполнена полностью, что соответствует диэлектрику. Так же как в случае графита, работает модель жестких зон. Атомы металла играют роль доноров, а валентная зона и зона проводимости сохраняют свой характер. Экспериментально показано, что в соединении АxС60 при малых x наблюдается падение удельного сопротивления; при увеличении x до 3 свойства материала становятся все более близкими к металлическим. Некоторые соединения А3С60 проявляют сверхпроводящие свойства. Далее при росте x удельное сопротивление опять увеличивается, и А6С60 фактически становится диэлектриком.
5. Оптические свойства фуллеренов
В общих чертах оптические свойства фуллеренов С60 представлены на рис. 6. Спектр инфракрасного поглощения содержит 4 «исторические» линии: по ним был впервые идентифицирован фуллерен в работе Крэчмера. Спектры видимой и УФ-областей содержат пики, соответствующие разрешенным оптическим переходам, а также экситонам. Коллективные возбуждения приводят к существованию двух типов плазмонов: пи и пи + сигма, соответствующих возбуждениям п-электронов или всей электронной системы в целом. Спектры комбинационного рассеяния содержат 2 дыхательные Аg-моды, соответствующие симметричным колебаниям всей молекулы и пентагонов, и 8 Hg-мод. В первом приближении УФ- и видимый спектры поглощения фуллеритов сохраняют характерные черты молекул в газовой фазе или в растворе.

Рисунок 6. Спектральная зависимость действительной и мнимой частей диэлектрической проницаемости пленок С60 при комнатной температуре.
В этом смысле фуллериты — типичные молекулярные кристаллы. Однако понижение симметрии и наличие кристаллического поля в фуллеритах оказывают влияние на правила отбора и на энергии межмолекулярных возбуждений (сдвиг и расщепление вырожденных электронных уровней). Оптика фуллеренов в одинаковой степени зависит как от внутримолекулярных,так и от межмолекулярных электронных процессов. В многочисленных работах начиная с 1991 г. измерялись спектры оптического поглощения, эллипсометрические спектры пленок и монокристаллов. В целом спектры оптического поглощения фуллереновых пленок можно описать, пользуясь понятиями, привычными
для аморфных полупроводников. Из положения края поглощения можно определить величину оптической запрещенной зоны, которая составляет 1.8—1.9 эВ для С60, 1.66 эВ для С70. Наблюдаются плавно спадающие зависимости в области энергий ниже фундаментальных переходов — так называемый «хвост» Урбаха, а также подзонное поглощение на дефектах. Измерения поглощения в видимой области в зависимости от температуры, гидростатического давления и магнитного поля показали, что структуры в области края поглощения обязаны своим происхождением экситонам.
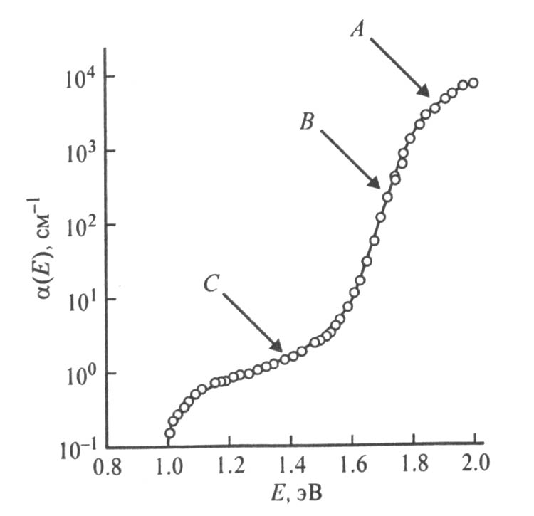
Характерные области края поглощения отмечены буквами А, С на рис. 8. В области А оптическая зона может быть найдена из уравнения:
a(E)hv ~(Е-Е0),
значения Е0 = 1.7 и 1.65 эВ были получены соответственно температур измерения 77 и 293 К.

Рисунок 7. Зависимость коэффициента поглощения пленкой С60 от энергии кванта в области края поглощения.
В области В край поглощения хорошо описывается экспоненциальной зависимостью Урбаха
а(Е)~a0ехр (Е-Е1)/Еu
где параметр Урбаха Еu составляет 30 и 37 мэВ для температур 77 и 293 К соответственно. Обычно присутствие урбаховского хвоста поглощения связывают со структурным несовершенством образцов, с наличием большого количества дефектов, вызывающих появление хвостов плотности состояний в запрещенной зоне. Урбаховский хвост в поглощении кристаллов обычно меньше, чем на пленках, однако сообщалось и об обратном. Это позволяет предположить, что причина появления хвостов поглощения может быть не связана со структурными несовершенствами. В области С при обеих температурах наблюдалось субподзонное поглощение на примесях. Край оптического поглощения и параметр хвоста Урбаха в области Т < 150 К не зависят от температуры, медленно меняются в области 150 < Т < 260 К и быстро при Т > 260 К. Подзонное поглощение увеличивается при длительной экспозиции пленок на воздухе, однако на наклоне хвоста Урбаха это не отражается. Следовательно, хвост Урбаха является не следствием интеркаляции кислорода, а свойством, присущим самому материалу С60. Температурная зависимость объясняется с точки зрения корреляции между плотностью электронных состояний, ориентационным разупорядочением молекул и структурным фазовым переходом. При высоких температурах, когда молекулы С60 приобретают возможность свободного вращения, активируются вращательные, либрационные и межмолекулярные колебательные степени свободы. Кроме того, активируются дополнительные фононные моды, появляющиеся вследствие флуктуации межмолекулярных состояний. В фазе свободного вращения усиливаются электрон-фононные взаимодействия. Вклад как термического, так и структурного разупорядочения в параметр хвоста Урбаха приводит к его быстрому росту при температуре выше 260 К.Схема электронных уровней С60 в твердотельном и молекулярном состояниях приведена на рис. 8.
Ниболее сильные переходы в оптическом спектре — зоны D, E + F и G, относящиеся соответственно к дипольно-разрешенным оптическим переходам hg, gg -> t1u, hu -> hg, hg, gg -> t2u. Зона D, отвечающая второму и третьему разрешенным переходам, существенно уменьшается в легированных фуллеренах из-за заполнения наинизшего состояния зоны проводимости, созданной молекулярными состояниями t1u. Молекулярная зона F расщепляется в твердом теле на F1 и F2 вследствие расщепления пятикратно вырожденных уровней hu (hg) на трехкратно и двукратно вырожденные уровни tu (tg), au (ag). Идентификация двух низших переходов hu -> t1u и hu -> t1g более сложна. Молекулярное состояние t1ghu^-1 представляет собой набор электронно-дырочных возбужденных состояний симметрии T1u, T2u, Hu, Gu.. Нижний разрешенный переход hu -> t1g в возбужденное состояние Т1u должен располагаться около 3 эВ, причем сила осциллятора должна составлять около 3 % от перехода при 3.5 эВ. В дополнение к этому переходу в этой же энергетической области должны наблюдаться фононно-индуцированные переходы сравнительной силы в возбужденные состояния Т2u, Нu, Gu, составляющие группу В. Группа А отнесена к электронно-дырочному состоянию t1ghu^-1, которое запрещено по четности в изолированной молекуле, но становится частично разрешенным из-за расщепления уровней. Группа гамма происходит от запрещенного молекулярного перехода hu -> t1u.. Эти переходы проявляются вследствие возбуждения нечетной колебательной моды, и высшие электронные состояния этой группы должны зависеть от ян-теллеровского искажения.

Рисунок 8. Схема энергетических уровней и возможных оптических переходов в пленках и растворах С60.
6. Проводимость.
При анализе экспериментальных данных по проводимости фуллеренов можно выделить следующие основные особенности: наблюдается полупроводниковая проводимость n-типа; значения активационных энергий Еа температурной зависимости проводимости сигма = сигма exp (-Eа/kT) существенно ниже значений половины запрещенной зоны и достигают их лишь при высоких температурах; при взаимодействии фуллеритовых пленок с кислородом проводимость падает на несколько порядков; проводимость существенно зависит от структуры пленок и у кристаллического материала выше, чем у аморфного.
Вследствие высоких значений сопротивления фуллерита в большинстве своем присутствуют измерения для температур от комнатной и выше (см. рис. 9). Для поликристаллических пленок значения активационной энергии и темновой проводимости при комнатной температуре составляют соответственно 0.3— 0.6 эВ и 10^-6 - 10^-8 (Ом.см)^-1. Для аморфных пленок эти значения лежат в интервале 0.5 - 1.1 эВ и 10^-7 - 10^-144 (Ом.см)^-1.

Рисунок 9. Температурная зависимость проводимости пленок С60. Стрелки показываю изменения направления температуры со скоростью 0.2 град/мин.
Сведения о транспортных параметрах фуллеренов довольно скудны. Из измерений фототока получены дрейфовые подвижности электронов 1.3*10^4 см2/(В*с) и дырок 2*10^-4 см2/(В*с), а также время рекомбинации 1.7*10^-6 с. Транспорные механизмы в пленках C60 изучались также с помощью эффекта поля. Из результатов видно, что С60 — полупроводник n-типа. В характеристиках полевых транзисторов наблюдается сильное расширение n-канала при пороговом значении напряжения 2 эВ. При комнатной температуре полевая подвижность и концентрация носителей заряда определены как 4.8*10^-5 см2/(В*с) и 5.6*10^14 см-3 соответственно. Наибольшее значение подвижности зарядов на границе раздела фуллерен—диэлектрик 2 *10^-3 см2/(В • с), причем значения сильно меняются от образца к образцу. Комплексная проводимость пленок С60 и С70 измерялась в. диапазоне частот 10—10^6 Гц при температурах 10—750 К. Высокочастотная диэлектрическая проницаемость e определена как 2.6 для С60 и 4.6 для С70. В случае С70наблюдалось туннелирование поляронов малого радиуса.
Проводимость и структура пленок. Существует сильная корреляция между кристаллической структурой пленок С60 и их оптическими и электрическими свойствами. Но найти этому объяснение не так просто. Поскольку молекулы связаны ван-дер-ваальсвыми связями, сама по себе дефектная кристаллическая структура не приводит к появлению оборванных связей. Требуется нарушение целостности самой молекулы. Однако известно, что с увеличением кристалличности пленок увеличивается их проводимость, причем активационная энергия падает. Неоднократно отмечалось, что чем выше температура подложки, на которую осаждались фуллеритовые пленки (что способствует их структурному совершенству), тем выше проводимость. Отжиг в динамическом вакууме сильно влияет на проводимость пленок C60, имеющих беспорядочную доменную структуру. У таких пленок проводимость при комнатной температуре составляет 6 • 10^-10(Ом • см)^-1. В температурной зависимости проводимости при температурах выше 423 К наблюдается активационное поведение, причем энергия активации растет с увеличением толщины пленки (0.8 и 1.0 эВ для разных толщин), но находится в строгом соответствии с величиной запрещенной зоны, полученной из спектров поглощения (1.63 и 2.08 эВ). При более низких температурах доминирует неактивационное поведение, причем его доля уменьшается вследствие отжига. Рентгенофазовый анализ показал, что при комнатной температуре ГЦК -фаза в пленках соседствует с гексагональной плотной упаковкой (ГПУ). При измерениях временной зависимости проводимости пленок при постоянной повышенной температуре обнаружены снижение содержания ГПУ-фазы и увеличение проводимости. Отжиг пленок при высоких температурах приводит к их упорядочению, уменьшению дефектных состояний в зоне и увеличению энергии активации.
Проводимость монокристалла на переменном токе пропорциональна температуре и частоте при температурах измерения ниже 150 К, что характерно для прыжков в локализованных состояния вблизи уровня Ферми. Выше 200 К наблюдаются быстрое возрастание проводимости и переход к термически активированному типу с энергиями активации 0.389 и 0.104 эВ выше и ниже некоторой температурной точки, что объясняется сосуществованием кристаллической и аморфной фаз. Частотная зависимость проводимости подчиняется степенному закону w^s(s = 0.8). Сходные результаты были
получены на пленках С60 и С70: при высокой температуре проводить не зависела от частоты, в то время как степенной закон наблюдался при низких температурах. Можно сделать вывод, что при повышении температуры преобладающий механизм меняется от
прыжковой проводимости к термической активации. Таким образом, при высоких температурах как в пленках, так в монокристаллах фуллерита 2Ea = 1.85 эВ с не зависящим от частоты значением энергии активации. При низких температурах
проводимость частотно-зависимая и слабо зависящая от температуры, что объясняется влиянием примесей. При температуре 425 К наблюдается уменьшение проводимости монокристалла С60, что объясняется перераспределением молекул, приводящим к ло-
кализации электронных состояний.
Модели проводимости. Выдвигалось несколько моделей для объяснения проводимости фуллеренов. Простейшая модель распространяет проводимость графита в направлении оси с на фуллеритовые кристаллы, причем проводимость оценивается как 1/60 проводимости графита в направлении оси с, умноженная на отношение плотностей фуллерена и графита (pc60 /pг = 0.74). Имеющиеся экспериментальные результаты позволяют предположить, что проводимость фуллеренов можно описать схемой проводимости разупорядоченных полупроводников. Доминирующий механизм определяется температурой: при низких температурах прыжковая проводимость с переменной длиной прыжка, переходящая в прыжки по ближайшим соседям. С повышением температуры преобладают активированные прыжки в хвостах зон, и лишь при очень высоких температурах, приближающихся к температурам сублимации, можно наблюдать проводимость по делокализованным состояниям. Большой разброс экспериментальных значений энергии активации приводит к выводу, что в фуллереновых материалах должно соблюдаться правило Майера — Нелдела. Оно состоит в следующем. Если материал имеет полупроводниковый тип проводимости а = а0 ехр(-Еа/kT), а в разупорядоченных материалах активационная энергия и претор проводимости связаны следующим соотношением:
s0=s00exp(-Eа/kT0), s - проводимость.
Где s0 и T0 - параметры Майера — Нелдела.
Данное соотношение выполняется, к примеру, для химически близких полупроводников или для различных образцов полупроводника, приготовленных несколькими способами, т. е. с различной концентрацией примесей, при разных температурах подложки, различном давлении кислорода при отжиге и т. д. Соотношение справедливо для аморфных и поликристаллических полупроводников, материалов с электронной, ионной и полярной проводимостью. Это универсальное правило требует выполнения только одного условия: неоднородности с любой точки зрения. Транспорт в неоднородных системах можно описать как многократный захват носителей заряда на локализованные состояния с последующим термическим высвобождением. В таком случае подвижность носителей заряда не является постоянной величиной, а приобретает дисперсию: м(T) = м00 (wt), м00 — микроскопическая подвижность, нормированная на плотность состояний. Предэкспоненциальный множитель проводимости содержит, таким образом, время высвобождения из самой глубокой ловушки, которое обратно пропорционально числу ловушек в данном энергетическом интервале. Измеряемая в эксперименте энергия активации является глубиной самой глубокой ловушки, в которую попадает носитель на расстоянии, равном длине свободного пробега. Правило Майера- Нелдела выполняется, если предположить, что ловушки распределены по глубине экспоненциально. Экспериментальные подтверждения этому предположению следуют из измерения поверхностной фотоэдс, нестационарной фотопроводимости (рис. 10).

Рисунок 10. Зависимость префактора проводимости от энергии активации.
Влияние кислорода на проводимость. Известно, что фуллериты очень чувствительны к атмосферному кислороду и при контакте с воздухом их электрические и оптические параметры меняются со временем. Молекулярный кислород проникает в решетку фуллерита, заполняя октаэдрические пустоты, и при высоком давлении все пустоты могут быть заполнены молекулярным кислородом без диссоциации С60 к кислороду, что играет существенную роль в изменении физических свойств фуллерита. Воздействие кислорода при атмосферном давлении и в присутствие освещения, повидимому, не приводит ни каким химическим реакциям между фуллереном и кислородом вплоть до критической температуры примерно 470 К. При нагреве в вакууме кислород может десорбироваться из материала, но при этом отжиг не ведет к полному восстановлению параметров. Большинство исследований в этой области выполнено на сублимированных фуллереновых пленках. Стабильность пленок по отношению к кислороду сильно зависит от их структуры (аморфная, мелко- или крупнокристаллическая пленка), при этом основное взаимодействие сводится к быстрой диффузии кислорода по границам кристаллитов и проникновению в объем на 10-15 нм. Поэтому анализ литературных данных затрудняется тем, что далеко не во всех работах вместе с проводимостью, фотопроводимостью, оптическим поглощением или иными параметрами анализировалась и структура пленок, что приводит к большому разбросу экспериментальных данных.
В целом можно отметить, что проводимость монокристаллов и пленок С60 при контакте с кислородом быстро (за несколько минут) понижается на 3—6 порядков, в то время как экспозиция в атмосфере аргона, азота и гелия не оказывает влияния на проводимость. Спектральная зависимость фотопроводимости пленок в атмосфере кислорода качественно совпадает с фотопроводимостью бескислородных пленок, но абсолютные значения существенно ниже. Свойства пленок практически восстанавливаются при прогреве в вакууме до температуры 160—180 °С. Однако взаимодействие с кислородом в присутствии освещения приводит к необратимым изменениям в проводимости: ее значение при комнатной температуре падает до 10^-14 (Ом.см)^-1, причем активационная энергия возрастает до 0.95 эВ, т.е. близка к половине запрещенной зоны. Влияние кислорода на проводимость и фотопроводимость фуллеренов С60 и С70 чаще всего объясняется тем, что интеркалированный кислород создает глубокие ловушечные уровни для носителей заряда, расположенные на уровне 0.7 эВ ниже края зоны проводимости. Влияние кислорода на проводимость объясняется также созданием неупорядоченного потенциала, который локализует электронные состояния на краях HOMO—LUMO. При освещении образцов кислород вступает в химическую реакцию с образованием С-О - связей.
Измерены температурные зависимости проводимости пленок С60 и С70 в диапазоне 77—500 К при давлениях кислорода от 10^ до1-10^-6 Торр (рис. 13). При высоких температурах в этих материалах наблюдается зонная проводимость, при низких доминируют прыжки по локализованным состояниям вблизи уровня Ферми. Кроме того, во всем интервале температур необходимо учитывать вклад третьего механизма, связанного с прыжками по локализованным состояниям около краев валентной зоны и зоны проводимости и характеризуемого энергиями активации, возрастающими от 0.2 до 0.4 эВ при увеличении давления кислорода в измерительной камере. Показано, что кислород оказывает ничтожное влияние на механизм зонной проводимости, но активно гасит два последних (прыжковых) механизма, т. е. сильное насыщение фуллерита кислородом приводит к собственной проводимости.

Рисунок 11. Температурная зависимость проводимости пленок С60 и С70 при различных давлениях кислорода.
Проникновение кислорода в фуллеритовые пленки было исследовано и методом диэлектрической спектроскопии. Изменения в частотной и температурной зависимостях низкочастотной комплексной диэлектрической функции е(w) при контакте с кислородом были интерпретированы следующим образом. Между молекулами С60 и О2, занимающим междоузельные пустоты, существует небольшой перенос заряда. Из-за большого размера молекулы С60 формируется большой дипольный момент, который связан с приложенным переменным полем через релаксационный механизм, управляемый диффузией. Это приводит к существенному росту диэлектрической проницаемости, сопровождаемой широким пиком диэлектрических потерь. С увеличением содержания кислорода межузельные пустоты полностью заполняются, межузельные прыжки подавляются и пики потерь вместе с повышенной поляризацией исчезают.
7. Полимеризация фуллеренов.
Усиление взаимодействия между молекулами
Межмолекулярные взаимодействия должны оказывать решающее влияние на проводимость твердого тела, состоящего из фуллереновых молекул. Увеличение взаимодействия может привести к металлическому или даже сверхпроводниковому состоянию, как в случае кремния. Однако необходимо учитывать способность углерода образовывать различные гибридизированные состояния. Если по какой-то причине sp^2-гибридизация изменится на sp^3, это приведет к созданию алмазоподобного твердого тела. Измерения на гранулированном С60 показали, что с ростом давления уменьшается объем образца, что сопровождается уменьшением сопротивления и ширины запрещенной зоны. Тем не менее переход в металлическое состояние не наблюдался, так как вместо него произошел внезапный переход в более изолирующую фазу, по-видимому обусловленный возникновением межмолекулярных ковалентных связей. Аналогичный результат был получен при измерении зависимости края поглощения от приложенного давления. Наблюдался линейный сдвиг края оптического поглощения с наклоном 0.14 эВ/ГПа. Экстраполяция сдвига края поглощения под давлением давала основания полагать, что металлическое состояние наступит при 33 ГПа. Однако в диапазоне 17-25 ГПа произошел необратимый переход в прозрачную фазу (следует отметить, что этот эксперимент никогда не был повторен, несмотря на многочисленные попытки). Рамановские спектры детектировали переход в новую углеродную структуру, не имеющую черт ни С60, ни графита, ни алмаза. В другом случае наблюдался переход в фазу аморфного углерода, не более прозрачную, чем аморфный углерод, полученный другими методами.
Проводились теоретические расчеты поведения С60 при уменьшении межмолекулярных расстояний. Зонная структура была рассчитана в зависимости от параметра решетки С60 и через модуль объемного сжатия переведена в зависимость от внешнего давления. Из расчетов следует, что давление приводит к уменьшению запрещенной зоны в точках X и Г и возрастанию статической диэлектрической проницаемости. Запрещенная зона уменьшается почти линейно с ростом давления. Карта плотности заряда свидетельствует о том, что при давлении 13 ГПа возможно формирование ковалентных связей. Расчетное значение запрещенной зоны в этой точке 0.69 эВ, следовательно, металлизация под давлением недостижима.
Впоследствии появились работы, экспериментально подтверждающие появление ковалентных связей между фуллереновыми молекулами. Было показано, что С60 может быть превращен с другую структуру под действием высоких давлений и температур. Структура данного вещества была определена как ромбоэдрическая с параметрами решетки а = 9.22 А и с = 24.6 А. Расстояние между молекулами в такой фазе приблизительно равнялось углеродной связи, что подразумевает возможность формирования ковалентных связей между молекулами.
Полимеризация фуллеренов происходит также под воздействием видимого или ультрафиолетового излучения. При этом С60 переходит в фотополимеризованную фазу, нерастворимую в толуоле и других растворителях. Было обнаружено, что легирование фуллеритов щелочными металлами при определенных условиях приводит к созданию линейных цепочек из молекул С60. Из рентгеновских дифрактограмм видно, что структура линейного полимера RbC60 является орторомбической при температуре ниже 350 К. Орторомбическая фаза АС60 была исследована на других щелочных металлах (А = К, Rb, Cs). Был выращен монокристалл (КС60)n длиной несколько десятков миллиметров, в котором степень полимеризации превышала 10^6.
Наблюдалась димеризация замещенных и эндоэдральных фуллеренов. Движущей силой в этих случаях является наличие у молекулы неспаренного электрона.
Таким образом, анализ существующих экспериментальных данных намечает три основных пути полимеризации фуллеренов: давление, фотовозбуждение и перенос заряда.
8. Перспективы практического использования фуллеренов и фуллеритов.
Открытие фуллеренов уже привело к созданию новых разделов физики твердого тела и химии (стереохимии). Активно исследуется биологическая активность фуллеренов и их производных. Показано, что представители этого класса способны ингибировать различные ферменты, вызывать специфическое расщепление молекул ДНК, способствовать переносу электронов через биологические мембраны, активно участвовать в различных окислительно-восстановительных процессах в организме. Начаты работы по изучению метаболизма фуллеренов, особое внимание уделяется противовирусным свойствам. Показано, в частности, что некоторые производные фуллеренов способны ингибировать протеазу вируса СПИДа. Широко обсуждается идея создания противораковых медицинских препаратов на основе водорастворимых эндоэдральных соединений фуллеренов с радиоактивными изотопами. Но здесь мы коснемся в основном перспектив применения фуллереновых материалов в технике и электронике.
Возможность получения сверхтвердых материалов и алмазов. Большие надежды возлагаются на попытки использовать фулле-рен, имеющий частичную sp^3-гибридизацию, как исходное сырье, замещающее графит при синтезе алмазов, пригодных для технического использования. Японские исследователи, изучавшие воздействие давления на фуллерен в диапазоне 8— 53 ГПа, показали, что переход фуллерен—алмаз начинается при давлении 16 ГПа и температуре 380 К, что значительно ниже, чем
для перехода графит- алмаз. Была показана возможность получения
крупных (до 600—800 мкм) алмазов при температуре 1000 °С и давлениях до 2 ГПа. Выход больших алмазов при этом достигал 33 вес. %. Линии рамановского рассеяния при частоте 1331 см^-1 имели ширину 2 см^-1 что указывает на высокое качество полученных алмазов. Активно исследуется также возможность получения сверхтвердых полимеризованных давлением фуллеритовых фаз.
Фуллерены как прекурсоры для роста алмазных пленок и карбида кремния. Пленки широкозонных полупроводников, таких как алмаз и карбид кремния, перспективны для использования в высокотемпературной, высокоскоростной электронике и оптоэлектронике, включающей ультрафиолетовый диапазон. Стоимость таких приборов зависит от развития химических методов осаждения (CVD) широкозонных пленок и совместимости этих методов со стандартной кремниевой технологией. Основная проблема в выращивании алмазных пленок — это направить реакцию предпочтительно по пути образования фазы sp^3, а не sp^2. Представляется эффективным использование фуллеренов в двух направлениях: повышение скорости формирования алмазных центров зародышеобразования на подложке и использование в качестве подходящих «строительных блоков» для выращивания алмазов в газовой фазе. Показано, что в микроволновом разряде происходит фрагментация С60 на С2, которые являются подходящим материалам для роста алмазных кристаллов. «MER Corporation» получила алмазные пленки высокого качества со скоростью роста 0.6 мкм/ч, используя фуллерены как прекурсоры роста и зародышеобразования. Авторы предсказывают, что такая высокая скорость роста значительно снизит стоимость CVD-алмазов. Значительным преимуществом является и то, что фуллерены облегчают процессы согласования параметров решетки при гетероэпитаксии, что позволяет использовать в качестве подложек ИК-материалы.
Ныне существующие процессы получения карбида кремния требуют использования температур до 1500 °С, что плохо совместимо со стандартной кремниевой технологией. Но, используя фуллерены, карбид кремния удается получить путем осаждения пленки С60 на кремниевую подложку с дальнейшим отжигом при температуре не выше 800 — 900 °С со скоростью роста 0.01 нм/с на Si-подложке.
Фуллерены как материал для литографии. Благодаря способности полимеризоваться под действием лазерного или электронного луча и образовывать при этом нерастворимую в органических растворителях фазу перспективно их применение в качестве резиста для субмикронной литографии. Фуллереновые пленки при этом выдерживают значительный нагрев, не загрязняют подложку, допускают сухое проявление.
Фуллерены как новые материалы для нелинейной оптики. Фуллеренсодержащие материалы (растворы, полимеры, жидкие сильно нелинейных оптических свойств перспективны для применения в качестве оптических ограничителей (ослабителей) интенсивного лазерного излучения; фоторефрактивных сред для записи динамических голограмм; частотных преобразователей; устройств фазового сопряжения.
Наиболее изученной областью является создание оптических ограничителей мощности на основе растворов и твердых растворов С60. Эффект нелинейного ограничения пропускания начинается примерно с 0.2 — 0.5 Дж/см^2, уровень насыщенного оптического пропускания соответствует 0.1 — 0.12 Дж/см2. При увеличении концентрации в растворе уровень ограничения плотности энергии снижается. Например, при длине пути в образце 10 мм (коллимированный пучок) и концентрациях раствора С60 в толуоле 1*10^-4, 1.65*10^-4 и 3.3*10^-4 М насыщенное пропускание оптического ограничителя оказывалось равным 320, 165 и 45 мДж/см2 соответственно. Показано, что на длине волны 532 нм при различной длительности импульса т (500 фс, 5 пс, 10 не) нелинейно-оптическое ограничение проявляется при плотности энергии 2, 9 и 60 мДж/см^2. При больших плотностях вводимой энергии (более 20 Дж/см^2) дополнительно к эффекту нелинейного насыщенного поглощения с возбужденного уровня наблюдается дефокусировка пучка в образце, связанная с нелинейным поглощением, повышением температуры образца и изменением показателя преломления в области прохождения пучка. Для высших фуллеренов граница спектров поглощения сдвигается в область больших длин волн, что позволяет получить оптическое ограничение на л = 1.064 мкм.
Для создания твердотельного оптического ограничителя существенной является возможность введения фуллеренов в твердотельную матрицу при сохранении молекулы как целого и образовании гомогенного твердого раствора. Необходим также подбор матрицы, обладающей высокой лучевой стойкостью, хорошей прозрачностью и высоким оптическим качеством. В качестве твердотельных матриц применяются полимеры и стеклообразные материалы. Сообщается об успешном приготовлении твердого раствора С60 в SiO2 на основе использования золь-гель-технологии. Образцы имели оптическое ограничение на уровне 2—3 мДж/см^2 и порог разрушения более 1 Дж/сv^2. Описан также оптический ограничитель на полистирольной матрице и показано, что в этом случае эффект оптического ограничения в 5 раз лучше, чем для С60 в растворе. При введении фуллеренов в лазерные фосфатные стекла показано, что фуллерены С60, и С70 в стеклах не разрушаются и механическая прочность допированных фуллеренами стекол оказывается выше, чем чистых.
Интересным применением нелинейно-оптического ограничения мощности излучения является использование фуллеренов в резонаторе лазеров для подавления пичкового режима при самосинхронизации мод. Высокая спепень нелинейности среды с фуллеренами может быть использована в качестве бистабильного элемента для сжатия импульса в наносекундной области длительностей.
Наличие в электронной структуре фуллеренов пи-электронных систем приводит, как известно, к большой величине нелинейной восприимчивости, что предполагает возможность создания эффективных генераторов третьей оптической гармоники. Наличие ненулевых компонент тензора нелинейной восприимчивости х(3) является необходимым условием для осуществления процесса генерации третьей гармоники, но для его практического использования с эффективностью, составляющей десятки процентов, необходимо наличие фазового синхронизма в среде. Эффективная генерация
может быть получена в слоистых структурах с квазисинхронизмом взаимодействующих волн. Слои, содержащие фуллерен, должны иметь толщину, равную когерентной длине взаимодействия, а разделяющие их слои с практически нулевой кубичной восприимчивостью — толщину, обеспечивающую сдвиг фазы на пи между излучением основной частоты и третьей гармоники.
Фуллерены как новые полупроводниковые и наноконструкционные материалы. Фуллериты как полупроводники с запрещенной зоной порядка 2 эВ можно использовать для создания полевого транзистора, фотовольтаических приборов, солнечных батарей, и примеры такого использования есть. Однако они вряд ли могут соперничать по параметрам с обычными приборами с развитой технологией на основе Si или GaAs. Гораздо более перспективным является использование фуллереновой молекулы как готового наноразмерного объекта для создания приборов и устройств наноэлектроники на новых физических принципах.
Молекулу фуллерена, например, можно размещать на поверхности подложки заданным образом, используя сканирующий туннельный (СТМ) или атомный силовой (АСМ) микроскоп, и использовать это как способ записи информации. Для считывания информации используется сканирование поверхности тем же зондом. При этом 1 бит информации — это наличие или отсутствие молекулы диаметром 0.7 нм, что позволяет достичь рекордной плотности записи информации. Такие эксперименты проводятся на фирме «Bell». Интересны для перспективных устройств памяти и эндоэдральные комплексы редкоземельных элементов, таких как тербий, гадолиний, диспрозий, обладающих большими магнитными моментами. Фуллерен, внутри которого находится такой атом, должен обладать свойствами магнитного диполя, ориентацией которого можно управлять внешним магнитным полем. Эти комплексы ( в виде субмонослойной пленки) могут служить основой магнитной запоминающей среды с плотностью записи до 10^12 бит/см^2 (для сравнения оптические диски позволяют достичь поверхностной плотности записи 10^8 бит/ см^2).

Рисунок 12. Принципиальная схема одномолекулярного транзистора на молекуле С60.
Были разработаны физические принципы создания аналога транзистора на одной молекуле фуллерена, который может служить усилителем наноамперного диапазона (рис. 12). Два точечных наноконтакта расположены на расстоянии порядка 1—5 нм по одну сторону молекулы С60. Один из электродов является истоком, другой играет роль стока. Третий электрод (сетка) представляет собой маленький пьезоэлектрический кристалл и подводится на ван-дер-ваальсово расстояние по другую сторону молекулы. Входной сигнал подается на пьезоэлемент (острие), деформирующий молекулу, расположенную между электродами — истоком и стоком, и модулирует проводимость интрамолекулярного перехода. Прозрачность молекулярного канала токопротекания зависит от степени размытия волновых функций металла в области фуллереновой молекулы. Простая модель этого транзисторного эффекта — это туннельный барьер, высота которого модулируется независимо от его ширины, т. е. молекула С60 используется как природный туннельный барьер. Предполагаемые преимущества такого элемента — малые размеры и очень короткое время пролета электронов в туннельном режиме по сравнению с баллистическим случаем, следовательно более высокое быстродействие активного элемента. Рассматривается возможность интеграции, т. е. создания более чем одного активного элемента на молекулу С60.
Углеродные наночастицы и нанотрубки.
Вслед за открытием фуллеренов С60 и С70 при исследовании продуктов, получаемых при сгорании графита в электрической дуге или мощном лазерном луче, были обнаружены частицы, состоящие из атомов углерода, имеющие правильную форму и размеры от десятков до сотен нанометров и поэтому получившие название кроме фуллеренов еще и наночастиц.
Возникает вопрос, почему так долго не могли открыть фуллерены, получающиеся из такого распространенного материала, как графит? Существуют две основные причины: во-первых, ковалентная связь атомов углерода очень прочная: чтобы ее разорвать, необходимы температуры выше 4000°С; во-вторых, для их обнаружения требуется очень сложная аппаратура - просвечивающие электронные микроскопы с высоким разрешением. Как теперь известно, наночастицы могут иметь самые причудливые формы. Были представлены различные углеродные образования в виде известных форм. С практической точки зрения для наноэлектроники, которая приходит сейчас на смену микроэлектронике, наибольший интерес представляют нанотрубы. Эти углеродные образования были открыты в 1991 году японским ученым С. Иджима. Нанотрубы представляют собой конечные графитовые плоскости, свернутые в виде цилиндра, они могут быть с открытыми концами или с закрытыми. Эти образования интересны и с чисто научной точки зрения, как модель одномерных структур. Действительно, в настоящее время обнаружены однослойные нанотрубы диаметром 9 А (0,9 нм). На боковой поверхности атомы углерода, как и в графитовой плоскости, располагаются в узлах шестиугольников, но в чашках, которые закрывают цилиндры с торцов, могут существовать и пятиугольники и треугольники. Чаще всего нанотрубы формируются в виде коаксиальных цилиндров.
Основной трудностью при исследовании свойств нанотрубных образований является то, что в настоящее время их не удается получить в макроскопических количествах так, чтобы аксиальные оси труб были сонаправлены. Как уже отмечалось, нанотрубы малого диаметра служат прекрасной моделью для исследований особенностей одномерных структур. Можно ожидать, что нанотрубы, подобно графиту, хорошо проводят электрический ток и, возможно, являются сверхпроводниками. Исследования в этих направлениях — дело ближайшего будущего.
9. Заключение.
Тот факт, что фуллерены обнаружены в естественных минералах, имеет большое значение для науки о Земле. Не исключено, что ряд неидентифицированных полос в спектрах оптического поглощения и рассеяния межзвездной пыли обусловлен фуллеренами. Еще в 60-х годах на основании теоретического анализа частот этих полос было высказано предположение о том, что они обусловлены углеродными частицами. Возможно, фуллерены помогут нам получить дополнительные сведения о возникновении и эволюции Вселенной.
Что касается практической деятельности человека, то здесь полезны способности фуллерена изменять свои свойства при легировании от диэлектрических до сверхпроводящих и от диамагнетизма до ферромагнетизма. Относительно простая технология получения фуллеритов с различными свойствами позволяет надеяться на создание в скором времени квантоворазмерных структур с чередующимися слоями сверхпроводник - полупроводник (или диэлектрик), металл — ферромагнетик, сверхпроводник - магнетик и т.д. Возможно, такие структуры станут основой создания новых электронных приборов. Активные исследования твердых фуллеренов ведутся только пять лет. Многое еще не исследовано, и сейчас трудно предсказать все возможные применения этого необычного материала в практической деятельности.
Список используемой литературы:
1. «Фуллерены. Их физические и электрические свойства», СПб, 1999 год.
2. ст. В.Ф. Мастеров «Физические свойства фуллеренов», Соровский образовательный журнал №1, 1997 год.