Измерение влажности и скорости движения воздуха, плотности жидкостей
Измерение влажности и скорости движения воздуха, плотности жидкостей
Цель работы: изучить устройство и принципы работы приборов для измерения влажности и скорости движения воздуха, плотности жидкостей.
Измерение влажности воздуха
При перевозке некоторых скоропортящихся грузов требуется поддержание в грузовом помещении определенной влажности воздуха. Поэтому грузовое помещение необходимо вентилировать для регулирования его влажности в зависимости от вида СПГ, от его термической обработки.
Влажность воздуха характеризуется содержанием в нем определенного количества водяных паров.
Различают абсолютную и относительную влажность воздуха.
Абсолютная влажность – это масса водяного пара в 1 м3 влажного воздуха, кг/м3.
Относительная влажность j – это отношение количества водяных паров, содержащихся в воздухе, к количеству водяных паров, насыщающих воздух при данной температуре и давлении, выражаемое в процентах.
Относительная влажность определяется по формуле
![]()
где rП – плотность пара при его парциальном давлении и температуре влажного воздуха, кг/м3; rН – максимально возможное количество пара в 1 м насыщенного влажного воздуха, кг/м.
Иначе относительную влажность можно определить в процентах следующим образом:
![]()
где РП – парциальное давление, МПа; РН – давление насыщенного водяного пара при температуре воздуха, МПа.
Для измерения относительной влажности воздуха в изотермических вагонах применяют гигрометры, гигрографы и психрометры.
Гигрометры («гигро» – влажный) – приборы для определения абсолютной и относительной влажности воздуха.
Существуют несколько типов гигрометров, основанных на различных принципах:
а) весовые – состоят из системы V-образных трубок, наполненных гигроскопическим веществом, поглощающим влагу из воздуха. (Гигроскопичность – это свойство материалов поглощать влагу из воздуха за счет образования химического соединения с водой или за счет капиллярной конденсации);
б) пленочные – имеют чувствительный элемент из органической пленки, которая растягивается при повышении влажности и сжимается при её понижении;
в) волосные – основаны на свойстве обезжиренного человеческого волоса изменять свою длину при изменении влажности воздуха, что позволяет измерять относительную влажность от 30 до 100%.
Рассмотрим принцип работы гигрометра волосного (рис. 2.1).

Рис. 2. Гигрометр волосной
Специально обработанный человеческий волос (1) одним концом укреплен на винте (2) установочного устройства. Второй конец волоса закреплен в дужке (3), жестко связанной с осью (4) стрелки (5). Груз (7) всегда удерживает волос в натянутом состоянии. Изменение длины волоса, зависящее от изменения влажности воздуха, передается стрелке (5) гигрометра, которая перемещаясь относительно шкалы (6), указывает относительную влажность воздуха в процентах. Чем суше воздух, тем короче делается волос и наоборот. Таким образом, обезжиренный человеческий волос является датчиком влажности.
Достоинства гигрометра в том, что относительная влажность получается непосредственно в процентах и этим прибором можно определять влажность воздуха при температурах ниже 0 °С (без специальной подготовки прибора).
Недостатком этого прибора является необходимость частой проверки и малая точность показаний.
При измерении влажности гигрометр волосной устанавливается в камере или в грузовом вагоне в отвесном положении, в средней части помещения на высоте приблизительно 1,5 м от пола.
Гигрографы – приборы для непрерывной регистрации относительной влажности воздуха. Чувствительным элементом гигрографа служит пучок обезжиренных человеческих волос или органическая пленка, изменяющие свою длину в зависимости от влажности и перемещающие по-средством системы рычагов специальное пишущее перо. Запись происходит на разграфленной ленте, надетой на барабан, вращаемый часовым механизмом. В результате движения барабана в горизонтальном направлении, а пера – в вертикальном, на ленте вычерчивается непрерывная кривая (гидрограмма).
В зависимости от продолжительности оборота барабана гигрографы бывают суточные и недельные.
Психрометры – приборы для измерения влажности воздуха и его температуры. Существуют несколько типов: стационарные, аспирационные, дистанционные.
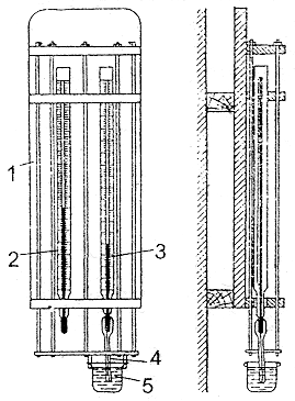
Стационарный психрометр Августа предназначен для измерения относительной влажности воздуха в стационарных условиях.

Рис. 2.2. Стационарный психрометр Августа
Принцип действия этого прибора (рис. 2.2) основан на разности показаний «сухого» (2) и «влажного» (3) термометров в зависимости от влажности окружающего воздуха.
Прибор состоит из двух термометров, укрепленных на щите (1). Чувствительная часть одного из них обернута тканью (батист) (4), конец которой опускается в трубку с дистиллированной водой (5). Таким образом, ртутный резервуар одного из термометров всегда остается смоченным, а другой – сухим. Вода, пропитывающая ткань, испаряясь с различной скоростью в зависимости от влажности и скорости движения воздуха, отнимает тепло у термометра и охлаждает его. В результате «влажный» термометр показывает более низкую температуру, чем «сухой». Чем суше воздух, тем энергичнее происходит испарение, тем больше будет разница между показаниями «сухого» и «влажного» термометров.
Затем для определения влажности воздуха пользуются психрометрическими таблицами по разности между «сухим» и «влажным» термометрами и показанию «влажного» термометра с помощью психрометрической таблицы определяют относительную влажность при скорости движении воздуха до 0,3 м/с.
Наиболее совершенным прибором для определения относительной влажности в стационарных и полевых условиях является аспирационный психрометр Ассмана. Искусственная вентиляция в приборе осуществляется пружинным вентилятором. Принцип действия этого психрометра (рис. 2.3) аналогичен психрометру Августа.
Прибор работает следующим образом: вращением вентилятора в прибор засасывается воздух, который обтекая резервуары термометров, проходит по воздухопроводной трубке (5) к вентилятору и выбрасывается им наружу через прорези. (На рис. 2.3 стрелками отмечено движение воздуха.) Благодаря протеканию вокруг резервуаров термометров потока воздуха с постоянной скоростью около 2,5 м/с «сухой» термометр показывает температуру этого потока, а показания «влажного» термометра будут меньше, так как он охлаждается вследствие испарения воды с поверхности ткани. И чем суше воздух, тем сильнее испарение воды, и тем больше разница в показаниях термометров.
Значение относительной влажности воздуха находится аналогично, как и при измерении стационарным психрометром Августа.
Дистанционное определение относительной влажности воздуха можно производить по принципу психрометра, т.е. по разности показаний «сухого» и «влажного» термометров сопротивления и далее с помощью психрометрической таблицы или номограммы. В этом случае один датчик помещают в батистовый чехол, постоянно смачиваемый водой. За счет отбора тепла на испарение воды он будет показывать более низкую температуру, чем «сухой» датчик. Разность показаний этих датчиков будет зависеть от влажности воздуха в помещении.
Измерение скорости движения воздуха
Скорость движения воздушного потока при холодильной обработке и хранении СПГ измеряют с помощью анемометров, электроанемометров, кататермометров и др.
Анемометр состоит из крыльчатого или чашечного колесика, насаженного на ось счетчика (рис. 2.4). При проходе воздуха колесико вращается, а счетчик отсчитывает скорость. Существуют анемометры с часовыми механизмами, которые позволяют автоматически регистрировать скорость воздуха от 0,5 м/с и выше.
Принцип действия электроанемометра основан на зависимости температуры проволоки, нагретой постоянным током, от скорости воздуха, в котором находится проволочная нить. Температуру нагретой нити воспринимает «горячий» спай, «холодный» спай имеет температуру окружающего воздуха. Электротоки замеряются гальванометром.
Кататермометры – термометры с цилиндрическом сосудом для спирта применяют для незначительных скоростей воздуха (до 0,5 м/с) при его слабой естественной циркуляции в охлаждаемом помещении. Работа с прибором заключается в определении охлаждающего эффекта воздуха.
Анемометром определяют скорость движения воздуха на входе и выходе воздуха из воздухоохладителе в грузовом помещении вагона. Затем, имея среднее значение скорости воздуха в данном сечении канала определяют количество воздуха, проходящее в час по воздуховоду по формуле:
V в = 3600 · f · v,
где V в – объем воздуха, м3/час; f – площадь поперечного сечения канала, м2; v – средняя скорость воздуха в канале, м/с.
Измерение плотности растворов
Плотность раствора измеряют ареометром. Этот прибор (рис. 2.5) состоит из стеклянной трубки, нижняя часть которой имеет увеличенный диаметр и заканчивается шариком (1), заполненным мелкой дробью или ртутью. Верхняя тонкая трубка (2) имеет деления с обозначениями плотности жидкости (г/см3). Ареометр погружается в сосуд (3) с жидкостью тем глубже, чем меньше ее плотность.
По плотности раствора определяют содержание соли. Для этого после измерения ареометром плотности раствора по таблицам физических свойств раствора определяют процент соли в растворе. Измерив объем, занимаемый раствором, определяют содержание соли в растворе по формуле:
прибор жидкость гигрометр влажность
Gсоли = V · g · P/100,
где V – объем жидкости; g – удельный вес жидкости; P – процентное содержание соли.
Концентрация соли в растворе связана с температурой его замерзания. По мере увеличения концентрации соли до криогидратного состояния раствора температура замерзания его понижается, при увеличении концентрации в пределах выше криогидратного состояния, температура замерзания раствора повышается.
Для измерения плотности отдельных жидких пищевых и других продуктов существуют специальные ареометры. Например, лактометром измеряют плотность молока (т.е. жирность в процентах), спиртометром измеряют содержание спирта в растворе (в градусах).