Расчет статической характеристики клапанов давления заданной структуры
Содержание
1. Цель расчётного задания
2. Постановка задачи и исходные данные
3. Назначение, устройство и принцип действия клапана
4. Математическая модель
5. Определение площадей проходных сечений
6. Расчёт и построение статической характеристики
7. Построение графической зависимости коэффициента расхода рабочей щели основного клапана от числа Рейнольдса и гидродинамической силы от открытия рабочей щели клапана
8. Вывод по проделанной работе
9. Список использованной литературы
1. Цель расчётного задания
Целью расчётного задания является закрепление и углубление знаний, полученных в процессе изучения лекционного курса, а также приобретение навыков расчёта статической характеристики клапанов давления заданной структуры.
2. Постановка задачи и исходные данные
клапан рейнольдс гидродинамический рабочий щель
Для заданной конструктивной схемы клапана, известных базовых параметров, условиях и ограничениях задачи необходимо:
Рассчитать зависимость регулируемого давления от расхода жидкости;
Определить расчётное значение показателя качества клапана, характеризующего точность регулирования давления, сравнить его с граничным значением, определяющим порог конкурентоспособности аппарата;
Провести качественный анализ возможностей улучшения рассматриваемого показателя качества за счёт изменения конструктивных размеров клапана;
Исходными данными для расчёта являются:
Конструктивная схема клапана.

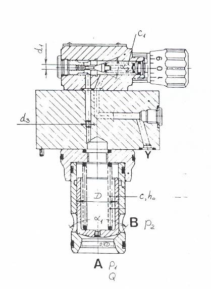
Рис.2.1. Конструктивная схема клапана непрямого действия.
Линейные размеры и углы (см. рис.1):
![]()
![]()
![]()
![]()
![]()
![]()
![]()
![]()
Жесткость и предварительное сжатие пружины основного клапана С, h0, жесткость пружины управляющего клапана С1:
![]()
![]()
![]()
![]()
![]()
![]()
Максимальный расход рабочей жидкости через клапан Qmax:
![]()
![]()
Давление настройки клапана p0:
![]()
![]()
Давление на выходе из клапана (для напорного клапана) p2:
![]()
![]()
![]()
Плотность рабочей жидкости ρ:
![]()
![]()
Изменение регулируемого давления в диапазоне расходов от Qmin до Qmax, которое должно быть не более Δp:
![]()
![]()
Коэффициенты расхода щелей основного клапана μк, управляющего клапана μу и дросселя μдр(диафрагменный):
-основного ЗРЭ (цилиндр-конус):
![]()
-вспомогательного ЗРЭ(конус-цилиндр):
![]()
-дросселя:
![]()
3. Назначение, устройство и принцип действия клапана
Напорные клапаны предназначены для ограничения давления в подводимом к ним потоке рабочей жидкости.
В зависимости от воздействия потока жидкости на запорно-регулирующий элемент напорные клапаны делятся на клапаны прямого и непрямого действия. В клапанах прямого действия рабочее проходное сечение изменяется в результате непосредственного воздействия потока жидкости за запорно-регулирующий элемент.
Напорные клапаны прямого действия просты, надежны, дешевы. Однако для больших расходов и давлений они не применимы, так как требуются более мощные пружины. При этом увеличиваются габариты, трудно обеспечить допустимую неравномерность давления.
В этих условиях применяют клапаны давления непрямого действия, конструктивная схема, которых показаны на рис. 2.
Напорные, клапаны непрямого действия состоят из основного клапана 1 и вспомогательного (управляющего) клапана 4. Значение давления, которое ограничивает клапан, устанавливается с помощью регулировочного винта, воздействующего на пружину 3 вспомогательного клапана.
Напорный, клапан непрямого действия может работать в двух режимах. При работе в режиме предохранительного клапана он ограничивает давление в гидролинии, к которой клапан подсоединяется. Если давление в ней не превышает допустимого значения, то конус клапана 4 прижат к седлу; силы давления, действующие на клапан 1 сверху и снизу, одинаковы, и основной клапан 1 под действием пружины 2 занимает нижнее положение, перекрывая при этом подводимую к клапану гидролинию.
Когда давление р превышает значение, установленное пружиной 3, конус 4 приподнимается, жидкость через дроссель 5 идет на слив, на дросселе возникает перепад давления, под действием которого клапан 1 поднимается, открывая проходное сечение и перепуская расход рабочей жидкости Q на слив.

Рис. 3.1. Схема расположения рабочих органов клапана.
При работе в режиме переливного клапана через рассматриваемый гидроаппарат сбрасывается на слив излишек расхода рабочей жидкости Q, который не в состоянии пропустить дроссельные устройства гидросистемы. В этом режиме работы значение давления должно оставаться практически постоянным, что напорный клапан непрямого действия и.обеспечивает. Так как через клапан всегда должен сливаться тот или иной расход жидкости, клапан 1 находится в приподнятом положении, что возможно лишь при наличии расхода жидкости через клапан 4 и, следовательно, перепада давления на дросселе 5. Значение этого расхода небольшое и обычно не превышает 0,5—1 л/мин.
При увеличении расхода Q который клапан должен пропустить, увеличивается давление р, конус поднимается несколько выше установившегося положения, увеличивается расход Qдр и перепад давления на дросселе 5. Основной клапан несколько приподнимается, увеличивая проходное рабочее сечение, что приводит к пропуску большего расхода и, следовательно, к уменьшению давления р.
4. Математическая модель
1. Уравнение равновесия основного заполно-регулирующего элемента:
(4.1)
C - жесткость пружины основного клапана;
h0- предварительное сжатие;
h - открытие рабочей щели;
D - диаметр основного клапана(рис.1);
p3- давление в междроссельной камере.
2. Уравнение расхода, протекающего через рабочую щель основного ЗРЭ:
(4.2)
Qк-расход, протекающий через рабочую щель;
μк- коэф. расхода основного ЗРЭ;
fщк-площадь проходного сечения рабочий щели;
ρ - плотность рабочей жидкости.
p1 - давление под нижнем торцом основного ЗРЭ
p2- давление слива.
3. Уравнение расхода, протекающего через дроссель:
(4.3)
Qдр-расход, протекающий через дроссель;
μдр- коэф. расхода дросселя;
fдр-площадь проходного сечения дроссель;
ρ - плотность рабочей жидкости;
p1 - давление под нижнем торцом основного ЗРЭ;
p3 - давление в междроссельной камере.
4. Уравнение расхода, протекающего через рабочую щель вспомогательного клапана:
(4.4)
Qу-расход, протекающий через рабочую упр. клапана;
μу- коэф. расхода упр. клапана;
fщу-площадь проходного сечения рабочей щели;
ρ - плотность рабочей жидкости;
p3 - давление в междроссельной камере;
p2- давление слива.
5. Уравнение неразрывности для системы "дроссель-вспомогательный клапан":
(4.5)
6. Уравнение равновесия вспомогательного запорно-регулирующего элемента:
(4.6)
C1 - жесткость пружины упр. клапана;
х0- предварительное сжатие;
х - открытие рабочей щели;
D - диаметр основного клапана(рис.1);
p3- давление в междроссельной камере;
Fу- площадь упр. клапана.
p2- давление слива.
-для основного клапана:
7. Уравнение настройки вспомогательного клапана:
(4.7)
C1 - жесткость пружины упр. клапана;
х0- предварительное сжатие;
p0- давление настройки клапана;
Fу- площадь упр. клапана.
p2- давление слива.
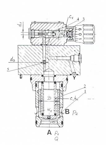
8. Геометрические зависимости, определяющие изменение площадей проходных сечений рабочих щелей для основного и вспомогательного клапанов ЗРЭ(см. рис.3):
(4.8)
fщк-площадь проходного сечения рабочей щели основного ЗРЭ;
D - диаметр основного клапана(рис.1);
h - открытие рабочей щели основного клапана;
α1- угол (рис.1)
-для вспомогательного клапана:
(4.9)
fщу-площадь проходного сечения рабочей щели упр. ЗРЭ;
d1 - диаметр упр. клапана(рис.1);
x - открытие рабочей щели упр. клапана;
α2- угол (рис.1).
9. Уравнение гидродинамической силы Rгд для основного ЗРЭ, определяемой по следующей эмпирической зависимости:
(4.10)
fщк-площадь проходного сечения рабочей щели основного ЗРЭ;
fк - площадь клапана основного ЗРЭ;
μк- коэф. расходаосновногоЗРЭ;
β- угол истечения струи из щели;
p1 - давление под нижнем торцом основного ЗРЭ;
p2- давление слива.
5. Определение площадей проходных сечений

Рис.5.1. Расчётная схема по определению площадей проходных сечений.
Площадь проходного сечения основного ЗРЭ:
(5.1)
![]()
![]()
Площадь проходного сечения управляющего ЗРЭ:
(5.2)
![]()
![]()
Площадь проходного сечения дросселя:
(5.3)
![]()
![]()
6. Расчёт и построение статических характеристики
Найдём предварительное сжатие пружины управляющего клапана из уравнения настройки вспомогательного клапана:
(6.1)
![]()
![]()
Составим систему статических уравнений, из которых мы определим открытие вспомогательного клапана x, открытие основного клапана h, регулируемое давление p1 и давление в междроссельной камере p3 в зависимости от расхода:

![]()
(6.2)
![]()
Решая эти уравнение в математическом пакете MathCAD получим необходимые нам величины:

Найдём изменение площадей проходных сечений рабочих щелей для вспомогательного клапанов ЗРЭ по уравнению (4.9) и расход через управляющий клапан использую уравнение расхода, протекающего через рабочую щель управляющего клапана (4.4):


Рис. 6.1. Статическая характеристика клапана.
На основе полученных данных построим статическую характеристику и оценим пригодность его эксплуатации по показателю качества:
Определим неравномерность давления, выступающее в роле показателя качества:
![]()
![]()
![]()
![]()
Вывод: По результатам расчета и графику статической характеристики клапана видно, что неравномерность давления клапана выходит за допустимые пределы работы клапана (Δp=0,8 МПа), которые даны в задании (Δpрасчет>Δp), следовательно, данный клапан не удовлетворяет техническим требованиям и не пригоден к эксплуатации.
Изменение давления Δp в рабочей зоне изменения расхода от минимального до номинального зависит от диаметра клапана и жесткости пружины, следовательно, для уменьшения неравномерности давления клапана нужно изменять эти параметры для входа в допустимые пределы работы клапана.
7. Построение графической зависимости коэффициента расхода рабочей щели основного клапана от числа Рейнольдса и гидродинамической силы от открытия рабочей щели клапана
Для определения числа Рейнольдса воспользуемся формулой:
(16)
где, Q - –асход через клапан; ε – коэффициент сжатия( он у нас равен 1); D – диаметр основного ЗРЭ; ν – кинематическая вязкость(ν=0,12 Ст)
Для определения коэффициента расхода рабочей щели воспользуемся данной формулой:
(17)
где, соответственно, μк - –оэффициент расхода основного ЗРЭ; Rei – i-ое значение числа Рейнольдса( для каждого значения расхода); Reк- постоянная коэффициента коррекции, вычисляемая по формуле:

![]()
где, Kμ =0,045 (для всех щелей он одинаков)
В итоге мы имеем:


Рис.7.1. Зависимость коэффициента расхода от числа Рейнольдса.
Теперь построим зависимость гидродинамической силы от открытия рабочей щели клапана. Для этого воспользуемся уравнениями из математической модели, а именно уравнениями (8) и (10). Для разных значений открытия рабочей щели имеем:

По полученным данным строим искомую зависимость:

График 7.2. Зависимость гидродинамической силы от открытия рабочей щели клапана.
Вывод: Все необходимые зависимости были успешно получены, графики соответствуют виду теоретическим типовым характеристикам напорного клапана непрямого действия.
8. Вывод по проделанной работе
В результате проделанного расчётного задания я закрепил и углубил знания, полученные в процессе изучения лекционного курса, приобрел навыки расчёта статической характеристики клапанов давления заданной структуры, а также усвоил методику оформления технической документации, изложенной в методическом пособии (2).