Физические методы дегазации воды
Физические методы дегазации воды
В технике водоподготовки для удаления газов (кроме кислорода) в основном применяют пленочные дегазаторы, а для обескислороживания воды — вакуумные дегазаторы или термические деаэраторы. Барботажные дегазаторы используют в исключительных случаях из-за их сравнительно высокой эксплуатационной стоимости (большой расход электроэнергии накомпрессию воздуха).
Самым совершенным типом дегазатора для глубокого удаления из воды свободного диоксида углерода (IV) считают пленочный дегазатор, загруженный кольцами Рашига. Он обеспечивает наиболее устойчивый эффект дегазации, долговечен, требует меньшей площади и высоты, а также меньшего расхода воздуха, чем дегазатор с деревянной хордовой насадкой. Строительная стоимость его близка к стоимости дегазаторов с деревянной насадкой, а эксплуатационная стоимость ниже, особенно для установок большой производительности. Наиболее целесообразно применять эти дегазаторы на крупных установках и при большом содержании свободного диоксида углерода (IV) в воде, поступающей в дегазатор.
На рис. 19.2, а приведена схема пленочного дегазатора с насадкой из колец Рашига, размещаемой на промежуточной дырчатой перегородке, отстоящей от дна на расстоянии 600 мм. В поддон вентилятором подается воздух. Вода поступает в верхнюю часть дегазатора и равномерно распределяется по сечению плитой, имеющей 48 патрубков для слива воды в насадку и 8 патрубков с колпаками для выхода воздуха. Вода из поддонного пространства отводится через гидравлический затвор, высота которого h=1,2 Н (где Н — максимальный напор, развиваемый вентилятором, Па).
После пленочного дегазатора с кольцами Рашига и подачей воздуха вентилятором содержание диоксида углерода (IV) в воде составляет не более 3...5 мг/л. При удалении сероводорода этим методом следует подкислять воду (до рН=5) с последующим подщелачиванием ее до необходимого значения рН, это дает значительную экономию расхода воздуха.

Для удаления части свободной углекислоты из воды в процессе ее деманганации или обезжелезивания (в целях поднятия значения рН воды до оптимального) также наиболее целесообразно использовать дегазаторы, загруженные пластмассовыми или керамическими кольцами Рашига и работающие при подаче в них воздуха вентилятором или вакуумно-эжекционные аппараты. Применение вакуумных дегазаторов специально для удаления из воды свободной углекислоты целесообразно только в случаях Н—Na-катионного умягчения или ионитового обессоливания подземных вод, когда в обессоленной или умягченной воде лимитируется содержание кислорода. Вакуумные дегазаторы следует применять при необходимости предотвращения кислородной коррозии труб и аппаратуры (при подготовке воды для питания котлов и при обескислороживании воды в системах горячего водоснабжения) либо когда наличие растворенных газов в воде, в том числе и кислорода, является вредным для технологического процесса предприятия (на заводах СК). Для удаления из воды метана или свободного сероводорода также можно рекомендовать пленочные дегазаторы, загруженные пластмасовыми или керамическими кольцами. При водород—натрий—катионитовом умягчении или анитовом обессоливании подземных вод для удаления свободной углекислоты следует применять вакуумные дегазаторы во избежание насыщения их кислородом. При проектировании дегазаторов для удаления из воды свободной углекислоты должны быть заданы параметры: расходводы; концентрация свободной углекислоты в воде, и желательное остаточное содержание свободной углекислоты в воде после дегазатора; наинизшая (расчетная) температура обрабатываемой воды.


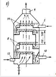
Рис. 19.2. Пленочный (а), вакуумный (б) и пенный (в) дегазатор: 1 — вентилятор; 2 — насадка из керамических колец Рашига; 3 — газоотводной патрубок; 5, 10 — ввод исходной и отвод дегазированной воды; 7— оросительные патрубки; 4 — удаление воздуха; 9 — поддон; 8 — дырчатое днище; 6 — водораспределительная воронка; 11 — люк; 12 — патрубки для водомерного стекла; 13 — ввод воздуха; 14 — пенный слой

Концентрация свободной углекислоты в воде, подлежащей дегазации, не всегда указывается в анализе. Ее можно определить следующим образом. При дегазации воды после Н-катионитовых фильтров суммарное количество углекислоты будет равно:
![]()
где Жк — карбонатная жесткость исходной воды, мг-экв/л; Снач — содержание свободной углекислоты в исходной воде, мг/л, определяемое по номограмме (рис. 19.3). Первый член формулы учитывает свободную углекислоту, образующуюся при распаде бикарбонатов.
Номограмма составлена для плотного растворенного остатка воды 20 мг/л и при температуре ее 22°С. При иных значениях температуры и плотного остатка
![]()
где Сном — содержание свободной углекислоты, найденное по номограмме (рис. 19.3); а — поправка на температуру; р — поправка на плотный растворенный остаток.
| Температура, °С | 0 | 5 | 10 | 15 | 20 | 25 | 30 |
| α | 1,65 | 1,44 | 1,29 | 1,16 | 1,06 | 1,00 | 0,95 |
| Плотный растворенный остаток, мг/л | 20 | 50 | 100 | 200 | 300 | 400 | 500 |
| β | 1,00 | 0,97 | 0,94 | 0,90 | 0,88 | 0,86 | 0,84 |
Подобные работы: