Проектирование Ш-образного электромагнита для автоматического выключателя
Автоматические выключатели служат для автоматического отключения электрической цепи при перегрузках, коротких замыканий, чрезмерном понижении напряжения питания, изменении направления мощности и т.п., а также для редких включений и отключений вручную номинальных токов нагрузки.
Электрические сети должны иметь защиту от токов коротких замыканий с наименьшим временем отключения и обеспечением, по возможности, требований селективности.
Сети внутри помещений, выполненные открыто проложенными незащищенными проводниками с горячей оболочкой, должны быть защищены от перегрузки. Кроме того, должны быть защищены от перегрузки сети внутри помещений, выполненные защищенными проводниками, проводниками, проложенными в трубах, в несгораемых строительных конструкциях и т.п., в следующих случаях:
а) осветительные сети в жилых и общественных зданиях, а также в пожароопасных производственных помещениях;
б) силовые сети, в которых по условиям технологического процесса или режима работы сети может возникать длительная перегрузка проводов и кабелей;
в) сети всех видов во взрывоопасных помещениях.
Номинальные токи установок автоматических выключателей, служащие для защиты отдельных участков сети, во всех случаях следует выбирать по возможности наименьшими по расчетным токам этих участков сети или по номинальным токам электроприемников, но таким образом, чтобы аппараты защиты не отключали электроустановки при кратковременных перегрузках, которые относятся к эксплуатационным (пусковые токи, пики технологических нагрузок, токи при самозапуске и т.п.).
Для расчета в данной работе был выбран наиболее широко распространенный элемент электрических аппаратов, обеспечивающий их надежное функционирование – Ш–образный электромагнит. Учитывая достаточную сложность и громоздкость расчета магнитных цепей, предлагается инженерный метод расчета, который базируется на большом экспериментальном и теоретическом материале.
В предлагаемой методике на базе простейших соотношений, определяющих расчет магнитных цепей, получены оптимальные конечные результаты путем введения ряда экспериментально определяемых параметров. Разработка электромагнита предусматривает выполнение предварительного расчета, позволяющего принять основные конструктивные параметры, и окончательного проектного расчета.
Целью разработки курсового проекта является практическое применение теоретических знаний, полученных при изучении дисциплины «Электромеханические аппараты».
Расчет электромагнита автоматического выключателя выполняется в объеме технического проекта с разработкой эскиза конструкции электромагнита, расчета основных его элементов и технических показателей.
1. Общие сведения об автоматических выключателях
Автоматический выключатель – это коммутационный электрический аппарат, предназначенный для проведения тока цепи в нормальных режимах и для автоматического отключения электроустановок при перегрузках и токах короткого замыкания, чрезмерных понижениях напряжения и других аварийных режимах. Возможно использование автоматов для нечастых (6–30 раз в сутки) оперативных включений и отключений цепей.
Автоматические выключатели изготовляют для цепей переменного и постоянного тока одно-, двух-, трех- и четырехполюсными.
а) Двухполюсные автоматические выключатели общего применения служат для защиты силовых, осветительных и других электроустановок. Они предназначены для ручного включения и автоматического или ручного отключения электрических потребителей под нагрузкой. Автоматические выключатели двухполюсного исполнения применяются, как правило, в цепях постоянного тока до 63 А. Крепление на колодке, рейке или панели.
б) Трехполюсные (трехфазные) автоматические выключатели общего применения служат для защиты силовых, осветительных и других электроустановок, а также электродвигателей от аварийных режимов, коротких замыканий, перегрузок по току и понижения напряжения. Они предназначены для ручного включения и автоматического или ручного отключения электрических потребителей под нагрузкой. Автоматические выключатели трехполюсного исполнения применяются в цепях переменного тока с трехфазной нагрузкой (например, асинхронный двигатель с короткозамкнутым ротором). Расцепители могут встраиваться в один, два или три полюса в зависимости от типа исполнения автомата.
в) Четырехполюсные автоматические выключатели общего применения служат для защиты силовых, осветительных и других электроустановок, а также электродвигателей от аварийных режимов, коротких замыканий и перегрузок по току. Они предназначены для ручного включения и автоматического или ручного отключения электрических потребителей под нагрузкой. Автоматические выключатели четырехполюсного исполнения применяются в цепях переменного тока с трехфазной нагрузкой (например, асинхронный двигатель с короткозамкнутым ротором). Расцепители могут встраиваться в один, два или три полюса в зависимости от типа исполнения автомата.
Автоматические выключатели имеют расцепитель прямого действия, называемые расцепителями, которые обеспечивают отключение при перегрузках, коротком замыкание, снижении напряжения. Отключение может происходить без выдержки времени или с выдержкой. По собственному времени отключения tсо (промежуток от момента, когда контролируемый параметр превзошел установленное для него значение, до момента начала расхождения контактов) различают нормальные выключатели (tсо = 0,02 – 1 с), выключатели с выдержкой времени (селективные) и быстродействующие выключатели (tсо<0,05 с).
Нормальные и селективные автоматические выключатели токоограничивающим действием не обладают. Быстродействующие выключатели, так же как предохранители, обладают токоограничивающим действием, так как отключают цепь до того, как ток в ней достигнет значения iуд.
Основной особенностью быстродействующих автоматических выключателей является минимальное значение собственного времени, поэтому вся конструкция автомата подчиняются решению этой задачи.
Селективные автоматические выключатели позволяют осуществить селективную защиту сетей путем установки автоматических выключателей с разными выдержками времени: наименьшей у потребителя и ступенчато возрастающей к источнику питания.
Автоматические выключатели изготовляют с ручным и двигательным приводом, в стационарном или выдвижном исполнении.
Выключатель рассчитан на коммутацию предельно отключаемых и включаемых токов в цикле операций О – П–ВО – П – ВО при номинальном напряжении. Здесь О – отключение, П – пауза (<180 с), ВО – включение, отключение.
Конструкция автоматических выключателей состоит из следующих основных узлов:
– контактной системы;
– дугогасительной системы;
– расцепителей;
– механизма управления;
– механизма свободного расцепления.
– Контактная система состоит из неподвижных контактов, закрепленных на корпусе, и подвижных контактов, шарнирно насаженных на полуоси рычага механизма управления, и обеспечивает, как правило, одинарный разрыв цепи.
– Дугогасительное устройство устанавливается в каждом полюсе выключателя и предназначается для локализации электрической дуги в ограниченном объеме. Оно обычно представляет собой дугогасительную камеру с деионной решеткой из стальных пластин. Могут быть предусмотрены также искрогасители, представляющие собой фибровые пластины.
– Механизм свободного расцепления представляет собой 3 – или 4 – звенный механизм, который обеспечивает расцепление выключателя и отключение контактной системы как при автоматическом, так и при ручном управлении.
– Защиту от токов коротких замыканий выполняет электромагнитный расцепитель. Срабатывание электромагнитного расцепителя обеспечивает электромагнит, якорь которого при срабатывании давит на расцепитель, обеспечивая отключение автомата. Электромагнитный расцепитель имеет свой ток отключения при коротком замыкание (установка короткого замыкания). Этот ток выражается в амперах, или чаще, – в кратности к номинальному току.
Время срабатывания электромагнитного расцепителя при токе короткого замыкания мгновенное (собственное время срабатывание расцепителя сотые доли секунд).
Защиту от токов перегрузок выполняет тепловой расцепитель. Основа теплового расцепителя – биметаллическая (в последнее время триметаллическая) пластина, которая при нагреве изменяет свою форму, и этим обеспечивает срабатывание расцепителя. Тепловой расцепитель не имеет постоянного времени отключения автомата, его время срабатывания зависит от величины тока перегрузки.
Полупроводниковые расцепители состоят из измерительного элемента, блока полупроводниковых расцепитель и выходного электромагнита, воздействующего на механизм свободного расцепления выключателя. В качестве измерительного элемента используется трансформатор тока (на переменном токе) или дроссельный магнитный усилитель (на постоянном токе). Полупроводниковый расцепитель тока допускает регулировку следующих параметров:
– номинального тока расцепителя;
– уставки по току срабатывания в зоне токов короткого замыкания (ток отсечки);
– установки по времени срабатывания в зоне токов нагрузки;
– установки по времени срабатывания в зоне токов короткого замыкания (для селективных выключателей).
Электродинамический расцепитель используется для защиты от коротких замыканий в автоматических выключателей с большими номинальными токами. Срабатывание обеспечивается электродинамическими силами, отталкивающих силовые контакты.
Во многих автоматических выключателях применяют комбинированные расцепители, использующие тепловые элементы для защиты от токов перегрузок и электромагнитные для защиты от токов коротких замыканий без выдержки времени (отсечки).
Выключатель также имеет дополнительные сборочные единицы, которые встраиваются в выключатель или крепятся на нем снаружи. Ими могут быть независимый, нулевой или минимальный расцепители напряжения, свободные или вспомогательные контакты, ручной, электромагнитный или электродвигательный привод, сигнализация автоматического отключения, устройство для запирания выключателя в положении «Отключено».
Независимый расцепитель представляет собой электромагнит с питанием от постороннего источника напряжения. Минимальный и нулевой расцепители могут выполняться с выдержкой времени и без выдержки времени. С помощью независимого или минимального расцепителя возможно дистанционное отключение автоматического выключателя.
В зависимости от способа установки выключатели делят на стационарные и выдвижные, а в зависимости от типа присоединения – на выключатели с передним, задним или комбинированным присоединением внешних проводников к контактам главной цепи.
1) Выключатели выдвижного исполнения.
Выключатели выдвижного исполнения рассчитаны для работы в комплекте с каркасом, устанавливаемым в ячейке распределительного устройства.
Выдвижное устройство обеспечивает:
- замыкание и размыкание врубных контактных зажимов только в отключенном положении выключателя;
- фиксацию выключателя в рабочем положении и в положении разъединителя.
Для оперирования выключателем выдвижного исполнения без электромагнитного привода предусмотрен ручной дистанционный привод, устанавливаемый на двери распределительного устройства, который обеспечивает оперирование выключателем в рабочем положении и в положении разъединителя при закрытой двери распределительного устройства.![]()
Рукоятка ручного дистанционного привода имеет устройство, позволяющее запереть ее в положениях «Включено» и «Отключено».
Выключатели выдвижного исполнения с электромагнитным приводом допускают дистанционное оперирование выключателем в рабочем положении и в положении разъединителя при открытой и закрытой двери распределительного устройства.
Выключатель состоит из следующих основных сборочных единиц: корпуса, контактной системы, механизма управления, максимальных расцепителей тока, дугогасительных камер, искрогасителя, зажимов для присоединения внешних проводников к главной цепи выключателя и дополнительных сборочных единиц.
На рис. 1.1 представлена конструкция выключателя выдвижного исполнения.
Полупроводниковый расцепитель РП (см. рис. 1.1) состоит из измерительных элементов 12, встраиваемых в каждый полюс выключателя, блока управления 13, блока гасящих резисторов (для выключателей постоянного тока) и независимого расцепителя 18.
В качестве измерительных элементов 12 у выключателей переменного тока применены трансформаторы тока, а у выключателей постоянного тока – магнитные усилители. Блок управления 13 представляет собой самостоятельный сменный блок, имеющий свой пластмассовый кожух, в котором размещены все его элементы. Лицевая панель БУРП закрыта прозрачной съемной крышкой. Под крышкой расположены необходимые элементы для проверки работоспособности и регулирования параметров в условиях эксплуатации. Блок управления 13 крепится к корпусу 15 выключателя двумя винтами. Электрическое соединение блока управления 13 с измерительными элементами 12, блоком гасящих резисторов, главной цепью выключателя и независимым расцепителем 18 (К1) осуществляется соединителем, розетка которого установлена на корпусе 15 выключателя, а вилка – на блоке управления 13. При возникновении в защищаемой цепи тока, равного или превышающего уставку по току срабатывания РП в зоне токов перегрузки, РП с обратно-зависимой от тока выдержкой времени выдает сигнал на срабатывание ИЭ БУРП. Установка по времени срабатывания при токе перегрузки 51 р постоянного и 61 р переменного тока устанавливается регулировочной ручкой для выключателей постоянного тока или переключателем – для выключателей переменного тока.

Рис. 1.1. Выключатель выдвижного исполнения: 1 – расцепитель нулевого напряжения; 2 – крышка выключателя; 3 – вывод верхний; 4 – искогаситель; 5 – камера дугогасительная; 6 – пластины стальные; 7 – контактодержатель контакта подвижного; 8 – контакт подвижный; 9 – траверса изоляционная; 10 – рукоятка; 11 – рейка отключающая; 12 – элемент измерительный; 13 – блок управления расцепителя полупроводникового; 14 – вывод нижний; 15 – корпус; 16 – расцепитель электромагнитный; 17 – соединение гибкое; 18 – расцепитель независимый; 19 – колодка зажимная; 20 – контакты вспомогательной цепи; 21 – контакт малоподвижный; 22 – контактодержатель контакта малоподвижного
2) Выключатели автоматические стационарного типа (рис. 1.2).
Выключатели имеют тепловые и электромагнитные максимальные расцепители тока для защиты в зоне токов перегрузки и короткого замыкания.
Выключатели могут иметь исполнение только с электромагнитными максимальными расцепителями тока для защиты в зоне токов короткого замыкания.
![]()
![]()
![]()
![]()
![]()
Независимый расцепитель обеспечивает отключение выключателя при подаче на выводы его катушки напряжения постоянного или однофазного переменного тока частотой 50 и 60 Гц.
Допустимые колебания рабочего напряжения от 0,7 до 1,2 от номинального. Номинальный режим работы независимого расцепителя – кратковременный.
Независимый расцепитель допускает 10 отключений выключателя подряд с холодного состояния его катушки с паузой между отключениями не менее 5 и не более 15 с.
Полное время отключения цепи выключателя при номинальном токе с момента подачи номинального напряжения на выводы катушки независимого расцепителя – не более 0,04 с.
Выключатели допускают не менее 2000 отключений независимым расцепителем из общего количества циклов износостойкости.
Свободные контакты допускают работу при напряжении от 0,7 до 1,2 номинального. Свободные контакты в продолжительном режиме допускают нагрузку током 4 А.
Ручные дистанционные приводы позволяют дистанционное оперирование только при закрытой двери распределительного устройства, электромагнитные приводы – как при закрытой, так и при открытой двери.
Электромагнитный привод обеспечивает включение и отключение выключателя, а также взвод механизма выключателя после его автоматического отключения.

Рис. 1.2. Выключатель стационарного типа: 1 – основание; 2 – камера дугогасительная; 3 – пластина искогасительная; 4 – пластины искогасительные; 5 – крышка; 6 – пластины; 7 – звено; 8 – звено; 9 – рукоятка; 10 – рычаг опорный; 11 – защёлка; 12 – рейка отключающая; 13 – пластина термобиметаллическая; 14 – расцепитель электромагнитный; 15 – проводник гибкий; 16 – токопровод; 17 – контактодержатель; 18 – контакты подвижные; 19 – щёки изоляционные
В зависимости от воздействующей величины автоматические выключатели делятся на максимальные выключатели по току, минимальные выключатели по току, минимальные выключатели по напряжению, выключатели обратного тока, максимальные выключатели, работающие по нарастанию производной тока, поляризованные максимальные выключатели, отключающие цепь при нарастании тока в прямом направлении, и неполяризованные, реагирующие на возрастание тока в любом направлении, выключатели, осуществляющие защиту от ряда воздействующих величин (например, максимальные по току и минимальные по напряжению).
Основные элементы автоматического выключателя и их взаимодействие рассмотрим по принципиальной схеме (рис. 1.3).
Контактная система выключателей на большие токи – двухступенчатая, состоит из главных 11, 5 и дугогасительных контактов 7. Главные контакты должны иметь малое переходное сопротивление, так как по ним проходит основной ток. Обычно это массивные медные контакты с серебряными накладками на неподвижных контактах и металлокерамическими накладками на подвижных контактах. Дугогасительные контакты замыкают и размыкают цепь, поэтому они должны быть устойчивы к возникающей дуге, поверхность этих контактов металлокерамическая.
При номинальных токах 630 А контактная система одноступенчатая, т.е. контакты выполняют роль главных и дугогасительных.
На рис. 1.3 выключатель показан в процессе отключения. Чтобы его включить, вращают рукоятку 2 или подают напряжение на электромагнитный привод 1 (УА).Возникающее усилие перемещает рычаги 3вправо, при этом поворачивается несущая деталь 13,замыкаются сначала дугогасительные контакты 7 и создается цепь тока через эти контакты и гибкую связь 12, а затем главные контакты 5, 11. После завершения операции выключатель удерживается во включенном положении защелкой 14с зубцами 15 и пружиной 16.
Отключают выключатель рукояткой 2, приводом 7 или автоматически при срабатывании расцепителей.
Максимальный расцепитель 17 срабатывает при протекании по его обмотке УАТ1тока короткого замыкания. Создается усилие, преодолевающее натяжение Рпружины 16,рычаги 3 переходят вверх за мертвую точку, в результате чего автоматический выключатель отключается под действием отключающей пружины 4. Этот же расцепитель выполняет функции независимого расцепителя. Если на нижнюю обмотку УАТ2 подать напряжение кнопкой 5В, он срабатывает и осуществляет дистанционное отключение.

Рис. 1.3. Принципиальная схема автоматического выключателя: 1 – электромагнитный привод; 2 – рукоятка ручного включения; 3 – рычаги механизма свободного расцепления; 4– отключающая пружина; 5 – главный подвижной контакт; 6 – пружина; 7 – дугогасительные контакты; 8 – дугогасительная камера; 9 – электродинамический компенсатор в виде шинок; 10 – пружина; 11– главные неподвижные контакты; 12 – гибкая связь; 13 – несущая деталь; 14 – удерживающая защелка с зубцами 15 и пружиной 16;17 – максимальный расцепитель; 18– минимальный расцепитель
При снижении или исчезновении напряжения срабатывает минимальный расцепитель 18 и также отключается автоматический выключатель.
При отключении сначала размыкаются главные контакты, и весь ток переходит на дугогасительные контакты. На главных контактах дуга не образуется.
Дугогасительные контакты 7 размыкаются, когда главные находятся на достаточном расстоянии. Между дугогасительными контактами образуется дуга, которая выдувается вверх в дугогасительную камеру 8,где и гасится.
Дугогасительные камеры выполняются со стальными пластинами (эффект деления длинной дуги на короткие) и лабиринтнощелевыми (эффект гашения дуги в узкой щели). Втягивание дуги в камеру осуществляется магнитным дутьем. Материал камеры должен обладать высокой дугостойкостью.
При протекании тока короткого замыкания через включенный автоматический выключатель между контактами возникают значительные электродинамические силы, превышающие силы контактных пружин 6и 10,которые могут оторвать один контакт от другого, а образовавшаяся дуга может сварить их. Чтобы избежать самопроизвольного отключения, применяют электродинамические компенсаторы в виде шинок 9,изогнутых петлей. Токи в шинках 9имеют разное направление, что создает электродинамическую силу, увеличивающую нажатие в контактах.
Рычаги 3выполняют роль механизма свободного расцепления, который обеспечивает отключение автоматического выключателя в любой момент времени, в том числе при необходимости и в процессе включения. Если выключатель включается на существующее короткое замыкание, то максимальный расцепитель 17 срабатывает и переводит рычаги 3вверх за мертвую точку, нарушая связь привода 1(или 2)с подвижной системой автоматического выключателя, который отключается пружиной 4,несмотря на то, что приводом будет передаваться усилие на включение. В реальных автоматических выключателях механизм свободного расцепления имеет более сложное устройство.
Защитная характеристика автоматического выключателя приведена на рис. 1.4. Максимальные расцепители электромагнитного типа имеют обратнозависимую от тока выдержку времени при перегрузках (участок аd)и независимую выдержку времени при токах короткого замыкания (о). Установка по току регулируется в зоне перегрузки и в зоне короткое замыкание (отсечка). Время срабатывания регулируется при Iном, при (3 – 10) Iном и при токе короткого замыкания. В автоматических выключателях с электромагнитными расцепителями выдержка времени в независимой от тока части характеристики достигается за счет часового анкерного механизма, в зависимой – от силы притяжения якоря электромагнита к сердечнику.
Автоматические выключатели с биметаллическими расцепителями обеспечивают обратнозависимую характеристику при перегрузках. Для защиты от короткого замыкания в таких выключателях используются электромагнитные расцепители мгновенного действия.
В современных выключателях применяют полупроводниковые расцепители, которые обеспечивают более высокую точность срабатывания по току и времени.
2. Исходные данные Ш–образного электромагнита
Напряжение питания ~ 220 В; Iном=10А; f=50 Гц.
Длительный режим работы. Температура окружающей среды θ0=+40°С.
Класс нагревостойкости обмоточного провода А.
Допустимая температура нагрева 105°С.
Материал магнитопровода 1511.

Рис. 2.1. Электромагнит переменного тока с плоским якорем и Ш-образным ярмом
3. Расчеты электромагнита
3.1 Расчет сечения магнитопровода
Сечение магнитопровода электромагнита переменного тока должно удовлетворять двум условиям:
– отсутствию вибрации якоря в притянутом положении;
– превышению среднего значения электромагнитной силы при всех положениях якоря над противодействующей.
Правильность выбора сечения выясняется на этапе поверочного расчета, когда построена тяговая характеристика при минимальном напряжении. На этапе предварительного расчета учет только одного из названных условий при расчете сечения магнитопровода может привести к отрицательному конечному результату. Чтобы избежать этого, рекомендуется предварительно провести расчет сечения по обоим вариантам и окончательно остановиться на большем сечении.
При притянутом якоре вибрация будет отсутствовать, если минимальное электромагнитное усилие будет больше противодействующего:
(3.1.1)
где Fmin- минимальная электромагнитная сила при притянутом якоре;
kр – коэффициент запаса по силе, kр=1.1 ÷ 1.3;
F’прк – расчетное противодействующее усилие для конечного положения якоря.
Для электромагнитов с двумя К.З. витками:
F’прк=0,5 Fпрк
Сечение полюса определяется из соотношения:
(3.1.2)
где α – соотношение сечения неэкранированной части полюса (S2) к сечению экранированной (S1), α =0,4 – 0,6;
mр – отношение средних усилий от потока в неэкранированной (Рср2) и экранированной (Рср1) частях полюса; mр = 1,0 – 1,5;
c – коэффициент, учитывающий степень насыщения неэкранированной части полюса, с = 0,8 – 1;
На этапе предварительного расчета α, mр, сприходится задаваться.
Вm – максимальная индукция; Вm = 1,0 – 1,2; Принимаем kр – 1,2,
α = 0,5, mр= 1.4, с = 0,9,
(м2).

Рис. 3.1.1. Активное сечение полюса (сечение, по которому проходит поток в воздушном зазоре)
(3.1.3)
где = kзс – коэффициент заполнения пакета сталью. Принимаем при толщине листа 0,5 мм. kзс = 0,95.
Обозначим соотношения:
![]()
![]()
Принято считать сечение магнитопровода в месте расположения катушки квадратным, поэтому η = 2.
По выражениям (3.1.2) – (3.1.4) с учетом принятых коэффициентов, задавшись ориентировочно Δ = 2,10-3 (М), находим размер полюсов:
S=(a1+a2) bkзс
![]()
b/(a1+a2+Δ) = η
(м)
a2=0,5a1=0,5∙6,67∙10-3=3,335∙10-3 (м)
a=a1+a2+Δ=6,67∙10-3+3,335∙10-3+2∙10-3=1,2∙10-2
(м)
Принимаем: a1=6,67∙10-3 (м)
a2=3,335∙10-3 (м)
a=1,2∙10-2 (м)
b=2,4∙10-2 (м)
Сечение среднего стержня электромагнита принимаем:
Sмк = b2 = 5,76∙10-4 (м2)
3.2 Расчет размеров К.З. витка
Размеры К.З. витка определяются необходимым для борьбы с вибрацией якоря сопротивлением К.З. витка
(3.2.1)
где ω = 2πf = 2∙3,14∙50=314 (рад.) – угловая частота;
δк – конечный зазор между якорем и полюсом; δк = 5∙10-5 (м).
Тогда по формуле (2.2.1) при принятых ранее допущениях:
(Ом)
Установив rв и задавшись шириной паза под виток (шириной витка Δ), находим высоту витка (hв) из соотношения:
(3.2.2)
где ρв=ρ0(1+αθ) – удельное сопротивление материала К.З. витка. Принимая
θ = 150оС
ρ0=1,62∙10-8 Ом∙м, α = 4,3∙10-3 К-1,
Получаем ρв=1,62∙10-8 ∙ (1+4,3∙10-3 ∙150)=2,665∙10-8(Ом∙м)
По формуле (3.2.2)
(м)
Затем уточняем сопротивление витка по формуле:
(3.2.3)
где ℓв =2 (a1+b+2Δ) – средняя длина К.З. витка;
Sв=Δhв - сечение К.З. витка;
Тогда по формуле (3.2.3) сопротивление витка:
(Ом).
3.3 Предварительный расчет размеров обмотки и магнитопровода
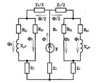
Для определения размеров обмотки необходимо найти ее МДС. МДС будет различной при различных зазорах, так как ток уменьшается от пускового до рабочего значений. Размеры обмотки определяются исходя из длительного протекания по ней рабочего тока. Таким образом, необходимо найти МДС обмотки при притянутом якоре. Для этого составляется схема замещения магнитной цепи без учета магнитного сопротивления стали, так как не известны размеры магнитопровода.

Рис. 3.3.1 Схема замещения магнитной цепи
Наибольшее действующее значение намагничивающей силы с учетом колебания напряжения по схеме замещения будет определяться выражением:
![]()
где Sмк – сечение магнитопровода в месте расположения катушки; Sмк = b2 = 5,76∙10-4 (м) – для электромагнита с Ш-образным магнитопроводом;
Вm – амплитудное значение индукции; Вm=1,1 (Тл);
ku – коэффициент колебания напряжения; ku =1,25;
kп – коэффициент, учитывающий потери МДС в стали; kп-1.2;
Rп = δп/μ0Sп – магнитное сопротивление паразитных зазоров и зазоров отлипания;
δп=5∙10-5 (м) – для мест стыка двух ферромагнитных тел;
δп=20∙10-5 (м) – для зазоров отлипания;
Sп - сечение на пути магнитного потока в паразитных зазорах и зазорах отлипания;
(1 / Гн);
Rδ1 – магнитное сопротивление экранированной части полюса;
(1 / Гн);
Rδ2 - магнитное сопротивление неэкранированной части полюса;
(1 / Гн);
Хмв – магнитное сопротивление К.З. витка;
Тогда по формуле (3.3.1)

Когда активное сопротивление обмотки значительно меньше индуктивного, число ее витков:
(3.3.2)
где kR – коэффициент, учитывающий падение напряжения на активном сопротивлении; kR = 0,92; Umin – минимальное напряжение сети; Umin = 0.85∙U
По формуле (3.3.2)
(вит.)
По найденному значению МДС определяется ток в обмотке
I=F / W (2.3.3)
По формуле (3.3.3)
I=271,56 / 1223=0,22 (A).
Задаемся плотностью тока j -2,5∙106 (А/м),
Сечение провода:
q=I / j (3.3.4)
Диаметр провода:
(3.3.5)
Тогда по формулам (3.3.4) – (3.3.5) определяем:
q=0,22 / (2,5∙106)=8,8∙10-8 (м2)
(м).
При марки провода ПЭВ-1 коэффициент заполнения f0 = 0,580. И уточняем сечение провода:
(м2).
Площадь обмоточного окна:
(3.3.6)
По формуле (3.3.6):
(м2).
Зная отношение длины катушки (ℓ0) к толщине (h0) равное ℓ0 / h0 – 2,5 и Q=ℓ0∙h0 рассчитываем размеры катушки: h0= 0.0086 м; ℓ0= 0.0216 м.
Изобразим эскиз электромагнита (рис. 3.3.2), по которому находим размеры окна магнитопровода: ℓ = 0.026 м; h = 0.01 м.

Рис. 3.3.2. Эскиз электромагнита
3.4 Уточненный расчет обмотки при притянутом якоре
Зная размеры магнитопровода, можно определить более точное значение МДС с учетом магнитного сопротивления стали. Составляется схема замещения магнитной цепи при притянутом якоре с учетом магнитных сопротивлений ферромагнитных участков (рис. 3.4.1).

Рис. 3.4.1. Схема замещения магнитной цепи при притянутом якоре с учетом магнитных сопротивлений ферромагнитных участков
В схеме замещения фигурируют комплексные магнитные сопротивления, которые содержат активную и реактивную составляющие:
(3.4.1)
где ρR, ρX – удельные магнитные сопротивления. Для их определения используем расчетные кривые: при Вm=1,1 Тл для стали 1511
ρR = 2∙102 м / Гн, ρX = 0.9∙102 м / Гн;
ℓi – длина участка;
Si – сечение участка.
Определим длину каждого участка:
(м)
(м)
(м)
Сечение каждого участка:
(м2)
(м2)
Тогда по формуле (3.4.1):
(1 / Гн);
(1 / Гн);
(1 / Гн).
По схеме замещения определяем МДС (F) и угол потерь (θ):
(3.4.2)
По формуле (7.4.2):

Уточненное число витков обмотки:
(3.4.3)
в которой С1 = ρ jдоп ℓср, где ρ – удельное сопротивление меди:
ρ = ρ0 (1+αθ) = 1,62∙10-8∙ (1+0,0043∙105)=2,35∙10-8 Ом∙м;
ℓср – средняя длина обмотки, по рис. 4.2,
ℓср = 4b0+πh0 = 4 (24+4)∙10-3+3,14∙0,0086=0,139 м;
,
где Фm=BmSмкkкз=1,1∙5,76∙10-4∙0,95=0,0006 Вб.
Таким образом, С1 = 2,35∙10-8∙2,5∙106∙0,139 = 0,0081 В
В
Тогда по формуле (7.4.3):
![]()
Уточним ток в обмотке и сечение провода по (3.3.3) – (3.3.4):
I=241,54 / 1300=0,17 A
q=0,17 / (2,5∙106)=7∙10-8 м2.
Омическое сопротивление обмотки:
(3.4.4)
По формуле (3.4.4):
Ом

Рис. 3.4.2. Катушка электромагнита
Дополнительное активное сопротивление:
(3.4.5)
где Z,мэкв – эквивалентное магнитное сопротивление, выражение в фигурных скобках уравнения (3.4.2)
По формуле (3.4.5):
Ом
Индуктивное сопротивление обмотки:
. (3.4.6)
По формуле (3.4.6)
Ом
Угол между током и напряжением:
(3.4.7)
По формуле (3.4.7):
![]()
Уточненный рабочий ток:
(3.4.8)
где Umax – максимальное значение напряжения, Umax = 1,05 U.
По формуле (3.4.8):
A
Полная мощность:
S=Umax∙I (3.4.9)
По формуле (3.4.9):
S=1,05∙220∙0,174=40,28 В∙A
Активная мощность Э.М.:
Pэл=I2∙(R0+R∞) (3.4.10)
По формуле (3.4.10):
Pэл=0,1742∙(64,12+294,43)=10,85 Вт
Температура перегрева обмотки:
(3.4.11)
Sохл=Sн+αSвн (3.4.12)
где Sохл – площадь охлаждения обмотки;
Sн - наружная поверхность охлаждения; Sвн – внутренняя поверхность охлаждения;
α = 0 – катушка на изоляционном каркасе;
Sн=(4b0+2πh0) ℓ0 (3.4.13)
km – коэффициент теплоотдачи, т. к. 10-2 м > Sохл >10-4 м2, то
τдоп = θдоп – θ0 – допустимая температура перегрева
. (3.4.14)
По формулам (3.4.11) – (3.4.14):
Sохл=Sн=(4∙(20+4)∙10-3+2∙3,14∙0,0086)∙0,0216=0,00358 м2.

![]()
3.5 Проверка отсутствия вибрации якоря
Для проверки отсутствия вибрации якоря необходимо найти в притянутом положении в экранированной (Фδ1) и неэкранированной (Ф δ2) частях полюса.
(3.5.1)
Фδ2=n∙Фδ1 (3.5.2)
где Ф δ – поток в зазор