Технология GPRS
Цифровые беспроводные и сотовые технологии берут свое начало в 1940-х, когда началось коммерческое использование мобильной телефонной связи.
В начале 80-х годов в Европе существовало несколько конкурирующих стандартов аналоговой сотовой связи. В Европе к тому времени уже двадцать лет как существовал вполне подходящий инструмент для решения подобных вопросов – CEPT. Конференция CEPT (Conference Europeenne des Administration des postes et des telecommunications, The European Conference of Postal and Telecommunications Administrations) была основана в 1959. Её деятельность в основном сводилась к урегулированию международных коммерческих и операционных вопросов и стандартизации в области связи.
В 1982 этом году CEPT создала Groupe Speciale Mobile для изучения будущей европейской системы сотовой связи. Встречаются упоминания о том, что эта группа была создана по предложению Nordic Telecom и Netherlands PTT. Позже аббревиатура GSM стала читаться как Global System for Mobile Communications.
Сегодня GSM-сети охватывают практически все густонаселённые районы земного шара. Стандарт успешно развивается, однако можно смело говорить о том, что эволюционный процесс в сети ещё не закончен. Разработчики заложили слишком много лазеек для роста GSM при его развитии. На данный момент сеть имеет определённый потенциал развития по абонентской базе, конкурентоспособности и предоставлению новых услуг.
Сети стандарта GSM умеют передавать данные. Изначально эта возможность закладывалась в них разработчиками в далеких 80-х годах прошлого века. Тогда никто и подумать не мог о развитии коммуникаций в ближайшие десятки лет. Сейчас GSM может предоставить вполне конкурентоспособные сервисы, которые выведут абонентов во Всемирную Паутину и позволят переслать факсимильное или е-mail сообщение. Сеть GSM даёт пользователю возможность вывести свой компьютер в Интернет, используя сотовый телефон как устройство передачи данных. Кроме этого, современный мобильный телефон сам является web-браузером, ICQ-клиентом и даже файл-сервером.
Современный сотовый мир развивается очень быстро, и уследить за всеми нововведениями порой просто невозможно. С другой стороны, только грамотные пользователи могут использовать сотовую связь с максимальной выгодой для себя. Предупреждён – значит вооружён.
1. Структура и развитие сети "GSM Казахстан"
ТОО "GSM Казахстан ОАО "Казахтелеком" – казахстанский оператор сотовой связи стандарта GSM 900 был основан 30 сентября 1998 года. Акционерами "GSM Казахстан" являются национальный оператор связи.
АО "Казахтелеком" и финская компания "FinTur". Основное направление деятельности – предоставление сотовой сети GSM900 и обеспечение высококачественной связи.
Коммерческий пуск сети "GSM Казахстан" состоялся 6 февраля 1999 года с торговой маркой "K'Cell". Запуск карточной сотовой "Activ", которая является ещё одной торговой маркой компании, состоялся 9 сентября 1999 года.
На сегодняшний день количество абонентов сети "GSM Казахстан" составляет более 3 миллионов человек. Сеть "GSM Казахстан" работает более чем в 194 населенных пунктах Казахстана. Компания предоставляет услугу международного автоматического роуминга с 224 операторами в 101 стране мира.
Покрыты трассы: Астана-Караганда протяженностью 250 км, Алматы-Георгиевка (трасса на Бишкек) 250 км, Алматы-Талдыкорган 250 км, Астана-Кокшетау 300 км, Алматы-Шымкент протяженностью 600-700 км, Астана-Павлодар 600 км, Балхаш-Караганда 200 км, Кокшетау-Костанай 600 км. В будущем покрытие дорог РК будет продолжено в соответствии с планами развития сети "GSM Казахстан", включая покрытие населенных пунктов, расположенных вдоль трасс.
Постоянно расширяется спектр дополнительных услуг, предлагаемых абонентам компании. В них входят гороскоп, курсы валют, погода, расписание кинотеатров, программа телевидения, логотипы, мелодии, графические открытки, словарь, шутки и многое другое.
23 ноября 2004 года первой среди отечественных операторов, компания "GSM Казахстан" осуществила революционный прорыв в сотовой связи Республики Казахстан и открыла для своих абонентов услуги, основанные на технологии "EDGE" (Enhanced Data for GSM Evolution). Ввод "EDGE" является существенным шагом на пути модернизации сети "GSM" в сеть связи третьего поколения. Внедрение технологии "EDGE" позволит "GSM Казахстан" поднять сервис мобильной связи на качественно новый уровень. Благодаря технологии "EDGE", в значительной мере увеличивающей скорость передачи данных (до 200Кбит/с., что в 2-3 раза быстрее GPRS), абоненты уже в ближайшем будущем смогут воспользоваться всеми преимуществами услуг третьего поколения.
Руководство компании ТОО "GSM Казахстан ОАО "Казахтелеком" базируется в городе Алматы. Там же сосредоточен основной административный и технический персонал.
В состав "GSM Казахстан ОАО "Казахтелеком" входят следующие департаменты:
- административный департамент;
- департамент Главного исполнительного директора;
- департамент маркетинга;
- департамент по работе с клиентами;
- департамент по управлению человеческими ресурсами;
- департамент продаж;
- департамент информационных технологий;
- технический департамент;
- финансовый департамент;
- юридический департамент.
Состав Технического департамента:
- отдел планирования сети;
- отдел сектора передачи данных;
- отдел инженеров базовых станций;
- отдел радио поддержки;
- отдел энергетиков;
- отдел инженеров климатического контроля.
"GSM Казахстан" использует коммутационное оборудование – "Ericsson". Сегодня сеть компании включает 2 HLR, 13 коммутаторов (MSC), 19 контроллеров базовых станций (BSC) и рассчитана на 3,5 миллиона абонентов. Причем, используется перспективная версия MSC Ericsson AXE-10.
Сеть Карагандинской области обеспечивает коммутационная система, состоящая из одного коммутатора MSC и двух контроллеров BSC.
Связь с коммутатором более высокого уровня, расположенного в Алматы осуществляется посредством арендуемых двухмегабитных каналов на оптическом волокне ОАО "Казахтелеком".
В качестве исследуемой области выберем сектор сети базовых станций "GSM Казахстан", расположенный на юго-востоке города Караганды.
На данный момент в секторе работают 7 станций Ericsson RBS2206, обеспечивающие покрытие описываемого района города.
В состав параметров станции входят:
- наименование станции – присваивается на стадии составления проекта новой базовой станции;
- координаты станции – в данном случае географические координаты расположения антенн сотовой связи;
- альтитуда – абсолютная высотная отметка земной поверхности на месте расположения объекта;
- высота здания или вышки над земной поверхностью, на которых установлены антенны сотовой связи;
- высота расположения секторных антенн базовой станции над земной поверхностью;
- конфигурация базовой станции – устанавливаемая приемо-передающая емкость на каждом из трех секторов покрытия базовой станции;
- высота подвеса радио релейных антенн – высота установки радио релейных антенн над земной поверхностью.
Координаты и альтитуды объектов, на которых установлены или планируется установить базовые станции, определяются с помощью ручных навигаторов GPS (Global Position System). В нашем случае это Garmin GPS 60 в соответствии с рисунком 1.1. После чего данные вносятся в персональный компьютер (ПК). Импорт данных, их обработку и визуализацию осуществляет компьютерная программа "Map Source". Интерфейс программы с местоположениями станций сотовой связи.
Данная программа дает представление о взаимоположении станций на карте, а также позволяет определить прямые расстояния между станциями и азимуты направления антенн сотовой связи.

Рисунок 1.1 – Ручной навигатор Garmin GPS 60
Высота установки антенн сотовой связи замеряется ручным лазерным дальномером.
Все эти данные находят отражение в санитарном паспорте базовой станции "GSM Казахстан" при регистрации и получении разрешения на использование радиочастотного спектра.
На обследуемом секторе сети сотовой связи базовые станции работают с максимальной загрузкой, о чем свидетельствует рабочая конфигурация станций. В часы пик наблюдаются перегрузки, что свидетельствует о недостаточной емкости сотовой сети в данном секторе. Чтобы исправить создавшееся положение инженер отдела планирования составляет проект дополнительных станций сотовой связи, которые необходимо смонтировать в данном секторе сети. Благодаря этому в секторе повысится емкость по обслуживанию абонентов сотовой связи, а также улучшится и увеличится покрытие сектора сети.
Сеть передачи данных формируется из сегментов – Радио Релейных Линий (РРЛ), которые в свою очередь делятся на терминалы ближнего и дальнего конца.
Длина РРЛ определяется посредством программного приложения "Map Source". Диаметр антенны подбирается исходя из длины РРЛ. Основное применение в городских условиях получило оборудование, работающее на частотах 22-23 ГГц, которым соответствуют индексы используемых радиоблоков. Частоты, действующие на РРЛ, подбираются с помощью программного комплекса TEMS оптимизаторами сети передачи данных и регистрируются на основании заявки, подаваемой в Агентство информатизации и связи Республики Казахстан.
В связи с малой насыщенностью эфира частотами данного диапазона на сегодняшний день используется только вертикальная поляризация.
Емкость РРЛ определена в соответствии с потребностью на объем цифровых каналов действующих базовых станций.
1.1 Структура сети GSM900
Самая простая часть структурной схемы – переносной телефон, состоит из двух частей:
- Mobile Equipment – мобильное устройство;
- SIM (Subscriber Identity Module) – смарт-карта или модуль идентификации абонента, получаемый при заключении контракта с оператором.
Сотовый телефон имеет собственный номер – IMEI (International Mobile Equipment Identity – международный идентификатор мобильного устройства), который может передаваться сети по ее запросу. SIM, в свою очередь, содержит так называемый IMSI (International Mobile Subscriber Identity – международный идентификационный номер подписчика). Значит, IMEI соответствует конкретному телефону, а IMSI – определенному абоненту.
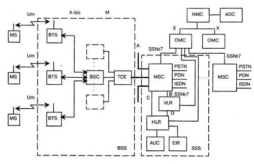
Типовая структурная схема и состав оборудования GSM сети соответствует рисунку 1.2.
"Центральной нервной системой" сети является NSS (Network and Switching Subsystem – подсистема сети и коммутации), а компонент, выполняющей функции "мозга" называется MSC (Mobile services Switching Center – центр коммутации). MSC в сети может быть и не один (в данном случае очень уместна аналогия с многопроцессорными компьютерными системами). MSC занимается маршрутизацией вызовов, формированием данных для биллинговой системы, также управляет многими другими процедурами.
Следующими по важности компонентами сети, также входящими в NSS, являются HLR (Home Location Register – реестр собственных абонентов) и VLR (Visitor Location Register – реестр перемещений). HLR представляет собой базу данных обо всех абонентах, заключивших контракт с данным оператором. В ней хранится информация о номерах пользователей (под номерами подразумеваются, во-первых, упоминавшийся выше IMSI, а во-вторых, так называемый MSISDN – Mobile Subscriber ISDN, т.е. телефонный номер в его обычном понимании).
В отличие от HLR, который в системе один, VLR-ов может быть и несколько – каждый из них контролирует свою часть сети. В VLR содержатся данные об абонентах, которые находятся на его территории (причем обслуживаются не только свои подписчики, но и зарегистрированные в сети клиенты роуминга). Как только пользователь покидает зону действия какого-то VLR, информация о нем копируется в новый VLR, а из старого удаляется. В HLR для каждого абонента постоянно присутствует ссылка на тот VLR, который с ним (абонентом) сейчас работает (при этом сам VLR может принадлежать чужой сети, расположенной, например, на другом конце Земли).

Рисунок 1.2 – Типовая структурная схема
На рисунке 1.2 приняты обозначения:
- MSC (Mobile Switching Centre) – центр коммутации подвижной связи;
- BSS (Base Station System) – оборудование базовой станции;
- ОМС (Operations and Maintenance Centre) – центр управления и обслуживания;
- MS (Mobile Stations) – подвижные станции.
NSS содержит еще два компонента – AuC (Authentication Center – центр авторизации) и EIR (Equipment Identity Register – реестр идентификации оборудования). Первый блок используется для процедур установления подлинности абонента, а второй, как следует из названия, отвечает за допуск к эксплуатации в сети только разрешенных сотовых телефонов.
Исполнительной частью сотовой сети, является BSS (Base Station Subsystem – подсистема базовых станций). BSS состоит из нескольких BSC (Base Station Controller – контроллер базовых станций), а также множества – BTS (Base Transceiver Station – базовая станция). Каждый BSC контролирует целую группу BTS и отвечает за управление и распределение каналов, уровень мощности базовых станций и тому подобное. BSC в сети не один, а целое множество (базовых станций же вообще сотни).
Управляется и координируется работа сети с помощью OSS (Operating and Support Subsystem – подсистема управления и поддержки). OSS состоит из всякого рода служб и систем, контролирующих работу и трафик – дабы не перегружать читателя информацией.
1.2 Регистрация в сети
При каждом включении телефона после выбора сети начинается процедура регистрации. Рассмотрим наиболее общий случай – регистрацию не в домашней, а в чужой, так называемой гостевой, сети (будем предполагать, что услуга роуминга абоненту разрешена).
Пусть сеть найдена. По запросу сети телефон передает IMSI абонента. IMSI начинается с кода страны "приписки" его владельца, далее следуют цифры, определяющие домашнюю сеть, а уже потом – уникальный номер конкретного подписчика. По номеру IMSI VLR гостевой сети определяет домашнюю сеть и связывается с ее HLR. Последний передает всю необходимую информацию об абоненте в VLR, который сделал запрос, а у себя размещает ссылку на этот VLR, чтобы в случае необходимости знать, "где искать" абонента.
При регистрации AuC домашней сети генерирует 128-битовое случайное число – RAND, пересылаемое телефону. Внутри SIM с помощью ключа Ki (ключ идентификации – так же как и IMSI, он содержится в SIM) и алгоритма идентификации А3 вычисляется 32-битовый ответ – SRES (Signed RESult) по формуле:
SRES = Ki × RAND (1.1)
Точно такие же вычисления проделываются одновременно и в AuC (по выбранному из HLR Ki пользователя). Если SRES, вычисленный в телефоне, совпадет со SRES, рассчитанным AuC, то процесс авторизации считается успешным и абоненту присваивается TMSI (Temporary Mobile Subscriber Identity-временный номер мобильного абонента). TMSI служит исключительно для повышения безопасности взаимодействия подписчика с сетью и может периодически меняться (в том числе при смене VLR).
Теоретически, при регистрации должен передаваться и номер IMEI. При получении IMEI сетью, он направляется в EIR, где сравнивается с так называемыми "списками" номеров. Белый список содержит номера санкционированных к использованию телефонов, черный список состоит из IMEI, украденных или по какой-либо иной причине не допущенных к эксплуатации телефонов, и, наконец, серый список – "трубки" с проблемами, работа которых разрешается системой, но за которыми ведется постоянное наблюдение.
После процедуры идентификации и взаимодействия гостевого VLR с домашним HLR запускается счетчик времени, задающий момент перерегистрации в случае отсутствия каких-либо сеансов связи. Обычно период обязательной регистрации составляет несколько часов. Перерегистрация необходима для того, чтобы сеть получила подтверждение, что телефон по-прежнему находится в зоне ее действия. Дело в том, что в режиме ожидания телефон только отслеживает сигналы, передаваемые сетью, но сам ничего не излучает – процесс передачи начинается только в случае установления соединения, а также при значительных перемещениях относительно сети. В таких случаях таймер, отсчитывающий время до следующей перерегистрации, запускается заново. Поэтому при "выпадении" телефона из сети (например, был отсоединен аккумулятор, или владелец аппарата зашел в метро, не выключив телефон) система об этом не узнает.
1.3 Территориальное деление сети и Handover
Как уже было сказано, сеть состоит из множества BTS – базовых станций (одна BTS – одна "сота", ячейка). Для упрощения функционирования системы и снижения служебного трафика, BTS объединяют в группы – домены, получившие название LA (Location Area – области расположения). Каждой LA соответствует свой код LAI (Location Area Identity). Один VLR может контролировать несколько LA. И именно LAI помещается в VLR для задания местоположения мобильного абонента. Именно в соответствующей LA, а не в отдельной соте, будет произведен поиск абонента. При перемещении абонента из одной соты в другую в пределах одной LA перерегистрация и изменение записей в VLR/HLR не производится, но стоит ему (абоненту) попасть на территорию другой LA, как начнется взаимодействие телефона с сетью.
Разбиение сети на LA довольно непростая инженерная задача, решаемая при построении каждой сети индивидуально. Слишком мелкие LA приведут к частым перерегистрациям телефонов и, как следствие, к возрастанию трафика разного рода сервисных сигналов и более быстрой разрядке батарей мобильных телефонов. Если же сделать LA большими, то, в случае необходимости соединения с абонентом, сигнал вызова придется подавать всем сотам, входящим в LA, что также ведет к неоправданному росту передачи служебной информации и перегрузке внутренних каналов сети.
Рассмотрим очень красивый алгоритм так называемого handover`ра (такое название получила смена используемого канала в процессе соединения). Во время разговора по мобильному телефону вследствие ряда причин (удаление "трубки" от базовой станции, многолучевая интерференция, перемещение абонента в зону так называемой тени и т.п.) мощность (и качество) сигнала может ухудшиться. В этом случае произойдет переключение на канал (может быть, другой BTS) с лучшим качеством сигнала без прерывания текущего соединения. Handover`ра принято разделять на четыре типа:
- смена каналов в пределах одной базовой станции;
- смена канала одной базовой станции на канал другой станции, но находящейся под патронажем того же BSC;
- переключение каналов между базовыми станциями, контролируемыми разными BSC, но одним MSC;
- переключение каналов между базовыми станциями, за которые отвечают не только разные BSC, но и MSC.
В общем случае, проведение handover`а – задача MSC. Но в двух первых случаях, называемых внутренними handover`ами, чтобы снизить нагрузку на коммутатор и служебные линии связи, процесс смены каналов управляется BSC, а MSC лишь информируется о происшедшем.
1.4 Маршрутизация вызовов
Каким образом происходит маршрутизация входящих вызовов мобильного телефона? Рассмотрим наиболее общий случай, когда абонент находится в зоне действия гостевой сети, регистрация прошла успешно, а телефон находится в режиме ожидания.
При поступлении запроса, в соответствии с рисунком 1.3, на соединение от проводной телефонной (или другой сотовой) системы на MSC домашней сети (вызов "находит" нужный коммутатор по набранному номеру мобильного абонента MSISDN, который содержит код страны и сети).

Рисунок 1.3 – Маршрутизация вызовов
MSC пересылает в HLR номер (MSISDN) абонента. HLR, в свою очередь, обращается с запросом к VLR гостевой сети, в которой находится абонент. VLR выделяет один из имеющихся в ее распоряжении MSRN (Mobile Station Roaming Number – номер "блуждающей" мобильной станции). Идеология назначения MSRN очень напоминает динамическое присвоение адресов IP при коммутируемом доступе в Интернет через модем. HLR домашней сети получает от VLR присвоенный абоненту MSRN и, сопроводив его IMSI пользователя, передает коммутатору домашней сети. Заключительной стадией установления соединения является направление вызова, сопровождаемого IMSI и MSRN, коммутатору гостевой сети, который формирует специальный сигнал, передаваемый по PAGCH (PAGer CHannel – канал вызова) по всей LA, где находится абонент.
2. Состав оборудования GSM сети
Основной поставщик оборудования сотовой связи GSM900 для ТОО "GSM Казахстан" является шведская компания "Ericsson".
В состав оборудования, на основе которого построена сеть сотовой связи, входят:
- коммутационная система AXE 10;
- сеть передачи данных Mini-Link;
- базовые станции RBS 2206.
2.1 Цифровая коммутационная система AXE-10
АТС AXE-10 представляет собой современную высокопроизводительную цифровую телефонную коммутационную систему, созданную фирмой "Ericsson".
Цифровая коммутационная система АХЕ является самой популярной коммутационной системой из всех когда-либо создававшихся. Начиная с 1994 года, эта система была успешно смонтирована в более чем 110 странах. Число установленных и заказанных линий превышает 94 миллиона.
AXE-10 – цифровая коммутационная система с программным управлением. Система АХЕ-10 характеризуется модульностью построения аппаратных и программных средств. Программные модули полностью независимы друг от друга и взаимодействуют между собой с помощью стандартизованных сигналов. Модульность аппаратных средств обеспечивает простое проектирование, производство, монтаж и техобслуживание.
АТС Ericsson AXE-10 предназначена для широкого спектра применений на телефонной сети и может функционировать как:
- местная "городская" телефонная станция;
- транзитная телефонная станция;
- станция сотовой и подвижной связи;
- узлы интеллектуальной и деловой сети.
Характеристика системы:
- емкость коммутационной системы до 40000 абонентских и до 60000 соединительных линий;
- емкость выносных концентраторов до 2048 абонентских и до 480 соединительных линий;
- пропускная способность 20000 Эрл в ЧНН;
- производительность управляющего устройства до 900 тысяч вызовов
в час;
- напряжение питания от 47В до 51В;
- потребляемая мощность до 2 Вт на абонентскую линию;
- станция обеспечивает возможность подключения абонентов ISDN;
- габаритные размеры стативов 2250 × 900 × 600 мм;
- условия эксплуатации: температура от 4 до 35 градусов, относительная влажность воздуха от 20 до 80 процентов.
Гибкость построения сети позволяет использовать АТС Ericsson AXE-10 в различных конфигурациях и с различными емкостями от небольших выносов на несколько сотен абонентов до глобальных телефонных систем крупных мегаполисов.
АТС Ericsson AXE-10 не имеет никаких ограничений для собственного развития благодаря уникальной гибкой системной архитектуре, называемой "функциональная модульность".
Новая версия оборудования АТС Ericsson AXE-10, с обозначением AXE 810, является новейшей разработкой в технологии коммутации. Оборудование АТС Ericsson AXE 810 состоит из магазинов GEM (Generic Ericsson Magazine), коммутационного поля GS 890, терминалов STM1
ET155-1, эхо-компенсаторов ECP 5, нового поколения транскодеров TRA R6.
Магазин GEM предоставляет возможность комбинировать коммутационное оборудование с устройствами обслуживания трафика в едином магазине. Групповой коммутатор GS890 является принципиально новым, неблокируемым распределенным коммутатором, включающим в себя также блоки синхронизации.
Плата ET 155-1, размещаемая в GEM магазине является терминалом STM-1. Плата поддерживает стандарты ITU-T и ANSI. Плата ECP5 – является новым поколением эхо-компенсатора, работающего в группе. Новое поколение плат транскодеров предназначено для применения в сетях 3G, GSM, TDMA, CDMA.
Основные характеристики АТС Ericsson AXE-10:
- единый коммутационный магазин GEM, в котором размещены почти все устройства обслуживания трафика;
- магазины GDM, используемые в настоящее время, возможно подключить к новому оборудованию AXE10;
- магазины GDM и GEM выполнены в конструктиве BYB 501;
- технология Plug&Play обеспечивает простую установку оборудования;
- на платах установлены новые управляющие процессоры RPI (Regional processor Integrated);
- обеспечена полная совместимость с оборудованием BYB 501;
- существующие узлы AXE10 на базе оборудования BYB 501 могут быть расширены с использованием нового оборудования AXE 810.
Функциональное сопряжение элементов системы осуществляется рядом интерфейсов. Все сетевые функциональные компоненты в стандарте GSM взаимодействуют в соответствии с системой сигнализации МККТТ SS N 7 (CCITT SS.N7).
Центр коммутации подвижной связи обслуживает группу сот и обеспечивает все виды соединений, в которых нуждается в процессе работы подвижная станция. MSC аналогичен ISDN коммутационной станции и представляет собой интерфейс между фиксированными сетями (PSTN, PDN, ISDN и т.д.) и сетью подвижной связи. Он обеспечивает маршрутизацию вызовов и функции управления вызовами. Кроме выполнения функций обычной ISDN коммутационной станции, на MSC возлагаются функции коммутации радиоканалов. К ним относятся "эстафетная передача", в процессе которой достигается непрерывность связи при перемещении подвижной станции из соты в соту, и переключение рабочих каналов в соте при появлении помех или неисправностях.
Каждый MSC обеспечивает обслуживание подвижных абонентов, расположенных в пределах определенной географической зоны. MSC управляет процедурами установления вызова и маршрутизации. Для телефонной сети общего пользования (PSTN) MSC обеспечивает функции сигнализации по протоколу SS N 7, передачи вызова или другие виды интерфейсов в соответствии с требованиями конкретного проекта.
BSS – оборудование базовой станции, состоит из контроллера базовой станции (BSC) и приемо-передающих базовых станций (BTS). Контроллер базовой станции может управлять несколькими приемо-передающими блоками. BSS управляет распределением радиоканалов, контролирует соединения, регулирует их очередность, обеспечивает режим работы с прыгающей частотой, модуляцию и демодуляцию сигналов, кодирование и декодирование сообщений, кодирование речи, адаптацию скорости передачи для речи, данных и вызова, определяет очередность передачи сообщений персонального вызова.
В цифровых сотовых систем подвижной связи стандарта GSM рассматриваются интерфейсы трех видов: для соединения с внешними сетями; между различным оборудованием сетей GSM; между сетью GSM и внешним оборудованием.
Присоединение GSM сотовых операторов к телефонной сети общего пользования (ТФОП/PSTN). Соединение с телефонной сетью общего пользования осуществляется MSC по линии связи 2 Мбит/с в соответствии с системой сигнализации SSN7. Электрические характеристики 2 Мбит/с интерфейса соответствуют Рекомендациям МККТТ G.732.
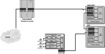
Типовая схема присоединения GSM (MSC) сотового оператора к AXE-10 телефонной сети общего пользования (ТФОП) соответствует рисунку 2.1.
ЕТ155, SDH AXE/CME20 Ericsson терминал. В качестве оптимального решения для присоединения сети связи GSM оператора к сети электросвязи общего пользования компанией "РИМКО XXI" предлагается блок ЕТ 155 Ericsson, который соответствует рисунку 2.2.
ET155 Ericsson является 155 Мб/с STM-1 для 63 x 2 Мб/с потоков PDH (Плезиохронной цифровой иерархической системы) терминалом обмена SDH (Синхронной цифровой иерархической системы) поддерживающим стандарт ETSI (Системы ввода с разделением времени) и интегрированным в AXE/CME20. Блок ET155 является полностью интегрированной частью АХЕ/CME20, поэтому кроме физической интеграции в АХЕ/CME20, производится управление и техобслуживание также системой АХЕ/CME20. В результате этого, техническое обслуживание всей транспортной иерархии PDH и SDH, можно произвести из станции.

Рисунок 2.1 – Схема присоединения MSC (GSM-MSC) к ТФОП

Рисунок 2.2 – ET155, SDH AXE/CME20 терминал
Присоединение между различным оборудованием сетей GSM. Интерфейс между MSC и BSS (А-интерфейс) обеспечивает передачу сообщений для управления BSS, передачи вызова, управления передвижением. А-интерфейс объединяет каналы связи и линии сигнализации. Последние используют протокол SS N7 МККТТ.
В соответствии с рисунком 2.3, ET155 AXE/CME 20 может быть применен в архитектуре GSM сети:
- BTS (Base Transceiver System) – BSC (Base Station Controller);
- BSC – Mobile Services Switching Centre (MSC);
- MSC – TE (Transit Exchange);
- MSC – ISC (International Switching Centre);
- MSC – LE (Local Exchange).

Рисунок 2.3 – Применение ET155,SDH AXE/CME20 терминала в GSM сети
Преимущества Цифровой коммутационной системы AXE-10. Преимущества предложенного решения:
- сильно упрошенная архитектура GSM сети – телекоммуникационная система AXE/CME20 напрямую подсоединяется к SDH сети или к телекоммуникационной системе AXE ТФОП;
- значительное уменьшение аппаратных средств – 63 терминала, емкостью 2048 кбит/с, плюс магазины и шкафы заменяются на один блок ЕТ155;
- 126 (63 x 2) электрических кабелей емкостью 2048 кбит/с заменяются на два оптических, либо два электрических кабеля;
- большой цифровой кросс (DDF) заменяется на небольшой DDF, или на оптический кросс ODF для установления двух электрических, либо оптических связей;
- не требуются SDH мультиплексоры;
- ET155 связывает каналы для нагрузки между STM-1 155Мбит/с и Групповой Ступенью (ГИ) станции AXE/СME20;
- ET155 передает 63 сигнала 2048кбит/с преобразующихся в контейнерах SDH.
Базовая станция Ericsson RBS 2206. Базовая станция – RBS 2206 размещается внутри зданий и поддерживает до двенадцати трансиверов на один шкаф. Она может быть сконфигурирована с одним, двумя или тремя секторами в одном шкафу. RBS 2206 поддерживает повышенные скорости передачи данных для системы EDGE.
Основные характеристики:
- полная поддержка режима передачи данных: 14,4 кбит/с, HSCSD, GPRS;
- поддержка EDGE на 12 трансиверов во всех временных интервалах;
- поддержка всех речевых кодеков: HR, FR и EFR;
- расширенный радиус действия – 121 км;
- дуплексор и поддержка TMA для всех конфигураций;
- поддержка программно задаваемого увеличения мощности;
- четыре порта передачи, поддерживающие скорость до 8 Мбит/с.
Технические характеристики базовой станции RBS 2206 приведены в таблице 2.1.
Таблица 2.1 – Технические характеристики станции RBS 2206
Диапазон частот Передача Прием | GSM 900 925-960 МГц 880-915 МГц | GSM 1800 1805-1880 МГц 1710-1785 МГц |
| Размеры | 1900 х 600 х 400 мм | |
| Вес | 230 кг при полном оснащении | |
| Мощность, поступающая в фидер антенны | 35 Вт/45,5 дБм (GSM 900) 28 Вт/44,5 дБм (GSM 1800) | |
| Чувствительность приемника | -110 дБм (без TMA) | |
| Электропитание | 120-250 В переменного тока, 50/60 Гц -48 - -72 В постоянного тока, +20,5 - +29 В постоянного тока | |
| Диапазон рабочих температур | +5°С - +40°С | |
Сеть передачи данных Mini-Link Е. Применение Mini-Link Е в сети сотовой связи ТОО "GSM Казахстан". MINI-LINK E и E Micro обеспечивают микроволновую передачу точка-точка с пропускной способностью от 2 до 34+2 (17х2) Мбит/с в частотных диапазонах от 7 до 38 ГГц. Ниже дана краткая характеристика этих систем.
MINI-LINK E содержит модуль доступа, расположенный в помещении, и наружный радиоблок с антенной. Такая конструкция обеспечивает гибкость и достаточную пропускную способность, как на маленьких, так и на больших многотерминальных сайтах. Терминалы могут быть сконфигурированы для различных типов сетей: в виде звезды, дерева или кольца. Для обеспечения резервирования они могут быть сконфигурированы либо как системы 1+1, либо в виде кольца.
Мобильные сети связи в настоящее время являются наиболее обычной сферой использования MINI-LINK E и E Micro, в соответствии с рисунком 2.4, где они развертываются в сетях радиосвязи с невысокой производительностью.

Рисунок 2.4 – Пример мобильной сети, в которой аппаратура MINI-LINK осуществляет связь базовых станций с центрами коммутации
В соответствии с рисунком 2.5, производится использование аппаратуры MINI-LINK E и E Micro в сетях различной топологии.
Несколько терминалов MINI-LINK E могут быть интегрированы в один общий модуль доступа, в соответствии с рисунком 2.6. Это позволяет сделать чрезвычайно компактными сайты сети, а также эффективно распределить между разными терминалами такие ресурсы, как мультиплексоры, интерфейсы служебных каналов и системы поддержки.
Состав оборудования многотерминальных сайтов соответствует рисунку 2.7.
Маршрутизация трафика и его переадресация в пределах сайта могут выполняться при минимальном количестве внешних кабелей. Маршрут трафика задается с помощью программного и конфигурируется во время установки станции. Терминал может быть сконфигурирован как нерезервируемый (1+0) или резервируемый (1+1); резервирование может быть также обеспечено сетью кольцевого типа. Каждый терминал обеспечивает скорость трафика до 17x2 (34+2) Мбит/с.
Конфигурация терминалов. Нерезервируемый терминал (1+0). Терминал типа 1+0 содержит как минимум:
- один радиоблок (RAU);
- одну антенну;
- один магазин модуля доступа (AMM 1U);
- один блок модема (MMU);
- один соединяющий коаксиальный кабель.
Для трафика со скоростью 8x2, 17x2 и 4x8 Мбит/с требуется также блок ключей/мультиплексоров (SMU). В магазин модуля доступа может быть также добавлен блок служебных каналов (SAU), что обеспечивает дополнительные интерфейсы для управления и аварийной сигнализации, служебных каналов и других специфических потребностей клиента.

Рисунок 2.5 – Пример топологии сети

Рисунок 2.6 – Многотерминальный сайт MINI-LINK E
Резервируемый терминал (1+1). Терминал типа 1+1, как минимум, включает:
- два радиоблока (RAU);
- две антенны или одну антенну и делитель мощности;
- один магазин модуля доступа (AMM) с двумя MMU и одним SMU;
- два соединительных коаксиальных кабеля.
Радиоблоки могут иметь индивидуальные антенны или могут быть подключены к общей антенне. Если используется одна общая антенна, то два радиоблока подключаются волноводами к делителю мощности, установленному на антенне, имеющей одну поляризацию.
Автоматическое переключение может использоваться как при горячем, так и при рабочем резервировании (с разносом по частоте). Переключение приемников в системах с разносом по частоте обеспечивает бесперебойную передачу данных.
При горячем резервировании работает один передатчик, а второй находится в резерве (он не передает сигнала, но находится в состоянии постоянной готовности к передаче и включается при сбое в работе активного передатчика). Оба радиоприемника принимают сигналы. MMU выбирает наилучший сигнал в зависимости от приоритета неисправностей, подает его сначала на SMU для демультиплексирования, а затем к внешнему оборудованию.

Рисунок 2.7 – Состав оборудования многотерминального сайта
Компоненты системы MINI-LINK E. MINI-LINK E состоит из располагаемого внутри помещения модуля доступа, находящегося снаружи радиоблока с антенной и монтажного комплекта. Радиоблок соединяется с внутренним оборудованием одним коаксиальным кабелем и может комбинироваться с разнообразными антеннами для раздельной и совместной установки.
Радиоблоки независимы от пропускной способности трафика, т.е. рабочая частота определяется только радиоблоком. Она устанавливается на сайте. Это осуществляется с помощью управляющего программного обеспечения или переключателя на находящемся в помещении модеме.
Радиоблок имеет защищенный от ат