Технология размещения базовых станций связи стандарта DCS-1800
Среди современных систем мобильной радиосвязи наиболее стремительно развиваются системы сотовой радиотелефонной связи. Их внедрение позволило решить проблему экономического использования выделенной полосы радиочастот путем передачи сообщений на одних и тех же частотах и увеличить пропускную способность телекоммуникационных сетей. Эти системы построены в соответствии с сотовым принципом разделения частот по территории обслуживания и предназначены для обеспечения радиосвязью большого числа абонентов с выходом в ТфОП.
Использование современных информационных технологий позволяет обеспечить абонентам таких сетей высокое качество речевых сообщений, надежность и конфиденциальность связи, защиту от несанкционированного доступа в сеть и еще очень широкий набор иных услуг. В настоящее время в сфере радиосвязи с подвижными объектами широко используются как аналоговые (NMT-450, NMT-900, AMPS и др.), так и цифровые стандарты (GSM-900, GSM-1800, GSM-1900, D-AMPS, и др.). Наиболее успешно развиваются мобильные технологии, связанные со стандартом GSM. По отношению к другим цифровым стандартам сотовых систем подвижной связи GSM обеспечивают лучшие энергетические и качественные характеристики связи, самые высокие характеристики безопасности и конфиденциальности связи. Стандарт GSM, кроме того, предоставляет ряд услуг связи, которые не реализованы в других стандартах сотовой связи.
Целью данного дипломного проекта является проектирование фрагмента сотовой системы связи стандарта DCS-1800 оператора «Астелит» и оценка электромагнитной совместимости данной системы.
1. Современные стандарты сотовых сетей связи
1.1 Описание и основные характеристики стандарта GSM
Использование в странах Западной Европы целого ряда аналоговых стандартов сотовой связи, не совместимых друг с другом и имеющих значительные недостатки в сравнении с цифровыми стандартами, привело к необходимости разработки единого общеевропейского цифрового стандарта сотовой связи GSM-900. Он обеспечивает высокое качество и конфиденциальность связи, позволяет предоставить абонентам большой набор услуг. Стандарт допускает возможность организации автоматического роуминга. По состоянию на июль 1999 г. доля абонентов стандарта GSM-900 составляла: в мире примерно 43%, в Западной Европе более 85%.
Стандарт GSM известен также под названиями DCS (Digital Cellular System) или PCN (Personal Communications Network), а также модификация стандарта GSM-900 для диапазона 1800 МГц: стандарт GSM-1800. Стандарт GSM включает в себя наиболее полный набор услуг по сравнению с другими.
Сотовые сети стандарта GSM изначально проектируются как сети большой емкости, рассчитанные на массового потребителя и предназначенные для предоставления широкого набора услуг абонентам при пользовании связью как внутри зданий, так и на улице, в том числе при передвижении на автомобиле (1–3).
В стандарте GSM используется TDMA, что позволяет на одной несущей частоте разместить одновременно 8 речевых каналов. В качестве речепреобразующего устройства используется речевой кодек RPE-LTP с регулярным импульсным возбуждением и скоростью преобразования речи
13 кбит/с.
Для защиты от ошибок, возникающих в радиоканалах, применяется блочное и сверточное кодирование с перемежением. Повышение эффективности кодирования и перемежения при малой скорости перемещения MS достигается медленным переключением рабочих частот в процессе сеанса связи со скоростью 217 скачков в секунду (2, 3).
Для борьбы с интерференционными замираниями принимаемых сигналов, вызванными многолучевым распространением радиоволн в условиях города, в аппаратуре связи используются эквалайзеры, обеспечивающие выравнивание импульсных сигналов со среднеквадратическим отклонением времени задержки до 16 мкс. Система синхронизации оборудования рассчитана на компенсацию абсолютного времени задержки сигналов до 233 мкс. Это соответствует максимальной дальности связи 35 км (максимальный радиус соты).
Для модуляции радиосигнала применяется спектрально-эффективная гуссовская частотная манипуляция с минимальным частотным сдвигом (GMSK). Обработка речи в данном стандарте осуществляется в рамках системы прерывистой передачи речи DTX (Discontinuous Transmission).
В стандарте GSM достигается высокая степень безопасности передачи сообщений; осуществляется шифрование сообщений по алгоритму шифрования с открытым ключом (RSA).
В целом, система связи, действующая в стандарте GSM рассчитана на ее использование в различных сферах. Она предоставляет пользователям широкий диапазон услуг и возможность применять разнообразное оборудование для передачи речевых сообщений и данных, вызывных и аварийных сигналов; подключаться к телефонным сетям общего пользования (PSTN), сетям передачи данных (PDN) и цифровым сетям с интеграцией служб (ISDN).
Ниже приведены основные характеристики стандарта GSM (4, 5):
- частота передачи MS и приема BTS, МГц 890–915;
- частота приема MS и передачи BTS, МГц 935–960;
- дуплексный разнос частот приема и передачи, МГц 45;
- скорость передачи сообщений в радиоканале, кбит/c 270,833;
- скорость преобразования речевого кодека, кбит/c 13;
- ширина полосы канала связи, кГц 200;
- максимальное количество каналов связи 124;
- вид модуляции GMSK;
- индекс модуляции BT=0,3;
- ширина полосы пропускания предмодуляционного
гаусовского фильтра, кГц 81,2;
- количество скачков по частоте в секунду 217;
- максимальный радиус соты, км до 35;
- схема организации каналов комбинированная TDMA/FDMA;
- требуемое отношение несущая / интерференция 9 дБ.
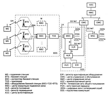
Оборудование сетей GSM включает в себя подвижные (радиотелефоны) и базовые станции, цифровые коммутаторы, центр управления и обслуживания, различные дополнительные системы и устройства. Функциональное сопряжение элементов системы осуществляется с помощью ряда интерфейсов. На структурной схеме (рисунок 1.1) показано функциональное построение и интерфейсы, принятые в стандарте GSM (5).

Рисунок 1.1 – Структурная схема сети стандарта GSM
MS состоят из оборудования, которое предназначено для организации доступа абонентов GSM к существующим сетям связи. В рамках стандарта GSM приняты пять классов MS: от модели 1-го класса с выходной мощностью до 20 Вт, устанавливаемой на транспортных средствах, до модели 5-го класса с максимальной выходной мощностью до 0,8 Вт (таблица 1.1). При передаче сообщений предусматривается адаптивная регулировка мощности передатчика, обеспечивающая требуемое качество связи. MS и BTS независимы друг от друга.
Таблица 1.1 – Классификация подвижных станций стандарта GSM
| Класс модели | Максимальная мощность передатчика, Вт | Допустимые отклонения, дБ |
| 1 | 20,0 | 1,5 |
| 2 | 8,0 | 1,5 |
| 3 | 5,0 | 1,5 |
| 4 | 2,0 | 1,5 |
| 5 | 0,8 | 1,5 |
Подобные работы: