Применение электрической энергии в сельском хозяйстве
Главной целью энергетической политики нашей страны является полное и надежное обеспечение всех отраслей экономики и населения энергоносителями с учетом соблюдения экологических требований , а также максимально эффективное использование топливо – энергетических ресурсов и производственного потенциала топливо – энергетического комплекса (ТЭК) страны. В ближайшие годы будет проведена модернизации основных производственных фондов белорусской энергосистемы, создана нормативна база для развития и функционирования электроэнергетической отрасли в рыночных условиях. Что касается внешнеэкономической деятельности энергетической политики Беларуси, то она предусматривает использование географического положения страны, дальнейшее развитие сети транспорта энергоресурсов с сопредельными странами, расширения межгосударственных электрических связей Беларуси с европейскими странами. Стратеги развития энергетики Беларуси предусматривает совершенствование топливо – энергетического баланса страны исходя из необходимости замещения монопольного вида топлива – природного газа. Планируется снижение его доли в топливо - энергетическом балансе республики за счет вовлечения в баланс угля, ядерной энергии и собственных энергоресурсов. Министерство энергетики Беларуси проводит постоянную работу с государствами–поставщиками и государствами-транзитерами топливо – энергетических ресурсов по направлениям, способами и маршрутами поставок, развития межгосударственных магистральных систем нефте -, газо – и электроснабжения, обеспечивающим альтернативные варианты поставок энергоресурсов, а также увеличение объемов их транзита через территорию республики. Это работа ведется как на политическом уровне, так и на уровне крупных энергетических компаний. Развивается система подземных хранилищ природного газа. Для реализации планов в республике приняты необходимые нормативные правовые акты.
Министерством энергетики уделяется самое пристальное внимание вопросу защиты окружающей среды и социальной ответственности.
Реализация комбинированных схем выработки энергии с применением парогазовых технологий;
Применение мероприятий технологического характера по подавлению образования оксидов азота;
Модернизация оборудования ТЭС и котельных;
Максимальное внедрение оборотных схем водопользования и схем повторного использования очищенных стоков в технологических циклах;
Сокращения водопотребления и предотвращение загрязнения водоемов организациями энергетического комплекса;
Приборный контроль топочного режима тепло - источников, выбросов и сбросов загрязняющих веществ.
Развитие белорусской энергетики осуществляется в соответствии с Концепцией энергетической безопасности. Для ее реализации в ближайшей перспективе разработана и реализуется программа модернизации производственных фондов энергосистемы, энергоснабжения и увеличения использования местных топливо - энергетических ресурсов. Уже сегодня модернизируются действующие тепловые электростанции и троятся новые крупные энергоисточники с применением новейших, главным образом, парогазовых, технологий, а также небольшие ТЭЦ на промышленных предприятиях. Начаты работы по сооружению каскадов гидроэлектростанций на основных реках Беларуси, общая мощность которых к 2020 году составит более 200 МВт.
В ближайшее десятилетия будет продолжено строительство энергоисточников, работающих на местных видах топлива, активизируется использование возобновляемых источников энергии, а также строительство и ввод в эксплуатацию атомной электростанции мощностью около 2000 МВт.
Модернизация энергетики, реализация энергоэффективных проектов в других отраслях экономики позволит боле полно использовать имеющийся у нас потенциал энергоснабжения и снизить энергоемкость ВВП к 2010 году на 31% , 2015 году – на 50 % и к 2020 году – на 60% от уровня 2005 года. В результате по уровню энергоемкости ВВП республика максимально приблизиться к аналогичному показателю развитых стран, который в настоящее время в 2,5 – 3 раза ниже (0,24 кг у. т./доллар США), чем в Беларуси.
1. Краткая характеристика объекта
Животноводческие фермы предназначены для содержания скота. Современные животноводческие фермы – крупные специализированные предприятия, включающие сооружение основного и вспомогательного назначения. Характерной особенностью действующих и вновь строящийся животноводческих ферм является комплексная механизации и автоматизация основных и вспомогательных операций производственных процессов. Животноводческая ферма по условиям электробезопасности относятся к помещениям с повышенной опасностью. Чтобы обеспечить безопасность обслуживающего персонала и животных нужно надежно заземлять все металлические части электрических установок которые могут оказаться под напряжением с выше 42В. Систематически необходимо проверять надежность заземления корпусов электродвигателей, пусковой, защитной и регулирующей аппаратуры сопротивление заземляющего устройства не должна превышать 40м.
Помещение с повышенной опасностью поражения электрическим током характеризуется наличием в них одного из следующих условий:
1. Сырость, при которой относительная влажность длительно превышает 75%, но ниже 100%;
2. Полы со сравнительно высокой, удельной электропроводимостью, например:
Металлические, земляные, железобетонные, кирпичные и т.д.;
3. Высокая температура длительно превышающая 300С;
4. Возможность одновременного прикосновения человека к заземленным конструкциям.
2. Требования ПУЭ к внутренним проводам
Электропроводкой называется совокупность проводов и кабелей с относящемся защитными конструкциями и деталями установленными в соответствии с ПУЭ.
Электропроводки различаются на следующие виды:
1. Открытая электропроводка – проложенная по поверхности стен, потолку, по фермам и другим строительным элементам зданий и сооружений, по опорам и т.п.
При отрытой электропроводке применяются следующие прокладки проводов и кабелей, непосредственно по поверхности стен, потолков, на струнах, тросах, изоляторах, в трубах, коробках, гибких металлических рукавах на лодках, в электрических плинтусах и наличниках свободной поверхности и т.п. открытая, электропроводка может быть стационарной, передвижной и переносной.
2. Скрытая электропроводка – проложенная в нутрии конструктивных элементах зданий и сооружений (в стенах, полах, фундаментах, перекрытиях), а также по перекрытиям в подготовке пола, не посредственно под съемным полом.
При скрытой электропроводке применяются следующие способы прокладки проводов и кабелей: в трубах, в гибких металлических рукавах, коробках, в замкнутых каналах и пустотах конструкциях, в заштукатуриваемых бороздах, подштукатуренной.
При прокладке проводов и кабелей в трубах, коробках, гибких металлических рукавах и замкнутых каналах должны проводится при помощи оприсовки, пайки или с зажимом, должен быть предусмотрен запас провода обеспечивающий возможность повторного соединения, отвлетления или присоединения места соединения и отвлетления проводов и кабелей должны быть доступны для осмотра и ремонта, и недолжно быть механических усилий натяжения.
Электропроводка должна соответствовать условиям окружающей среды, назначению и ценности сооружений их конструкций и архитектурным особенностям.
Выбор видов проводки, выбор проводов и кабелей и способа их прокладки следует осуществлять в соответствии с табличками ПУЭ. При наличии одновременно двух и более условий характеризующих окружающую среду, электропроводка должна соответствовать всем этим условиям.
3. Выбор марки проводов, их сечения и способы прокладки
Электрическая проводка должна соответствовать условиям окружающей среды, назначению и ценностей сооружения, их конструкции и архитектурным особенностям. При выборе вида электропроводки и способа прокладки проводов и кабелей должны учитываться требования электрической безопасности и пожарной безопасности. Выбор видов электрической проводки, выбор проводов и кабелей и способа их прокладки следует осуществлять в соответствии с таблицами ПУЭ. При наличии одновременно двух и более условий, характеризующих окружающую среду электропроводка должна соответствовать всем этим условиям. Оболочки и изоляция проводов и кабелей, применяемых в электрических проводах должны соответствовать способу прокладки и условиям окружающей среды. Изоляции, кроме того, должна соответствовать номинальному напряжению сети. Нулевые рабочие проводки должны иметь изоляцию равноценную изоляции фазных проводников. В производственных нормальных помещениях допускается использование стальных труб и тросов открытых электрических проводок.
Поскольку животноводческая ферма является производственным помещениям – принимаем скрытую электрическую проводку в трубах, прокладываем провод марки АПВ, четыре провода в трубе.
Задачей расчета электрических проводок является выбор сечения проводников, при этом сечение должно быть минимальным и удовлетворять следующим требованиям:
1. допустимому току;
2. электрической защите;
3. допустимым потерям напряжения;
4. механической прочности.
В отношении механической прочности выбор сечения сводится: для стационарных электрических установок, кабелей и изолированного провода, для силовых и осветительных сетей должны быть: медные 1,5 мм2 , алюминиевые 2,0 мм2 .
Сечение провода выбирается по допустимым токовым нагрузкам по формуле:
I доп. ≥ I н. дв. (4.1)
где: I доп. - длительный допустимый ток для данного сечения провода (принимается по таблице ПУЭ), (А).
I н. дв.- номинальный ток электрического двигателя, (А).
Диаметр трубы в зависимости от сечения провода ми количества, принимаем по таблицам ПУЭ. Результаты расчета и выбора марки проводов, их сечения, способа прокладки заносим в таблицу (4.1).
Таблица (4.1)
№ п/п | I н.дв., (А) | Марка количества, сечения провода | I доп., (А) | Способ прокладки | ΔU,% |
| 1 | 17,7 | АПВ4х2,5 | 19 | Т∅21 | 0,8 |
| 2 | 7,9 | АПВ4х 2 | 15 | Т∅15 | 1,6 |
| 3 | 12,1 | АПВ4х 2 | 15 | Т∅15 | 3,2 |
| 4 | 10,5 | АПВ4х 2 | 15 | Т∅15 | 1,3 |
| 5 | 8,5 | АПВ4х 2 | 15 | Т∅15 | 2,7 |
Выбранное сечение провода электрической сети при проверке по потери напряжения, необходимо исходить из того, чтобы отклонения напряжения для присоединения к этой сети электрических приемников не выходило за пределы допустимого.
ПУЭ допускает следующие приделы отклонения напряжения на зажимах токов приемников:
- для ламп освещения жилых зданий, аварийного освещения и наружного, выполненного светильниками, + -5%.
- для ламп рабочего освещения промышленных предприятий и общественных зданий, а так же прожекторных установок наружного освещения + 5%, -2,5%.
- для электрических двигателей + - 5%, в отдельных случаях для электрических двигателей допускается отклонения выше номинального до + - 10%.
Исходя из допустимых величин отклонения напряжения, можно определить величину допустимой потери напряжения в сети. Она должна быть такой, чтобы отклонения напряжения на зажимах токоприемников не превышали указанных выше значений.
Потеря напряжения в цепи трехфазного тока напряжением до 1000В, небольшой протяженности, выполненной медными или алюминиевыми проводами, может быть определена по упрощенным формулам:
- при нагрузке в конце линии:
ΔU=
(4.2)
- при нагрузках присоединенных по длине линии:
ΔU=
(4.3)
где:
𝜌 – расчетная мощность на участке, (Вт).
𝑙 – длинна участка, (М).
γ – удельная электрическая проводимость провода, (м/Ом · мм2).
U – напряжение сети, (В).
S – сечение провода, (мм2).
Рассчитываем допустимую потерю напряжения для одиночных двигателей при нагрузки в конце линии.
Рассчитываем потерю напряжения для φ = 34,5; 1-го двигателя.
ΔU1 = 1000 · Р1 · 𝑙1/U1 · φ1 · S1 = 1000 · 7,5 · 15/380 · 34,5 · 2,5 = 3,4 В
ΔU1 = 3,4 · 100/380 = 0,8%
Рассчитываем потерю напряжения для 2-го двигателя.
ΔU2 = 1000 · Р2 · 𝑙2/U2 · φ2 · S2 = 1000 · 4,0 · 20/380 · 34,5 · 2 = 6,1 В
ΔU2 = 6,1 · 100/380 = 1,6%
Рассчитываем потерю напряжения для 3-го двигателя.
ΔU3 = 1000 · Р3 · 𝑙3/U3 · φ3 · S3 = 1000 · 5,5 · 30/380 · 34,5 · 2 = 12,5 В
ΔU3 = 12,5 · 100/380 = 3,2%
Рассчитываем потерю напряжения для 4-го двигателя.
ΔU4 = 1000 · Р4 · 𝑙4/U4 · φ4 · S4 = 1000 · 5,5 · 25/380 · 34,5 · 2 = 5,2 В
ΔU4 = 5,2 · 100/380 = 1,3%
Рассчитываем потерю напряжения для 5-го двигателя.
ΔU5 = 1000 · Р5 · 𝑙5/U5 · φ5 · S5 = 1000 · 4,0 · 35/380 · 34,5 · 2 = 10,6 В
ΔU5 = 10,6 · 100/380 = 2,7%
4. Расчет и выбор аппаратов защиты (предохранители или автоматы)
Аппарат защиты – предохранитель
Предохранители предназначены для защиты электрических цепей от токов короткого замыкания и длительных токов перегрузок характеризуются номинальными токами плавкой вставки предохранителей.
Номинальным токам плавки вставки называют ток при котором она должна работать в течении продолжительного времени а номинальным током предохранителя – наибольший из номинальных токов плавок вставок используемых в данном предохранителе. В случаи прохождения через плавкую вставку предохранителя тока превышающего номинальный ток, вставка перегорает и разрывает электрическую цепь, отключая защитный участок от остальной цепи электроустановки. В электроустановках напряжением до 1000В широко перемещаются предохранители типов: ПР2, НПH, ПН2.
Плавкие вставки предохранителей для защиты одиночных двигателей, должны отвечать двум требованиям:
1. Не должны перегорать при запуске двигателя;
2. Обязательно должны перегорать при возникновении короткого замыкания.
Чтобы плавки вставки не перегорали при запуске двигателя, их выбирают по формуле:
I пл.вст. ≥ I н. дв. · Ki/α (5.1)
где:
I н.дв. – номинальный ток двигателя указывается в техническом паспорте, А;
Ki – кратность пускового тока указывается в каталоге;
α - условия запуска двигателя, применяется в зависимости технологичного процесса.
Чтобы не было ложных срабатываний групповой плавки вставки предохранителя необходимо соблюдать два условия:
1. I гр.пл.вст. ≥
(5.2)
2. I гр.пл.вст. ≥
(5.3)
где:
– сумма номинальных токов двигателей, (А);
– сумма номинальных токов двигателя, за исключением двигателя у которого больший пусковой ток в группе, (А);
– пусковой ток двигателя, у которого он больше в группе, (А).
По результатам расчета выбираем ближайшую, большую, стандартную плавкую вставку.
Результаты расчета и выбора плавок вставок заносим в таблицу (5.1).
Таблица (5.1)
№ п/п | I н., А | Ki | α | I расчет, А | Тип предохранителей | I пл.вст.,А |
| 1 | 17,7 | 7,5 | 2,5 | 53,1 | ПН2 - 100 | 60 |
| 2 | 7,9 | 7,0 | 2,5 | 22,12 | НПН - 60 | 25 |
| 3 | 12,1 | 6,0 | 2,5 | 29,4 | ПН2 - 100 | 60 |
| 4 | 10,5 | 6,0 | 2,0 | 31,5 | НПН - 60 | 40 |
| 5 | 8,5 | 6,0 | 2,5 | 20,4 | ПН2 - 100 | 30 |
| I гр.пл.вст. | 27,42 | ПН2 - 100 | 30 | |||
Производим расчет и выбор плавких вставок предохранителя для каждого двигателя:
Для первого двигателя:
I пл.вст ≥ ![]()
I пл.вст1 ≥
;
I пл.вст1 ≥ 53,1 А
Принимаем I пл.вст1 = 60А
Тип предохранителя: ПН2 – 100
Для второго двигателя:
I пл.вст2 ≥
;
I пл.вст2 ≥ 22,12 А
Принимаем I пл.вст2 = 25А
Тип предохранителя: НПН – 60
Для третьего двигателя:
I пл.вст3 ≥
;
I пл.вст3 ≥ 29,4 А
Принимаем I пл.вст3 = 30А
Тип предохранителя: ПН2 – 100
Для четвертого двигателя:
I пл.вст4 ≥
;
I пл.вст4 ≥ 31,5 А
Принимаем I пл.вст4 = 40А
Тип предохранителя: НПН – 60
Для пятого двигателя:
I пл.вст5 ≥
; I пл.вст5 ≥ 20,4 А
Принимаем I пл.вст5 = 20А
Тип предохранителя: НП2 – 100
Определяем групповую плавкую вставку предохранителя:
1) I гр.пл.вст. ≥ ![]()
I н.дв1 + I н.дв2 + I н.дв3 + I н.дв4 + I н.дв5 = 17,7+7,9+12,1+10,5+8,5 = 56,7 (А)
2) I гр.пл.вст. ≥ ![]()
I пуск1 = I Н.ДВ1 · α1 = 17,7 · 2,5 = 44,25 А
I пуск2 = I Н.ДВ2 · α2 = 7,9 · 2,5 = 19,75 А
I пуск3 = I Н.ДВ3 · α3 = 12,1 · 2,5 = 30,25 А
I пуск4 = I Н.ДВ4 · α4 = 10,5 · 2,0 = 21 А
I пуск5 = I Н.ДВ5 · α5 = 8,5 · 2,5 = 21,25 А
I гр.пл.вст. ≥
³
= 27,42 А
Принимаем I гр.пл.вст. = 30 А
Тип предохранителя ПН2 – 100
5. Проверка эффективности защиты
Стандартная плавка вставка проверяется на эффективность защиты.
Защита будет эффективна если:
I к.з. ≥ 3 I пл.вст. (6.1)
а для пожароопасных помещений:
I к.з. ≥ 4 I пл.вст. (6.2)
I к.з. =
(6.3)
где:
I к.з.- ток короткого замыкания, (А);
.- фазное напряжение в сети, (В);
. – сопротивление петли "фаза - ноль", (Ом).
Пусть сопротивление "фаза - ноль" имеет следующие значения:
Rn1 = 0,5 (Ом);
Rn2= 1,1 (Ом);
Rn3 = 1,5 (Ом);
Rn4 = 1,1 (Ом);
Rn5 = 1,0 (Ом);
Rобщ. = 0,5 (Ом)
Вычисляем токи однофазных коротких замыканий:
I к.з.1 =
=
= 440 А
I к.з.2 =
=
= 220 А
I к.з.3 =
=
= 146,6 А
I к.з.4 =
=
= 200 А
I к.з.5 =
=
= 220 А
I к.з.общ. =
=
= 440 А
Проверка эффективности защиты для электродвигателя:
I к.з. ≥ 4 I пл.вст.
I к.з.1 = 440 ³ 4 · 60;
440 > 240
Защита эффективна
I к.з.2 = 220 ³ 4 · 25;
220 > 100
Защита эффективна
I к.з.3 = 146,6 ³ 4 · 60;
146,6 < 240
Защита не эффективна. Для эффективности защиты необходимо выполнить следующие условия: уменьшить длину провода, или увеличить сечение, или алюминиевый провод заменить на медный.
I к.з.4 = 200 ³ 4 · 40;
200 > 160
Защита эффективна
I к.з.5 = 220 ³ 4 · 30;
220 > 120
Защита эффективна
I к.з.общ. = 440 ³ 4 · 30;
440 > 120
Защита эффективна
6. Выбор силового шкафа
Для распределения электроэнергии в цехах сельскохозяйственных предприятий, применяются силовые шкафы разных конструкций и схем, силовые шкафы серии СП62 и СПУ62, комплектующимися плавками вставками предохранителями типа НПH – 60 и ПН2, они выполнены для трехфазных сетей с глухо – заземленной нейтрально. Силовые шкафы с двумя рубильниками на вводе имеют механическую блокировку, исключающую одновременное включение обоих рубильников. Длительно допустимая нагрузка шкафов серии СП – 62 равна номинальному току вводного аппарата, а СПУ62 – 70%, этой величины. Силовые шкафы выбираются:
1. По способу установки:
- на полу;
2. По роду защиты от воздействия окружающей среды:
- СП – IP22, СПУ – IР54
По вводу проводов в трубах:
- сверху, через съемную крышку;
- снизу, через съемную крышку;
- для установленного на полу;
- через свободный проем, который при необходимости уплотняется по периметру;
4. По номинальному напряжению в сети;
5. По номинальному току;
6. По числу групп и токов нагрузкам на группе.
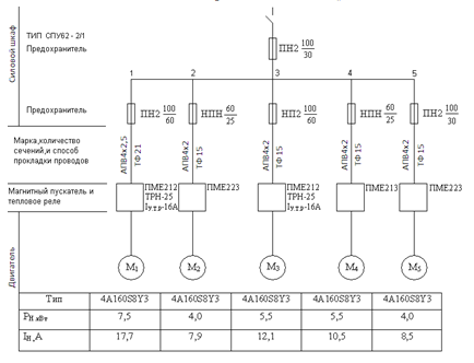
Исходя из этих условий, выбираем силовой шкаф типа СПУ62 - 2/1, UH= 400B, IH = 250A, число групп и токовая нагрузка на группы 2х60+3х100.
7. Выбор магнитных пускателей и тепловых реле
Магнитный пускатель – низковольтный коммутационный аппарат, предназначенный для местного и дистанционного управления электродвигателям, также осуществляет нулевую защиту, то есть при исчезновении напряжения или его снижения на 40 – 60% от номинального значения магнитная сила пускателя отпадает, силовые контакты размыкаются.
В комплекте с тепловым реле пускатели выполняют защиту двигателя от перегрузки, магнитные пускатели выбирают:
По номинальному напряжению сети;
По номинальному напряжению, катушки;
По величине магнитного пускателя;
По степени защиты от окружающей среды;
По электрическому исполнению (реверсивный или нереверсивный).
Учитывая изложенное производим расчет и выбор магнитных пускателей, результаты заносим в таблицу (8.1).
Таблица (8.1)
№ п/п | PH.ДВ. кВм | Окружающая среда | Рабочая машина | Место установки | Тип магнитного пускателя | |||
| Сухое | Сырое | Пыльное | Перегрузка | Реверс | ||||
| 1 | 7,5 | + | + | - | В шкафу | ПМЕ – 212 | ||
| 2 | 4,0 | + | - | + | На машине | ПМЕ – 223 | ||
| 3 | 5,5 | + | + | - | В шкафу | ПМЕ – 212 | ||
| 4 | 5,5 | + | - | + | В шкафу | ПМЕ – 213 | ||
| 5 | 4,0 | + | - | + | На машине | ПМЕ – 223 | ||
Выбор тепловых реле.
Тепловое реле применяются в комплекте с магнитными пускателями и служит для защиты электрических цепей от токов перегрузки. Установку теплового реле выбирают по формуле:
I у.т.р ≥ I н. дв. (7.1)
где:
I н.дв. – номинальный ток двигателя, А.
Выбираем по каталогу тип теплового реле и установки в нем, результаты заносим в таблицу (7.2).
Таблица (7.1)
№ п/п | IH.ДВ.,А | Перегрузка | Тип теплового реле | IУ.Т.Р.,А |
| 1 | 17,7 | + | ТРН - 25 | 16 |
| 2 | 7,9 | - | - | - |
| 3 | 12,1 | + | ТРН - 25 | 16 |
| 4 | 10,5 | - | - | - |
| 5 | 8,5 | - | - | - |
8. Разработка расчетных схем
Расчетная схема необходима для технического грамотного монтажа и эксплуатации электрооборудования. На расчетной схеме изображается: схема силового шкафа, его марка, число групп, типы предохранителей, типы магнитных пускателей, тепловое реле, и токи тепловых расцепителей. Типы двигателей их мощность и номинальный ток.

9. Разработка схемы управления. Схема управления трехсекционным электрокалорифером
Включаем автоматы (QF1,QF2), напряжение подается на сил