Свойства жидких кристаллов
Пояснительная записка
Элективный курс «Жидкие кристаллы и их настоящее» предназначен для углубленного изучения свойств и применения ЖК, учащимися 11 класса. Все чаще мы стали встречаться с термином «жидкие кристаллы». Мы все часто с ними общаемся, и они играют немаловажную роль в нашей жизни. Многие современные приборы и устройства работают на них. К ним относятся часы, термометры дисплеи, мониторы и прочие устройства. Что же это за вещества с таким парадоксальным названием «жидкие кристаллы» и почему к ним проявляется столь значительный интерес? В наше время наука стала производительной силой, и поэтому, как правило, повышенный научный интерес к тому или иному явлению или объекту означает, что это явление или объект представляет интерес для материального производства. В этом отношении не являются исключением и жидкие кристаллы. Интерес к ним, прежде всего, обусловлен возможностями их эффективного применения в ряде отраслей производственной деятельности. Внедрение «жидких кристаллов» означает экономическую эффективность, простоту и удобство.
Цель курса:
- формирование интереса и положительной мотивации к продолжению образования и сознательному выбору профессиональной деятельности;
- формировать положительную мотивацию обучения на уроках физики;
- познакомить учащихся с ведущими разработками в области ЖК;
- активизировать познавательную деятельность школьников;
Задачи:
1. Ознакомить учащихся с основами теории жидких кристаллов;
2. повысить информационную компетентность учащихся;
3. Ознакомить с основами применения жидких кристаллов в практической деятельности человека;
4. Активизировать познавательную деятельность школьников;
Программа рассчитана на 12 часов, для физико-математического профиля. В содержание курса входят темы:
I. История ЖК
Рассказ об истории открытия этого удивительного состояния вещества. О том как о нем забыли практически на век. А так же о триумфальном возвращении.
II. Жидкие кристаллы их виды и эффекты
Здесь мы расскажем о видах и некоторых свойствах ЖК. Просмотрим научно-популярный фильм «Жидкие кристаллы».
III. Физический принцип действия устройств на жидких кристаллах.
В данном разделе будут приведены примеры подробного физического принципа действия некоторых приборов на ЖК.
IV. Жидкие кристаллы сегодня и завтра.
Здесь мы рассмотрим несколько технических идей применения жидких кристаллов, которые пока что не реализованы, но возможно в ближайшие несколько лет послужат основой создания устройств, которые станут для нас такими же привычными, какими сейчас являются транзисторные приемники.
Данный курс наиболее эффективен и необходим при освоении углубленного изучения физики. В то же время структура курса включает отдельные темы, изучаемой программы, например «физика твердого тела» «свойства жидкостей».
Содержание курса и его организационно-методическое обеспечение выстраивается таким образом, чтобы предмет учебной деятельности стимулировал развитие ряда компетентностей и формирования универсальных способностей учащихся. Ожидаемый положительный педагогический эффект курса связан с успешной самореализацией школьников в учебной деятельности и возможностью обоснованной профессиональной ориентации.
Основные формы организации учебных занятий:
- лекция учителя;
- самостоятельная работа над реферативной и теоретической частью;
- консультация с учителем;
- групповая работа по решению проблемы;
- защита работы.
Дополнительные формы обучения и учения связаны с работой над творческим проектом; самостоятельной работой с источниками в библиотеке, интернете.
Формы контроля достижений учащихся.
Работа в рамках курса оценивается комплексно. Во-первых, по форме и содержанию представленных материалов, как в письменном, так и вербальном варианте. Во-вторых, большая часть учебной деятельности происходит при непосредственном соучастии учителя, и это позволяет вести мониторинг личностного роста ученика в ходе занятий. В-третьих, групповая работа позволяет ученикам оценить друг друга при коллективно-распределенной деятельности.
Формы контроля должны быть разнообразными, чтобы можно было учесть индивидуальные учебные стили учеников и их способности.
Учебно-тематический план
Предлагается следующая последовательность изложения учебного материала:
I. Об история ЖК (2 часа).
1. История развития представления о жидких кристаллах
Исследования австрийского ученого-ботаника Рейнитцера.
Образование специфического агрегатного состояния – жидкокристаллического (плавления кристаллов некоторых веществ).
2. О формах и видах ЖК/ Структурные формы и формулы
II. Жидкие кристаллы их виды и основные свойства(6 часа).
1. Нематическая жидкость
2. Холестерическая жидкость
3.Смектическая жидкость. Просмотр фильма «»Жидкие кристаллы»
4. Работы В.К. Фредерикса и В.Н. Цветкова
5. Явления двулучепреломления - типично кристаллический эффект, состоящий в том, что скорость света в кристалле зависит от ориентации поляризации света.
Оптическая активность жидких кристаллов и их структурные свойства.
6. Групповая работа «Эффективность технических приложений жидких
кристаллов» (по работам И.Г. Чистякова, А.П. Капустина, С.А.
Бразовокого, С.А. Пикина, Л.М. Блинова и других исследователей).
III. Физический принцип действия устройств на ЖК (2 часа).
1.Жидкокристаллические телевизоры.
В микроэлектронике жидкие кристаллы привлекательны тем, что потребляют минимальную энергию, жидко - кристаллические пленки занимают миниатюрный объем.
2. Термография.
Дополнительный материал «Перстень настроения».
Секрет перстня настроения связан удивительными оптическими свойствами. Цвет камешка перстня следовал за настроением владельца, пробегая все цвета радуги от красного до фиолетового, в зависимости от изменения температуры кожи человека
IV. О перспективах применениях жидких кристаллов(3 часа).
1. Пространственно - временные модуляторы света.
Оптический микрофон.
Жидкие кристаллы, уменьшающие трение почти до нуля.
2. Обсуждение и оценивание проектов, выполненных учащимися.
Примерные темы:
- Как сделать стереотелевизор.
- Очки для космонавтов.
- Фотоаппарат, содержащий жидко - кристаллические устройства.
3. Итоговая конференция, обсуждение основных вопросов курса.
Содержание изучаемого курса
Глава I. Об- история ЖК
1.1 История развития представления о жидких кристаллах
Cо времени проведения первой Международной конференции по жидким кристаллам (ЖК), которая состоялась в 1965 г. в Кентском университете (США), связь этих систем с различными аспектами лазерной, дисплейной техники, информационных оптических технологий, термооптики, медицины, др. стала предметом оживленной полемики. Действительно, ЖК, являясь уникальной мезоморфной фазой вещества, сочетают в себе свойства как твердых тел (наличие дальнего ориентационного порядка и проявление брэгговской дифракции), так и жидкостей (проявление текучести, вязкости).
С точки зрения истории вопроса интересно, что само открытие промежуточного жидкокристаллического состояния вещества приписывается австрийскому ботанику Фридриху Рейнитцеру, который получил эфир холестерина – холестерилбензоат и обнаружил, что у этого соединения имеются две точки плавления, при которых происходят фазовые переходы разного характера. При 145.5°С структура твердого холестерилбензоата разрушалась, он превращался в мутную жидкость (теперь мы говорим - жидкий кристалл), которая при дальнейшем нагревании до 178.5 становилась прозрачной. Эти наблюдения показали, что у холестерилбензоата имеются три различные фазы: твердая, жидкокристаллическая и жидкая. Рейнитцер описал свой эксперимент в статье, опубликованной в, одном их химических журналов в 1888 г. Обращает на себя внимание необыкновенно деликатный слог письма, которое Рейнитцер написал немецкому физику Отто Леману: «Осмелюсь просить Вас исследовать более тщательно физическую изомерию двух прилагаемых веществ. Изучая эти вещества, удается наблюдать такие замечательные и прекрасные явления, что, я надеюсь, они окажутся в высшей степени интересными и для Вас…». Вскоре Леман провел систематическое исследование органических соединений и нашел, что они по своим свойствам похожи на холестерилбензоат. Каждое из соединений вело себя как жидкость по своим механическим свойствам и как кристаллическое твердое тело – по оптическим свойствам. Леман показал, что мутная промежуточная фаза – это кристаллоподобная структура и предложил для нее термин «жидкий кристалл» – Flussige Kristalle.
Затем Фридель указал, что название «жидкий кристалл» вводит в заблуждение, так как соответствующие вещества не являются ни реальными кристаллами, ни реальными жидкостями. Он предложил называть эти соединения мезоморфными и разделил их на три класса.
Соединения, имеющие свойства, схожие с мылами он назвал смектическими (толщина слоя в смектических ЖК порядка длины молекул и составляет 20 A), далее шли нематические структуры, схожие со смектиками по своим оптическим свойствам, а затем – холестерические системы (в холестерических ЖК молекулы уложены в слои толщиной около 2000A), поскольку к ним относилось большое число производных холестерина. Заметим, что сам Фридель не считал холестерические ЖК отдельным классом и рассматривал их как нематические ЖК. Так что же предсавляет из себя жидкий кристалл?
Жидкий кристалл - состояние вещества, промежуточное между жидким и твердым состояниями. В жидкости молекулы могут свободно вращаться и перемещаться в любых направлениях. В кристаллическом твердом теле они расположены по узлам правильной геометрической сетки, называемой кристаллической решеткой, и могут лишь вращаться в своих фиксированных позициях. В жидком кристалле имеется некоторая степень геометрической упорядоченности в расположении молекул, но допускается и некоторая свобода перемещения.

Рисунок I. Увеличенное изображение жидкого кристалла
Почти все жидкие кристаллы, обнаруженные на сегодняшний день, представляют собой органические соединения; примерно 50% всех известных органических соединений при нагревании образуют жидкие кристаллы. В литературе описаны также жидкие кристаллы некоторых гидроксидов (например, Fe2O3·xH2O).
Жидкие кристаллы, жидкокристаллическое состояние, мезоморфное состояние - состояние вещества, в котором оно обладает свойствами жидкости (текучестью) и некоторыми свойствами твёрдых кристаллов (анизотропией свойств). ЖК образуют вещества, молекулы которых имеют форму палочек или вытянутых пластинок. Различают термотропные и лиотропные ЖК. Первые — индивидуальные вещества, которые существуют в мезоморфном состоянии в определённом температурном интервале, ниже которого вещество является твёрдым кристаллом, выше — обычной жидкостью. Примеры:

параазоксианизол (в интервале температур 114—135°С), этиловый эфир азоксибензойной кислоты

(100—120°С), пропиловый эфир холестерина (102—116°С). Лиотропные ЖК — растворы некоторых веществ в определённых растворителях. Примеры: водные - бензил-L-глутамат)gрастворы мыльные растворы синтетических полипептидов (поли- в ряде органических растворителей (диоксан, дихлорэтан).()
Сейчас известно уже около сотни тысяч органических веществ, которые могут находиться в ЖК - состоянии, и число таких соединений непрерывно растет. Если первые десятилетия после открытия жидких кристаллов основными представителями этих соединений являлись только вещества, состоящие из асимметрических молекул стержнеобразной формы, так называемые каламитики (от греч. "каламис" — тростник), то впоследствии было обнаружено, что в ЖК - состояние могут переходить самые разнообразные вещества, имеющие молекулы более сложной формы (диски, пластины и др.). Молекулы ЖК - соединений очень часто называют мезогенами, а группировки или фрагменты молеку, способствующие формированию ЖК- фазы, — мезогенными группами. В таблице 1 приведены примеры стержнеобразных мезогенов — каломитиков, а также химические формулы дискообразных (дискотики) и планкообразных мезогенов (санидики) (от греч. "санидис" — планка).

Среди мезогенных групп чаще всего встречаются бензольные кольца, связанные непосредственно друг с другом с помощью различных химических группировок( –CH=CH–, –CH=N–, –NH–CO и др.). Характерной особенностью всех ЖК - соединений является асимметричная форма молекул, обеспечивающая анизотропию поляризуемости и тенденцию к расположению молекул преимущественно параллельно друг другу вдоль их длинных (каламитики и санидики) и коротких (дискотики) осей.
Типичные примеры химических соединений, образующих ЖК - фазу.
Глава II. Жидкие кристаллы, их виды и эффекты
Жидкие кристаллы (ЖК) – особое термодинамическое состояние вещества, промежуточное между кристаллическим твердым телом и аморфной жидкостью и характеризующееся определенным порядком в расположении молекул. В этом состоянии имеет место анизотропия механических, электрических, магнитных и оптических свойств. Способность целого ансамбля ЖК-молекул переориентироваться в магнитном поле была впервые изучена В. Фредериксом и
В. И. Цветковым. Воздействие электрического поля при облучении ЖК когерентным излучением исследовалось С. А. Пикиным, Л. М. Блиновым, А. С. Сониным и рассмотрено в работах .Классификация ЖК была предложена О. Леманном, затем расширена М. Г. Фриделем.
По этой классификации выделяют три типа жидких кристаллов – нематические, холестерические и смектические. ЖК, входящие в каждую из групп, различаются физическими, прежде всего оптическими свойствами. Это различие следует из их структуры.
Нематическая жидкость.(фото приложение1)
Жидкости сильно отличаются от газов и твёрдых кристаллов. Атомы или молекулы, из которых состоит жидкость, не могут разойтись на сколь угодно большое расстояние друг от друга. Это означает, что в жидкости очень важны силы притяжения между атомами или молекулами. То же самое можно сказать и о твёрдом кристалле, но в кристалле эти силы настолько велики, что атомы вынуждены занимать в нём определённые места, образуя трёхмерную кристаллическую решётку. В такой решётке всегда имеются выделенные направления, называемые осями кристалла. Вдоль этих направлений атомы располагаются в строго периодическом порядке. В обычной жидкости нет никаких выделенных направлений, она не обладает собственной формой, потому что молекулы жидкости не столь прочно связаны друг с другом и могут перемещаться в пространстве – перескакивать с места на место.
Таким образом, в текучей жидкости молекулы только в среднем находятся на некотором характерном расстоянии друг от друга. Ответ на вопрос, как взаимодействуют между собой молекулы и чему равно среднее расстояние а между ними, дает квантовая механика. Оказывается, что на больших расстояниях между молекулами их взаимодействие определяется силами притяжения, а на очень малых расстояниях – силами отталкивания.
Следовательно, молекулы не могут сблизиться на сколь угодно малое расстояние из-за очень больших сил отталкивания - в этом случае говорят, что молекулы не могут проникать друг в друга.
На расстоянии а, примерно равном размеру молекул, сила, взаимодействующая между молекулами, становится равной нулю.
Так устроена обычная жидкость, состоящая из относительно простых молекул или атомов. Однако нас поджидает замечательное открытие, если молекулы имеют ярко выраженную анизотропную форму, то есть если у молекул можно четко выделить какие-нибудь характерные оси.

Рис.1
Такие молекулы схематически изображены на рис1. В них атомы располагаются не, как попало, а выстроены вдоль определённой линии (рис1,а) или лежат в выделенной плоскости (рис1,б).
Взаимодействие молекул такой формы приводит к тому, что в жидком состоянии они не только удерживаются на некотором среднем расстоянии друг от друга, но могут сохранять определённый порядок в своём относительном расположении – длинные оси молекул (рис2,а) или плоскости молекул (рис2,б) оказываются параллельными друг другу.

Рис. 2
В такой необычной жидкости появляется особое направление, как в твёрдом кристалле, вдоль которого ориентируются выделенные оси молекул. Это сходство между кристаллом и описанной удивительной жидкостью и провело к соединению двух понятий в одно новое – «жидкий кристалл». А жидкое состояние (рис2) называют нематическим жидким кристаллом. Название «нематичекий» образовано от греческого слова νήμά - нить. В жидких кристаллах под микроскопом видны тонкие подвижные нити, которые представляют собой дефекты структуры. В идеальном жидком кристалле таких нитей нет.
Рассмотрим теперь силы, действующие в нематической жидкости. Эти силы - электрического происхождения. Интересно, что сила притяжения возникает между двумя атомами или молекулами, которые сами по себе являются электрически нейтральными. Посмотрим, как это получается.
Представим себе, что по какой-то причине в атоме произошло смещение отрицательно заряжённого электронного облака относительно положительно заряжённого ядра. Такой атом можно рассматривать как совокупность двух разноименных точечных зарядов, одинаковых по абсолютной величине, находящихся на некотором расстоянии друг от друга (3,а). Подобную систему зарядов называют электрическим диполем. В окрестности атома-диполя возникает электрическое поле. Напряжённость этого поля быстро убывает при удалении от атома, но вблизи атома поле достаточно велико. Если в окрестности атома I попадает нейтральный атом II (3,б), то электрическое поле атома I должно сместить заряды электронов и ядра атома II (3.б). Такое относительное смещение зарядов в атоме II должно в свою очередь, создавать электрическое поле, поддерживающее разделение зарядов в атоме I. Из рисунка 3 б видим, что разноименно заряжённые частицы атомов должны притягивать друг друга. При сближении атомов между ними начинают действовать силы отталкивания. На расстоянии, примерно равном размеру атомов, силы взаимодействия между атомами равны нулю. Точно такое же рассуждение мы можем провести и в отношении двух молекул, состоящих из нескольких десятков атомов. Нейтральные молекулы должны притягивать друг друга за счёт образования электрических диполей-атомов.

Рис 3
Действительно, молекулы должны притягиваться. Но как? Ясно, что по описанным выше причинам большая часть атомов молекулы стремится оказаться вблизи атомов другой молекулы, так как только в этом случае силы взаимодействия между молекулами обращаются в нуль. Но такая ситуация возможна только тогда, когда длинные оси молекул параллельны друг другу. Таким образом, возникает определённый порядок в ориентации молекул и появляется выделенное направление. Это направление можно характеризовать единичным вектором (рис1,2).
Разумеется, такое параллельное расположение выделенных осей молекул возможно только при достаточно низкой температуре, когда тепловые толчки не настолько сильны, чтобы разрушить ориентационный порядок в системе молекул. При повышении температуры обязательно наступает момент, когда хаотическое тепловое движение молекул становится преобладающим и нематический порядок разрушается.
Таким образом, система таких особых молекул может иметь два состояния: обычное (изотропное) жидкое - при высоких температурах и анизотропное жидкое – при низких температурах. Подчеркнём, что нематический жидкий кристалл может быть действительно жидким, как вода, то есть центры масс молекул не образует в данном случае какую-то правильную решётку, как в кристалле, а располагаются хаотично в пространстве и могут в нём свободно перемещаться. В то же время ориентация молекул в этой жидкости подчиняется строгому порядку. Интересно, что нематическая жидкость, образуемая молекулами вытянутой формы известна уже много десятков лет, в то время как нематическая жидкость из дискообразных молекул открыта только в 1979-1980 года.(9)
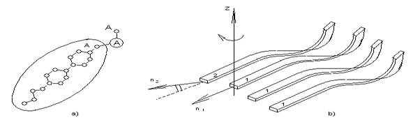
Холестерическая жидкость.
Структура холестерической жидкости во многом сходна с нематической, но имеет одно существенное отличие. Можно сказать, что холестерик обладает нематическим состоянием послойно, то есть состоит из стопки нематических слоёв(рис4,а). но оси этих параллельных друг другу слоёв развёрнуты на некоторый угол, причём для двух соседних слоёв этот угол составляет малую величину α=0,5°. Расстояние между соседними слоями примерно равно поперечному размеру молекулы а. если двигаться вдоль оси Z, перпендикулярной плоскости слоёв, то через число слоёв N=π/а ориентация молекул станет такой же, как и в самом первом слое. Расстояние h=а*2π/а, через которое повторяется ориентация молекул в пространстве, представляет собой удвоенный период своеобразной решётки (рис4,б). Величину h принято называть шагом спирали, которую образуют в пространстве концы молекул, лежащих в последовательных слоях.
Описанная периодическая решётка – её называют холестерической спиралью - удивительна тем, что чёткая периодичность в ней касается только ориентации молекул. В то же время в каждом нематическом слое молекулы могут свободно перемещаться, меняться местами; словом, холестерическая жидкость свободно течёт вдоль таких плоскостей, но спираль при этом почти не нарушается.

Рис. 4
Молекулы могут перемещаться и из слоя в слой, поворачиваясь при этом на угол α, но это даётся им не так легко. Всё это и определяет особые свойства холестерической жидкости, схожие за свойствами твёрдого кристалла. Особенности структуры холестерической жидкости наиболее сильно проявляются при изменении температуры вещества, и при различных внешних воздействиях. Холестерическая спираль обладает яркими оптическими свойствами, чувствительна к малейшим повреждениям столь своеобразной решётки. Всё это вызвало громадный интерес к изучению и применению холестерических жидких кристаллов. Чем вызвана такая структура холестерика?
Объяснения заключается в особенности строения молекул, из которых состоят эти вещества. Молекулы холестерика - почти такие же, как в нематической жидкости, но имеют на своём конце небольшой отросток (рис5,а). Этот отросток образуется обычно одним или несколькими атомами, которые выступают из основной плоскости, содержащей подавляющее большинство атомов молекулы. Симметрия молекулы нарушается из-за отростка и напоминает симметрию руки, которая бывает только правой и только левой.
Как сказывается такая форма молекул на ориентационном порядке жидкости? Подобные молекулы можно расположить параллельно друг другу в определённой плоскости, например в плоскости, в которойлежат сами молекулы. Именно эти плоскости и образуют отдельные слои холестерика (рис5,б). А как могут быть «пристроены» друг к другу эти слои? Очевидно, что молекулы слоя 2 могут быть параллельны молекулам слоя 1, если слои расположены друг от друга на расстоянии, примерно равном высоте отростков. В этом случае отростки не мешают молекулам оставаться параллельными.

Рис. 5
Если расстояние между слоями меньше высоты отростков, то векторы n1 и n2 не могут быть строго параллельны – мешают отростки. Поэтому между векторами n1 и n2 имеется малый угол α.
Таким образом, мы приходим к выводу, что несимметричные молекулы должны образовывать стопку нематических слоёв, причём от слоя к слою молекулы должны поворачиваться на определённый угол α. В зависимости от того, как изогнуты отростки отдельных молекул, холестерические спирали могут быть либо правыми, либо левыми.(8)
Жидкокристаллические растворы.
Жидкокристаллическое состояние можно получить и при растворении подходящих веществ в растворителе, например в воде, который сам по себе не образует жидкий кристалл. При этом получается самые разные жидкие кристаллы. Если молекулы растворяемого вещества имеют форму стержня – получается нематическая жидкость; если у стержнеобразных молекул имеются отростки - холестерическая жидкость. Можно получить и более сложные состояния.
В таких жидких кристаллах важную роль играют не только силы притяжения между молекулами, но и силы отталкивания молекул на близких расстояниях. Роль сил отталкивания можно наглядно представить себе следующим образом. В большом объёме при высокой температуре молекулы, например стержнеобразные, не подчиняются никакому ориентационному порядку, то есть поворачиваются в пространстве как угодно. Но чтобы при всевозможных поворотах молекулы не мешали друг другу, надо каждой молекуле отвести в жидкости определённый объём. Этот объём представляет собой кубик с размером ребра, примерно равным длине молекулы l; в пределах такого кубика с объёмом l3 молекула действительно может быть ориентирована как угодно.
Поместим теперь тоже число молекул при той же температуре в меньший объём, то есть повысим плотность системы. В результате на каждую молекулу станет приходиться объём, меньший, чем l3. Как будут размещаться молекулы в этом случае? Естественно, они смогут разместиться в меньшем объёме, если не будут поворачиваться как угодно, задевая друг друга, а займут более или менее параллельные положения. Если размер поперечного сечения молекул а заметно меньше l и на каждую молекулу приходится объём ~а2l, то все молекулы должны быть ориентированы одинаково, так как только в этом случае они не задевают друг друга. Но это может лишь произойти в случае очень высокой плотности. При средней плотности, когда на каждую молекулу приходится объём, меньший, чем l3, но больший чем а2l, ориентационный порядок будет неполным, но заметным. И связан этот порядок с тем, что молекулы не могут из-за сильного отталкивания проникать друг в друга.
Плотность стержнеобразных молекул можно изменять без заметного изменения общего объёма жидкости, когда такие молекулы растворяются в каком-нибудь обычном растворителе, например в воде. Повышая содержание воды в соответствующем растворе, мы получаем обычную неориентированную жидкость. При очень малом же содержании растворителя образуется нематическая или холестерическая жидкость, в зависимости от деталей структуры молекул. Растворы полимерных молекул являются как раз нематическими жидкими кристаллами.
Работу клеток живого организма во многом определяют жидкие кристаллы-растворы, которые образуются из специальных молекул. Эти молекулы устроены более сложно. Их взаимодействие друг с другом и с молекулами растворителя характеризуются силами отталкивания и силами электростатического притяжения. Она состоит из небольшой головки (рис6,а), представляющей собой электрический диполь, и длинного незаряжённого хвоста.

Рис.6
Напомним, что молекулы воды - тоже электрические диполи. Противоположно заряжённые концы диполей притягиваются друг к другу, и поэтому молекулярные головки притягивают воду. В тоже время хвосты молекул химически устроены так, что они отталкивают воду, как молекулы жиров или воска.(4)
Смектическая жидкость.
Строение особых молекул, описанных выше, объясняет большое разнообразие структуры жидких кристаллов-растворов. Например, при определённой концентрации таких молекул в воде могут получаться жидкие кристаллы, в которых молекулы не только одинаково ориентируется, но и образуют жесткую кристаллическую решетку. Только эта решетка лишь отчасти похожа на обычную решётку твёрдого тела, периодическую в трёх взаимно перпендикулярных направлениях. Таких направлений в особых жидких кристаллах может быть только два или даже одно.
На рисунке 6,б изображена стопка слоёв, образующихся при не очень малой концентрации молекул в воде. Хвосты молекул как бы «прячутся» от воды за оболочками из дипольных головок. Вода является прослойкой между двойными слоями молекул. Стопка таких слоёв образует кристаллическую решётку, периодическую только в одном направлении - вдоль оси Z. В этом направлении жесткость решётки почти такая же, как в твёрдом теле, в то время как в поперечных направлениях слои могут свободно скользить, то есть вдоль слоёв система ведёт себя как жидкость. Такая структура сродни мылу, поэтому такие жидкие кристаллы называются смектическими. Они похожи на холестерики своей слоистостью, но периоды решёток в этих двух случаях различны. В холестериках период составляет несколько тысяч ангстрем, а в смектиках - несколько десятков ангстрем (что соответствует длине молекулы).
При определенной концентрации раствора возникает кристаллическая решётка, периодическая в двух направлениях. При этом дипольные молекулы собираются в жидкие столбики или «нити», которые и образуют такую решётку, похожую на стопку карандашей (рис7,а). Подобные отчасти твёрдые кристаллы существуют не только в растворах. Ими могут быть и отдельные вещества, изменяющие своё состояние при изменении температуры. При этом обычно с понижением температуры состояния меняются в такой последовательности: обыкновенная жидкость – нематическая жидкость или холестерик - смектик - твёрдый кристалл. Долгое время не находили жидкокристаллических веществ с решётками, периодическими в двух направлениях, но недавно были обнаружены и они.
На рис 7,б такая решётка, образованная жидкими столбиками дискообразных молекул. Интересно, что в последнем случае существует и ориентационный порядок: плоскости дисков в столбике параллельны друг другу, хотя центры дисков располагаются хаотически вдоль оси жидкого столбика.

Рис. 7
Эффект Фредерикса.
Наибольшее впечатление производят оптические свойства жидких кристаллов, сделавшие эти объекты столь популярными. В жидких кристаллах направление оптических осей можно изменять с помощью самых разных воздействий, в том числе электрическими или магнитными полями. Эффект изменения направления ориентации молекул в нематической жидкости под действием поля наблюдался ещё в предвоенные годы известным советским учёным В.Фредериксом и носит теперь его имя. Пользуясь популярными сейчас электронными часами и калькуляторами на жидких кристаллах, вы наблюдаете это явление - эффект Фредерикса.
Прежде чем описать эффект Фредерикса, необходимо напомним, что такое поляризованный свет. В луче поляризованного света вектор напряжённости электрического поля Е колеблется вдоль единственного направления. Обычный естественный свет не имеет такой определённой поляризации, так как он состоит из всевозможных волн, каждая из которых имеет произвольное направление колебаний вектора Е, а все вместе они составляют неполяризованный световой пучок. Особые кристаллы – поляризаторы - преобразуют неполяризованный свет в линейно поляризованный, поскольку они могут пропускать сквозь себя только волны, в которых вектор Е ориентирован совершенно определённо по отношению к оптической оси поляризатора. Например, кристалл турмалина пропускает сквозь себя лишь свет, поляризованный вдоль оптической оси этого кристалла, в то время как волны с перпендикулярной поляризацией им сильно поглощаются.
Если на пути светового пучка расположить два поляризатора, оси которых параллельны, то свет пройдёт сквозь оптическую систему, показанную на рис8,а, а если оси поляризаторов скрещены, то свет сквозь эту систему пройти не сможет (рис8,б).

Рис.8
Поместим теперь между двумя скрещёнными поляризаторами два стекла, а между ними - нематическую жидкость, предварительно слегка пополировав стекла вдоль определённого направления. Такая полировка стёкол нужна для того, чтобы сориентировать в заданном направлении оптическую ось жидкого кристалла (n). Например, при параллельной полировке стёкол молекулы, прилипшие к стёклам параллельно микробороздам на стеклянной поверхности, задают благодаря описанным межмолекулярным взаимодействиям такую же ориентацию вектора n и в глубине слоя нематической жидкости (рис9,а). Если неполированные стёкла предварительно обработать специальными химическими веществами, то можно добиться ориентации оси n перпендикулярно стеклянной поверхности (рис9,б).
Наконец, если полированные стёкла развернуть перпендикулярно друг другу, то можно получить закрученную по толщине слоя ориентацию вектора n (рис9,в).
Как же проходит поляризованный свет сквозь ориентированный слой нематической жидкости и сквозь изображённые оптические системы вообще? Если поляризация света параллельна оси n, то свет проходит сквозь жидкий кристалл, не изменяя своей поляризации (9,а). То же происходит и в случае, если поляризация света перпендикулярна оптической оси (рис9,б). В случае закрученной ориентации n поляризация света также поворачивается вслед за осью n (рис9.в).
Что же происходит в слое жидкого кристалла при прохождении через него света? В жидком кристалле, поле проходящей световой волны приводит к разделению зарядов в молекулах и возникновению дипольных колебаний.
Предположим, что в молекуле кристалла электроны легко смещаются вдоль длинной оси молекулы, то есть вдоль направления n. Тогда в случае, изображённом на рисунке 9 а, по толщине слоя распространяются падающая волна и вторичные волны, причём векторы Е в волнах совпадают по направлению. В случае, изображённом на рисунке 9 б диполи не образуются и вторичные волны не излучаются; значит, падающая волна проходит, не ослабляясь. Наконец, в случае 9 в поляризация света изменяет своё направление в соответствии с поворотом оптической оси n по толщине слоя. Поворот вектора Е в такт с осью n обеспечивает излучение вторичных волн, не ослабляемое на любой глубине слоя. (это интерференционное явление возможно тогда, когда на пути светового луча находятся многочисленные диполи - источники вторичных волн, то есть когда толщина слоя намного больше длины волны света).
Так свет проходит сквозь слой нематической жидкости и доходит до второго поляризатора. И здесь возникает уже знакомая нам ситуация. В случаях а и б (рис9) свет сквозь оптическую систему пройти не может, а в случае в (рис9) он проходит беспрепятственно. А теперь представим себе промежуточный случай, когда оси n на стенках скрещены между собой, но в толще слоя, благодаря какому-то воздействию, они повернулись почти перпендикулярно стёклам. В этой ситуации свет практически не проходит сквозь второй поляризатор. Остался ещё один шаг до массового применения подобной системы. Надо научится управлять оптической осью нематической жидкости так, чтобы в отсутствии воздействия эта ось ориентировалась, как на рисунке 9 в, а при включении воздействия она наклонялась на заметный угол, как на рисунках 9,б и г. После выключения воздействия, молекулы занимают свои прежние позиции, вследствие условий на стеклянных поверхностях и взаимодействий между собой.
Оказалось, что именно в нематическом жидком кристалле это очень просто сделать с помощью электрического поля, заключив слой между полированными стёклами, на которые нанесены прозрачные электроды.

Рис.9
Подключив к этим электродам слабенькую батарейку и замкнув цепь, мы сделаем нашу оптическую систему светонепроницаемой, а разомкнув цепь – прозрачной, что и осуществил впервые Фредерикс.
Почему электрическое поле поворачивает молекулы так, как нам нужно, и сколь сильным оно при этом должно быть? Ответ на первую часть вопроса легко дать с помощью рисунка 10. Пусть молекула, у которой диполь легко образуется вдоль длинной оси, находитс