Полупроводниковые наноструктуры
В первой половине 50-х годов XX в перед Физико-техническим институтом им. А.Ф. Иоффе была поставлена задача создать отечественные полупроводниковые приборы для внедрения в отечественную промышленность. Перед лабораторией стояла задача: получение монокристаллов чистого германия и создание на его основе плоскостных диодов и триодов. При участии Алфёрова Жореса Ивановича были разработаны первые отечественные транзисторы и силовые германиевые приборы. Открытие Ж.И. Алфёровым идеальных гетеропереходов и новых физических явлений – «суперинжекции», электронного и оптического ограничения в гетероструктурах – позволило также кардинально улучшить параметры большинства известных полупроводниковых приборов и создать принципиально новые, особенно перспективные для применения в оптической и квантовой электронике.
В начале 90-х годов одним из основных направлений работ, проводимых под руководством Ж.И. Алфёрова, становится получение и исследование свойств наноструктур пониженной размерности: квантовых проволок и квантовых точек.
В 1993-1994 годах впервые в мире реализуются гетеролазеры на основе структур с квантовыми точками – «искусственными атомами». В 1995 году Ж.И. Алфёров со своими сотрудниками впервые демонстрирует инжекционный гетеролазер на квантовых точках, работающий в непрерывном режиме при комнатной температуре. Принципиально важным стало расширение спектрального диапазона лазеров с использованием квантовых точек на подложках GaAs. Таким образом, исследования Ж.И. Алфёрова заложили основы принципиально новой электроники на основе гетероструктур с очень широким диапазоном применения, известной сегодня как «зонная инженерия».
Глава 1. Квантовые ямы
1.1 Технология изготовления квантовых ям
Простейшая квантовая структура, в которой движение электрона ограничено в одном направлении, – это тонкая пленка или просто достаточно тонкий слой полупроводника. Именно на тонких пленках полуметалла висмута и полупроводника InSb впервые наблюдались эффекты размерного квантования (2). В настоящее время квантовые структуры изготавливают иначе. Рассмотрим структуру энергетического спектра полупроводников. Этот спектр состоит из разрешенных и запрещенных энергетических зон, которые сформированы из дискретных уровней атомов, образующих кристалл. Самая высокая энергетическая зона называется зоной проводимости. Ниже зоны проводимости расположена валентная зона, а между ними лежит запрещенная зона энергий. У одних полупроводников запрещенные зоны широкие, а у других более узкие. Что произойдет, если привести в контакт два полупроводника с различными запрещенными зонами (граница таких полупроводников называется гетероструктурой). На рис. 1 изображена граница узкозонного и широкозонного полупроводников. Для электронов, движущихся в узкозонном полупроводнике и имеющих энергию меньше
, граница будет играть роль потенциального барьера. Два гетероперехода ограничивают движение электрона с двух сторон и как бы образуют потенциальную яму.
Таким способом и создают квантовые ямы, помещая тонкий слой полупроводника с узкой запрещенной зоной между двумя слоями материала с более широкой запрещенной зоной. В результате электрон оказывается запертым в одном направлении, что и приводит к квантованию энергии поперечного движения. В то же время в двух других направлениях движение электронов будет свободным, поэтому можно сказать, что электронный газ в квантовой яме становится двумерным. Таким же образом можно приготовить и структуру, содержащую квантовый барьер, для чего следует поместить тонкий слой полупроводника с широкой запрещенной зоной между двумя полупроводниками с узкой запрещенной зоной.

Рис. 1 - Энергетические зоны на границе двух полупроводников - гетероструктуре.
и
- границы зоны проводимости и валентной зоны, Eg - ширина запрещенной зоны. Электрон с энергией меньше
(уровень показан красным цветом) может находиться только справа от границы
Когда движение электрона происходит в ограниченной области, его энергия имеет строго определенные, дискретные значения. Говорят, что спектр энергий квантован.
В квантовой механике электрон не бегает в ограниченной области, как классическая частица. Если он заперт в атоме, молекуле или любой потенциальной яме, то волновая функция Ч представляет стоячую волну. Если речь идет о прямоугольной потенциальной яме, которая изображена на рис. 2, то по своей форме волна будет такой же, как и в случае натянутой струны, но дискретным в этом случае будет не спектр частот, а спектр энергий. Стоячие волны, описывающие электронные состояния в яме, – это синусоиды, обращающиеся в точках x = 0 и x = a в нуль.

Рис. 2 - Волновые функции и уровни энергии частицы, находящейся в бесконечно глубокой потенциальной яме. Показаны три нижних энергетических уровня (красный цвет) и три волновые функции
,(1)
где n– номер квантового состояния, a – размер ямы. На рис. 2 изображены три такие функции, соответствующие n = 1, 2, 3, … Электронная плотность в яме распределяется неравномерно, есть максимумы и минимумы плотности вероятности. Из формулы (1) следует также, что длины волн Ч'-функций, описывающих электронные состояния с различными n, удовлетворяют условиям
, то есть в яме укладывается целое число полуволн.
1.2 Особенности энергетических уровней
Найдем разрешенные уровни энергии электрона, находящегося в потенциальной яме. Воспользуемся правилом квантования Н. Бора. Согласно постулату Бора, в потенциальной яме разрешены лишь те траектории, для которых импульс частицы pn и ширина ямы a связаны соотношением
(2)
Здесь n – номер квантового состояния. Определив отсюда разрешенные значения импульса, найдем и уровни энергии в яме:
(3)
Минимальная энергия частицы, находящейся в яме, не может быть равной нулю. Всегда существует так называемая энергия нулевых колебаний, которая, согласно формуле (3), равна n2h2/(2ma2). Вычислим, какой порядок имеет величина первого уровня в реальной квантовой яме. Если ширина ямы равна 5 нм, то, согласно (3), имеем E1 = 0,02 эВ. Нужно, однако, иметь в виду, что электронная масса в кристалле может существенно отличаться от массы свободного электрона m = 10-27 г. В типичной ситуации эффективная масса в квантовой яме в десять раз меньше массы свободного электрона. Тогда при той же ширине ямы получим E1 = 0,2 эВ. Эта величина и определяет характерный масштаб электронных энергий в квантовых структурах.
![]()
![]()
1.3 Применение квантовых наноструктур в электронике
Рассмотрим принцип действия двух основных приборов современной квантовой электроники.
Резонансный туннельный диод.
В классической физике если полная энергия частицы меньше потенциальной энергии в области барьера, то эта частица отражается и затем движется в обратном направлении. В том случае, когда полная энергия превышает потенциальную, барьер будет преодолен. Квантовая частица ведет себя иначе: она преодолевает барьер подобно волне. Даже если полная энергия меньше потенциальной, есть вероятность преодолеть барьер. Это квантовое явление получило название "туннельный эффект". Оно используется в резонансном туннельном диоде.
Он состоит из двух барьеров, разделенных областью с малой потенциальной энергией. Область между барьерами – это как бы потенциальная яма, в которой есть один или несколько дискретных уровней. Характерная ширина барьеров и расстояние между ними составляют несколько нанометров. Области слева и справа от двойного барьера играют роль резервуаров электронов проводимости, к которым примыкают контакты. Электроны занимают здесь довольно узкий энергетический интервал. В приборе используется следующая особенность двойного барьера: его туннельная прозрачность имеет ярко выраженный резонансный характер. В том случае, когда энергия электронов, налетающих на барьеры, равна энергии дискретного уровня, туннельная прозрачность резко возрастает. При резонансе из-за интерференции волн во внутренней области гасится волна, отражающаяся от двойного барьера. Следовательно, волна, упавшая слева, полностью проходит направо.
Рассмотрим, как работает резонансный диод. Ток, протекающий через двойной барьер, зависит от величины приложенного напряжения. Потенциал в приборе падает главным образом в области двойного барьера, так как области слева и справа от него обладают высокой проводимостью. Если приложенное напряжение мало и энергия электронов, налетающих на барьер слева, меньше энергии дискретного уровня, то прозрачность барьера и, следовательно, протекающий ток будут малы. Ток достигает максимального значения при таких напряжениях, когда энергия электронов равна энергии дискретного уровня. При более высоких напряжениях энергия налетающих электронов станет больше энергии дискретного уровня и туннельная прозрачность барьера уменьшится. При этом ток также уменьшится. На вольт-амперной характеристике будет участок отрицательного дифференциального сопротивления. Благодаря этому в электронных схемах резонансный диод может использоваться не только как выпрямитель, но и выполнять самые разнообразные функции. Если к центральной области резонансного диода подвести контакт, через который можно управлять положением дискретного уровня, получится новый прибор – транзистор.
Резонансный туннельный диод – это первое реальное устройство с квантовой ямой и барьерами. Он был создан Лео Эсаки и Чангом в 1974 году. Идею прибора предложил Л. Иогансен еще в 1963 году.
Лазеры на квантовых ямах.
Квантовые структуры используются для создания лазеров. Уже сегодня эффективные лазерные устройства на квантовых ямах дошли до рынка и применяются в волоконно-оптических линиях связи. Для работы любого лазера необходимо создать инверсную населенность энергетических уровней. То есть, на более высоком уровне должно находиться больше электронов, чем на низком, в то время как в состоянии теплового равновесия ситуация обратная. Каждому лазеру необходим оптический резонатор или система зеркал, которая запирает электромагнитное излучение в рабочем объеме.
Для того чтобы квантовую яму превратить в лазер, нужно ее подсоединить к двум контактам, через которые электроны могут непрерывно поступать в рабочую область. Пусть через один контакт электроны поступают в зону проводимости. Далее, совершая скачки из зоны проводимости в валентную зону, они будут излучать кванты, то есть порции электромагнитного излучения (рис. 3). Затем через валентную зону носители тока должны уходить на другой контакт.

Рис. 3 - Энергетическая схема лазера на квантовой яме другой контакт
Частота излучения
определяется условием
(4),
где
и
– энергии первых энергетических уровней соответственно в зоне проводимости и валентной зоне, Eg – ширина запрещенной зоны.
Электромагнитное излучение, генерируемое лазером, нужно сконцентрировать в центральной, рабочей области прибора. Для этого показатель преломления внутренних слоев должен быть больше, чем внешних. Внутренняя область играет роль волновода. На границах этого волновода нанесены зеркала, которые образуют резонатор.
Лазеры на квантовых ямах обладают преимуществами по сравнению с обычными полупроводниковыми лазерами. Эти приборы можно перестраивать, управляя параметрами энергетического спектра. Так, при уменьшении размеров ямы минимальные энергии электронов
в зоне
проводимости и
в валентной зоне увеличиваются и, согласно формулам (3) и (4), частота, генерируемая лазером, возрастает. Подбирая толщину квантовой ямы, можно добиться, чтобы затухание волны в оптической линии связи, в которую поступает излучение, было минимальным. Лазеры на квантовых структурах очень экономны, они питаются меньшим током, чем другие полупроводниковые лазеры, и дают больше света на единицу потребляемой энергии – до 60% электрической мощности преобразуется в свет.
Глава 2. Квантовые проволоки, нити
2.1 Квантовые проволоки
Квантовыми проволоками называют структуры толщиной всего в один атом. Специалисты из исследовательского центра IBM Н.Д. Ланг и П. Авурис выполнили теоретический расчет проводимости квантовой проволоки, состоящей из атомов углерода. Согласно их вычислениям, проводимость квантовой проволоки при увеличении ее длины изменяется не монотонно, а колеблется. Она достигает максимумов для проволоки, состоящей из четного числа атомов, поскольку в этом случае больше число допустимых электронных состояний. В Японии. Х. Ониши и его коллеги из Токио создали квантовую проволоку из атомов золота между иглой сканирующего туннельного микроскопа и поверхностью золотого образца. При увеличении расстояния между иглой и поверхностью проволока становится длиннее и тоньше. Проводимость проволоки при ее растяжении изменялась скачками на квантовую единицу проводимости 2e2/h. Такое же скачкообразное изменение проводимости наблюдалось и в университете Лейдена (Нидерланды). Созданная там квантовая проволока представляла собой микроскопический мост между двумя концами надломленной золотой проволоки.
2.2 Особенности квантовых проволок
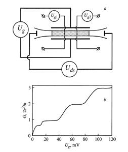
Одним из наиболее важных следствий получения одномерных баллистических каналов внутри гетероструктур GaAs-AGaAs и кремниевых сверхрешёток стало обнаружение квантования проводимости в зависимости от напряжения на затворе, управляющего шириной квантовой проволоки (рис. 4, а), которое проявляется в виде серии плато одномерной проводимости, разделенных ступенями величиной gsgve2/h; гдеgs и gv – спиновый и долинный факторы соответственно. Рост напряжения на затворе приводит к увеличению ширины квантовой проволоки, тем самым стимулируя заполнение большего числа подзон размерного квантования. При этом зависимость G(Vg) имеет ярко выраженный ступенчатый характер, так как кондактанс квантовой проволоки изменяется скачком каждый раз, когда уровень Ферми совпадает с одной из подзон размерного квантования:
,
где N-число заполненных подзон размерного квантования, которое соответствует номеру верхней заполненной одномерной подзоны квантовый проволоки.

Рис. 4 - Схема расщепленного затвора (при напряжении Ug), используемая для получения модулированных квантовых проволок внутри квантовых ям
Наблюдаемая величина ступенек квантованной проводимости, как правило, несколько меньше, чем
(рис.4,б), что может быть результатом влияния спиновой поляризации носителей в нулевом магнитном поле или нарушение когерентности по причине как электрон-электронного взаимодействия, так и рассеяния на примесных центрах. Остаточные примеси, распределенные вдоль границ квантовой проволоки, являются основой при создании внутренних барьеров, которые модулируют характеристики одномерного транспорта. Мощность подобных барьеров регулируется путем изменения напряжения на затворе, управляющего шириной квантовой проволоки, и особенно-с помощью дополнительных “пальчиковых” затворов (рис. 4, а), применяемых для применения квантовых точек между двумя соседними барьерами.
Напряжение Ug1 и Ug2 прикладываются к “пальчиковым” затворам, предназначенным для реализации квантовых точек; б-Квантованная проводимость G(Ug),обнаруженная при T=77 K для узкого одномерного канала
в самоупорядоченной кремниевой квантовой яме p-типа. Положение уровня Ферми соответствует заполнению одномерных подзон тяжелых дырок ![]()
2.3 Квантовые нити. Изготовление квантовых нитей
Технологи разработали несколько способов получения квантовых нитей. Эту структуру можно сформировать, например, на границе раздела двух полупроводников, где находится двумерный электронный газ. Это можно сделать, если нанести дополнительные барьеры, ограничивающие движение электронов еще в одном или двух направлениях. Квантовые нити формируются в нижней точке V-образной канавки, образованной на полупроводниковой подложке. Если в основание этой канавки осадить полупроводник с меньшей шириной запрещенной зоны, то электроны этого полупроводника будут заперты в двух направлениях.
Глава 3. Квантовые точки
3.1 Технология изготовления квантовых точек
Технологи разработали несколько способов получения квантовых точек. Эту структуру можно сформировать также как и квантовые нити, на границе раздела двух полупроводников, где находится двумерный электронный газ, или нанести дополнительные барьеры, ограничивающие движение электронов еще в одном или двух направлениях.
На рис. 5 показаны квантовые точки, созданные на границе раздела арсенида галлия и арсенида алюминия–галлия. В процессе роста в полупроводник AlGaAs были введены дополнительные примесные атомы. Электроны с этих атомов уходят в полупроводник GaAs, то есть в область с меньшей энергией. Но они не могут уйти слишком далеко, так как притягиваются к покинутым ими атомам примеси, получившим положительный заряд. Практически все электроны сосредоточиваются у самой гетерограницы со стороны GaAs и образуют двумерный газ. Процесс формирования квантовых точек начинается с нанесения на поверхность AlGaAs ряда масок, каждая из которых имеет форму круга. После этого производится глубокое травление, при котором удаляется весь слой AlGaAs и частично слой GaAs (это видно на рис. 5).

Рис. 5 - Квантовые точки, сформированные в двумерном электронном газе на границе двух полупроводников
В результате электроны оказываются запертыми в образовавшихся цилиндрах (на рис. 5 область, где находятся электроны, окрашена в красный цвет). Диаметры цилиндров имеют порядок 500 нм.
3.2 Особенность квантовых точек
В квантовой точке движение ограничено в трех направлениях и энергетический спектр полностью дискретный, как в атоме. Поэтому квантовые точки называют еще искусственными атомами, хотя каждая такая точка состоит из тысяч или даже сотен тысяч настоящих атомов. Размеры квантовых точек (можно говорить также о квантовых ящиках) порядка нескольких нанометров. Подобно настоящему атому, квантовая точка может содержать один или несколько свободных электронов. Если один электрон, то это как бы искусственный атом водорода, если два – атом гелия и т.д.
Кроме простого нанесения рисунка на поверхность полупроводника и травления для создания квантовых точек можно использовать естественное свойство материала образовывать маленькие островки в процессе роста. Такие островки могут, например, самопроизвольно образоваться на поверхности растущего кристаллического слоя.
В последнее время во многих лабораториях мира ведутся работы по созданию лазеров на квантовых точках.
Глава 4. Сверхрешётки
4.1 Сверхрешетки. Виды сверхрешеток
В последние годы возрастает интерес исследователей, инженеров, технологов к слоистым структурам, состоящим из различных полупроводниковых (полупроводниковые сверхрешетки) или магнитных (магнитные мультислои) материалов. Полупроводниковые сверхрешетки и магнитные мультислои имеют характерные размеры слоев 10 – 1000 Å и их принято называть наноструктурами. Кроме полупроводниковых сверхрешеток и магнитных мультислоев к наноструктурам можно отнести и ряд других материалов: фуллерены, пористые кремниевые трубки, некоторые биологические объекты. Различают полупроводниковые сверхрешетки, композиционные и легированные сверхрешетки.
Сверхрешеткой называется периодическая структура, состоящая из тонких чередующихся в одном направлении слоев полупроводников. Период сверхрешетки намного превышает постоянную кристаллической решетки, но меньше длины свободного пробега электронов. Такая структура обладает, помимо периодического потенциала кристаллической решетки, дополнительным потенциалом, обусловленным чередующимися слоями полупроводников, и который называют потенциалом сверхрешетки. Наличие потенциала сверхрешетки существенно меняет зонную энергетическую структуру исходных полупроводников.
4.2 Физические свойства сверхрешеток
Полупроводниковые сверхрешетки обладают особыми физическими свойствами, главные из которых следующие:
•существенное изменение в сравнении с исходными полупроводниками энергетического спектра;
•наличие большого числа энергетических зон;
•очень сильная анизотропия (двумерность);
•подавление электронно-дырочной рекомбинации;
•концентрация электронов и дырок в сверхрешетке является перестраиваемой величиной, а не определяется легированием;
•широкие возможности перестройки зонной структуры.
Все эти особенности полупроводниковых сверхрешеток позволяют считать эти искусственные структуры новым типом полупроводников.
4.3 Технология изготовления сверхрешеток
Композиционные сверхрешетки, представляют собой эпитакисально выращенные чередующиеся слои различных по составу полупроводников с близкими постоянными решетки. Исторически первые сверхрешетки были получены для системы полупроводников GаАs - АlxGa1-xАs(1) Успех в создании этой сверхрешетки был обусловлен тем, что Аl, имеющий такую же валентность и ионный радиус, что и Gа, не вызывает заметных искажений кристаллической структуры исходного материала. В то же время Аl способен создать достаточную амплитуду сверхрешеточного потенциала.

Рис. 6
По расположению энергетических зон полупроводников композиционные сверхрешетки разделяются на несколько типов. Полупроводниковая сверхрешетка GаАs - АlxGa1-xАs относится к сверхрешеткам I типа у которых минимум зоны проводимости Еc1и максимум валентной зоны Еv1 одного полупроводника по энергии расположены внутри энергетической щели другого (рис. 6, а). В сверхрешетках этого типа возникает периодическая система квантовых ям для носителей тока в первом полупроводнике, которые отделены друг от друга потенциальными барьерами, создаваемыми во втором полупроводнике. Глубина квантовых ям для электронов ΔЕС определяется разностью между минимумами зон проводимости двух полупроводников, а глубина квантовых ям для дырок - разностью между максимумами валентной зоны ΔЕv (рис. 6, а).
В композиционных сверхрешетках II типа (рис. 6, б) минимум зоны проводимости одного полупроводника расположен в энергетической щели второго, а максимум валентной зоны второго - в энергетической щели первого композиционные сверхрешетки II типа со ступенчатым ходом зон (1)). Энергетическую диаграмму сверхрешетки этого типа иллюстрирует рис. 6,б справа. В этих сверхрешетках модуляция краев зоны проводимости и валентной зоны имеет один и тот же знак. Примером сверхрешетки с такой энергетической структурой является система InxGa1‑xAs – GaSb1-yAsy. К этому же типу относятся и композиционные сверхрешетки, у которых минимум зоны проводимости одного полупроводника расположен по энергии ниже, чем максимум валентной зоны другого (композиционные сверхрешетки II типа с неперекрывающимися запрещенными зонами). Примером такой сверхрешетки может служить система InAs – GaSb.
В легированных сверхрешетках периодический потенциал образован чередованием слоев n- и p-типов одного и того же полупроводника. Эти слои могут быть отделены друг от друга нелегированными слоями. Такие полупроводниковые сверхрешетки называют часто nipi-кристаллами. Для создания легированных сверхрешеток чаще всего используют GaAs.
Потенциал сверхрешетки в легированных сверхрешетках создается только пространственным распределением заряда. Он обусловлен потенциалом ионизованных примесей в легированных слоях. Все донорные центры в легированных сверхрешетках являются положительно заряженными, а все акцепторные центры – отрицательно заряженными. Потенциал объемного заряда в легированных сверхрешетках модулирует края зон исходного материала таким образом, что электроны и дырки оказываются пространственно разделенными. Соответствующим выбором уровня легирования и толщины слоев это разделение можно сделать практически полным.
Важной особенностью легированных сверхрешеток является то, что экстремумы волновых функций электронов и дырок сдвинуты относительно друг друга на половину периода сверхрешетки. Выбором параметров сверхрешетки это перекрытие можно сделать очень малым, что приводит к исключительно большим рекомбинационным временам жизни носителей тока. Это обстоятельство позволяет легко изменять концентрацию носителей тока в этих сверхрешетках (3).
Кроме композиционных и легированных сверхрешеток возможны и другие типы этих материалов, различающиеся споcобом создания модулирующего потенциала. В спиновых сверхрешетках (3) легирование исходного полупроводникового материала осуществляется магнитными примесями. Периодический потенциал в таких сверхрешетках возникает при наложении внешнего магнитного поля. Потенциал сверхрешетки может создаваться также периодической деформацией образца в поле мощной ультразвуковой волны или стоячей световой волны (3).
4.4 Энергетическая структура полупроводниковых сверхрешеток
Физические свойства полупроводниковых сверхрешеток определяются их электронным спектром. Для нахождения электронного спектра необходимо решить уравнение Шредингера для волновой функции электрона в сверхрешетки
(r) в одноэлектронном приближении, содержащее как потенциал кристаллической решетки V(r), так и потенциал сверхрешетки
(z):
(5)
Здесь z – направление, перпендикулярное поверхности сверхрешетки (ось сверхрешетки);
- эффективная масса электрона; Е – полная энергия частицы.
Поскольку потенциал сверхрешетки зависит только от координаты z, совпадающей с осью сверхрешетки, то энергетический спектр электронов в сверхрешетке резко анизотропен. На движение электронов в плоскости, перпендикулярной оси сверхрешетки ее потенциал не будет оказывать заметного влияния. В то же время, движение электронов вдоль оси z будет соответствовать движению в поле с периодом d.
В общем виде дисперсионное соотношение для электрона в сверхрешетке
(6), здесь j – номер энергетической минизоны.
Так как потенциал сверхрешетки периодичен, то энергетический спектр электрона в направлении оси сверхрешетки имеет зонный характер. Так как период сверхрешетки d значительно больше постоянной кристаллической решетки а, то получающиеся при этом сверхрешеточные зоны (минизоны) представляют собой более мелкое дробление энергетических зон исходных полупроводников.
Плотность электронных состояний в полупроводниковой сверхрешетке существенно отличается от соответствующей величины в трехмерной электронной системе. На рис. 7. показана зависимость плотности электронных состояний
в сверхрешетке от энергии Е (1). Интервал энергии содержит три первые минизоны. Ширина каждой из этих минизон обозначена соответственно
E1,
E2 и
E3. Для сравнения на этом же рисунке приведены зависимости
(7) для трехмерного электронного газа (кривая 2) и
(i– целое) для двумерного газа электронов (штриховая ступенчатая линия 3).

Рис. 7
Расщепление энергетической зоны полупроводника в направлении оси сверхрешетки на ряд неперекрывающихся минизон является общим результатом для сверхрешеток разного типа. Дисперсионный закон для носителей заряда в минизонах, положение и ширина минизоны определяется конкретным типом сверхрешетки.
4.5 Исследование полупроводниковых сверхрешеток
В работах по исследованию полупроводниковых сверхрешеток значительное место занимают вопросы, связанные с изучением профиля сверхрешеточной структуры и совершенства границ гетеропереходов. Из структурных методов наибольшее распространение получили два: определение глубинного профиля концентраций элементов методом электронной оже-спектроскопии (ЭОС) в сочетании с ионным травлением и малоугловая дифракция рентгеновских лучей.
На рис. 8 представлен экспериментальный оже-профиль состава сверхрешеточной структуры (2,4), состоящей из чередующихся слоев GaAs и Al0,25Ga0,75As. Толщина каждого слоя составляла 5 нм. Точками на рисунке показаны экспериментальные значения величины x в формуле AlxGa1-xAs. Эти значения были вычислены из отношения интенсивностей оже-пиков Al (1390 эВ) и As (1228 эВ). Профиль концентрации Al получен последовательным стравливанием поверхностных слоев сверхрешеточной структуры ионами аргона с энергией 1,5 кэВ. Скорость травления составляла 0,3 – 1 нм/мин. Постепенное уменьшение амплитуды осцилляций величины x по мере травления связано с пространственным различием скоростей травления по площади сфокусированного первичного пучка электронов.

Рис. 8
Важные структурные характеристики мультислойных структур можно получить из результатов малоугловой дифракции рентгеновских лучей. Для рентгенограмм многослойных структур в области малых углов отражения рентгеновских лучей характерно наличие дополнительных рефлексов, обусловленные периодичностью сверхрешетки. Положения этих рефлексов связаны с периодом сверхрешетки d:
, (8)
здесь
- длина волны излучения, n – порядок отражения.
На рис. 9 представлена дифракционная картина в малоугловой области для сверхрешетки GaAs – AlAs, содержащей 6 периодов (2). Точки на этом рисунке представляют экспериментальные результаты, сплошная кривая – результат теоретических расчетов для d = 12,72 нм. Экспериментальная и расчетная дифракционная картины согласуются не только по положению пиков, но и по интенсивности и ширине линий. Штриховая кривая соответствует теоретическим расчетам, при которых изменен период сверхрешетки всего на 0,28 нм, что соответствует изменению толщины всего на два атомных слоя. Отличие от экспериментальных результатов в этом случае существенно. Эти оценки свидетельствуют о возможности контроля этим методом совершенства границ и когерентности периодов с атомной точностью. В случае плавного изменения межплоскостного расстояния на границе между слоями сверхрешетки, кроме дополнительных рефлексов в малоугловой области наблюдаются сверхструктурные рефлексы (сателлитные отражения), сопровождающие основные рефлексы на рентгенограммах.

Рис. 9
Наличие дополнительных рефлексов в малоугловой области и отсутствие сверхструктурных рефлексов, сопровождающих основные дифракционные пики, свидетельствует о совершенстве границ раздела
Идея создания полупроводниковой сверхрешетки возникла в результате поиска новых приборов с отрицательным дифференциальным электросопротивлением. При наложении внешнего электрического поля по оси сверхрешетки электроны, ускоряясь, будут увеличивать абсолютные значения z-компоненты волнового вектора. Если длина свободного пробега электронов намного больше периода сверхрешетки, то электроны, не успев рассеяться, достигнут границ сверхрешеточной зоны Бриллюэна в точках
и
, где их эффективная масса отрицательная. В этом случае дрейфовая скорость электронов будет падать с ростом приложенного электрического поля, что соответствует отрицательному электросопротивлению. Впервые отрицательное электросопротивление было обнаружено в сверхрешетке GaAs – GaAlAs (1).
Еще один квантовый эффект наблюдается в полупроводниковых сверхрешетках при условии, что время рассеяния электронов достаточно велико (5). При наложении к сверхрешетке внешнего электрического поля E электроны начнут совершать периодическое движение в минизоне, испытывая при этом брэгговское рассеяние на ее обеих границах. Частота осцилляций определяется выражением
.
Оптические измерения в сверхрешетках являются мощным средством изучения энергетического строения минизон, плотности состояний в них, совершенства гетерограниц и других физических характеристик сверхрешеток. Измерения оптического поглощения в сверхрешетках являются убедительным доказательством квантования энергетических уровней в этих структурах.
4.6 Применение сверхрешеток в электронике
Большую группу применения составляют оптоэлектронные приборы - фотоприемники, светоизлучающие приборы (инжекционные лазеры и светодиоды), пассивные оптические элементы, волноводы, модуляторы, направленные ответвители и др.
Инжекционные лазеры на гетеропереходах имеют преимущества перед обычными полупроводниковыми лазерами, поскольку инжектированные носители в лазерах на гетеропереходах сосредоточиваются в узкой области. Поэтому состояние инверсной населенности носителей заряда достигается при значительно меньших плотностях тока, чем в лазере на p-n-переходе. Применение вместо одиночных гетеропереходов многослойных сверхрешеточных структур позволяет изготовить лазеры, работающие на нескольких длинах волн.
В качестве примера на рис. 10 показано схематическое изображение структуры многоволнового лазера (6). В структуре имеется четыре активных слоя AlxGa1-xAs разного состава (x = x1, x2, x3, x4), благодаря которым лазер одновременно работает на четырех длинах волн
1,
2,
3 и
4. Активные слои отделены друг от друга промежуточными слоями AlyGa1-yAs (y > x1, x2, x3, x4). Для создания p-n-переходов в структуре проводилась локальная диффузия Zn.

Рис. 10
Большую группу приборов на полупроводниковых сверхрешетках составляют устройства с отрицательным дифференциальным электросопротивлением. На основе полупроводниковых сверхрешеток изготавливают также различные транзисторы. Достаточно большая частота квантовых осцилляций электронов в сверхрешетках значительно расширяет возможности изготовленных на их основе приборов СВЧ.
Заключение
На основе предложенных в 1970 году Ж.И.Алфёровым и его сотрудниками идеальных переходов в многокомпонентных соединениях InGaAsP созданы полупроводниковые лазеры, работающие в существенно более широкой спектральной области, чем лазеры в системе AIGaAs. Они нашли широкое применение в качестве источников излучения в волоконно-оптических линиях связи повышенной дальности.
В России (впервые в мире) было организовано крупномасштабное производство гетероструктурных солнечных элементов для космических батарей. Одна из них, установленная в 1986 году на космической станции «Мир», прор