Модернизация сотовой сети стандарта GSM с применением технологий GPRS и EDGE
1. ОБЗОР СТАНДАРТА GSM/GPRS
Прежде чем приступить к изучению структуры и особенностей GPRS-сети, ознакомимся с технологией GSM, поскольку возможности высокоскоростной передачи данных являются ее органичным дополнением. Коснемся некоторых организационных и исторических аспектов. В начале 80-х гг. в Европе функционировало множество несовместимых национальных систем сотовой связи, что крайне негативно отражалось на стоимости оборудования, делая невозможным ее снижение за счет массовости производства. В 1982 г. в рамках организации Conference of European Posts and Telegraphs (CEPT) была образована рабочая группа под названием Groupe Special Mobile (GSM), главными задачами которой стали удешевление оборудования, повышение качества связи, поддержка международного роуминга и достижение совместимости с (ISDN) Integrated Services Digital Network - цифровая сеть с интеграцией функций, позволяет осуществлять высокоскоростные передачи голосовых данных, информации или видео посредством существующих линий инфраструктуры. К началу 90-х GSM была передана под юрисдикцию European Telecommunication Standards Institute (ETSI). Коммерческое внедрение разработанной технологии началось с середины 1991 г., со временем одна из разновидностей этого стандарта получила распространение и в Северной Америке, а аббревиатуру GSM стали толковать, как Global System for Mobile. В Европе для восходящего и нисходящего потоков соединения с мобильным терминалом используются диапазоны частот 890-915 MHz и 935-960 MHz. Доступ осуществляется по комбинированной методике TDMA/ FDMA. В частотном диапазоне шириной 25 MHz размещается 124 несущих, разделенных промежутками в 200 kHz. Каждая базовая станция привязана к одной или более частотам. В свою очередь передача данных выполняется с разделением по времени. Информация упаковывается в фреймы TDMA, состоящие из 8 элементов длительностью около 0,577 мс, так называемые временные слоты. Структура данных, размещенная в рамках такого слота, называется (пакет). Таким образом, одна несущая обслуживает сразу несколько логических каналов, каждому из них отводится определенное количество слотов. Каналы делятся на присвоенные, доступ к которым может иметь только один конкретный мобильный терминал, и общие, или управляющие, доступные всем устройствам в режиме ожидания. Передача данных осуществляется через Traffic Channel (TCH). Он относится к первой группе и использует в качестве минимальной структурной единицы мультифрейм длительностью 120 мс, состоящий из 26 фреймов. Для упрощения электроники терминалов мультифреймы восходящего и нисходящего потоков передаются последовательно и разделены во времени паузой, равной трем слотам. Это означает невозможность полнодуплексного соединения в сетях GSM. Согласно техническим спецификациям, различают следующие разновидности каналов TCH: голосовые - 14,4 Kbps, данных - 9,6 Kbps, 4,8 Kbps и 2,4 Kbps, а также СВСН - Cell Broadcast Channel. Скорости 14,4 Kbps для данных удается достичь только за счет удаления заголовочной структуры блоков TCH и специальных алгоритмов коррекции ошибок. Так как GSM является цифровой сетью, для передачи не голосовых данных не требуется отдельного модема.
Для инициирования вызовов и прочей служебной информации предназначены управляющие каналы (Control Channels), оперирующие мультифреймами из 51 фрейма. Мобильный терминал может использовать общий канал не только в режиме ожидания, но и во время передачи данных по ТСН. Есть несколько типов таких каналов, в том числе:
· Broadcast Control Channel (ВССН) - однонаправленный канал, по которому постоянно передается информация о параметрах и конфигурации базовой станции;
· Frequency Correction Channel (FCCH) и Synchronisation Channel (SCH) - используются при синхронизации терминалов с временными параметрами логических каналов;
· Random Access Channel (RACH), Paging Channel (PCH) - отвечают за инициализацию исходящих и входящих вызовов;
· Access Grant Channel (AGCH) -обслуживает процедуры присваивания канала.
Разнообразие назначений каналов вызвало появление четырех разновидностей элементарной структуры данных (burst):
· Normal (нормальная) - общей длиной 156 бит, содержит 114 бит полезных данных;
· F-burst и S-burst - с иной структурой, но той же длины, используются в каналах FCCH и SCH;
· Access burst - более короткая, предназначена для канала RACH.
Для передачи цифровых данных через аналоговый радиоканал используется метод гауссовой модуляции с минимальным сдвигом (Gaussian Minimum Shift Keying, GMSK). Теоретически полная пропускная способность физического канала составляет около 270 Kbps. По информации Motorola, ее оборудование реально обеспечивает 172 Kbps на одной несущей, базовая станция поддерживает в стандартной конфигурации 6 несущих, хотя в принципе их количество можно увеличить до 24. Это дает нам соты (0,1-70 км) от 1 Mbps до 4 Mbps (если методы увеличения числа несущих не приводят к уменьшению удельной пропускной способности). Частично нейтрализовать влияние аномальных “провалов”, возникающих на отдельных участках спектра в результате многопутевого распространения сигналов с появлением отражений, удается периодической сменой частоты (frequency hopping). Каждый следующий фрейм передается на другой частоте, при этом в секунду выполняется 217 скачков. Схема, по которой осуществляются скачки, постоянно транслируется базовой станцией по каналу ВССН. Несмотря на заявленную совместимость с ISDN, пропускная способность одного присвоенного логического канала не превышает 14 Kbps.
Что касается услуг, то здесь разработчики стандарта с самого начала стремились обеспечить совместимость сетей GSM и ISDN (Integrated Service Digital Network) по набору предлагаемых услуг. Помимо привычной телефонной связи пользователю GSM предоставляются разнообразные услуги передачи данных. Абоненты GSM могут осуществлять обмен информацией с абонентами ISDN, обычных телефонных сетей, сетей с коммутацией пакетов и сетей связи с коммутацией каналов, используя различные методы и протоколы доступа, например Х.25. Возможна передача факсимильных сообщений, реализуемых при использовании соответствующего адаптера для факс-аппарата. Уникальной возможностью GSM, которой не было в старых аналоговых системах, является двунаправленная передача коротких сообщений SMS (Short Message Service) - до 160 байт, передаваемых в режиме с промежуточным хранением данных.
В "цифре" удалось реализовать дополнительные возможности, которые недоступны в аналоговых стандартах предыдущего поколения. В основном это относится к качеству звучания голоса собеседника (качество передачи и кодирования речи), аутентификации абонента и автоматическому роумингу. Кроме того, это:
· использование SIM-карт для обеспечения доступа к каналу и услугам связи;
· шифрование передаваемых сообщений;
· закрытый от прослушивания радиоинтерфейс;
· аутентификация абонента и идентификация абонентского оборудования по криптографическим алгоритмам;
· использование служб коротких сообщений, передаваемых по каналам сигнализации;
· автоматический роуминг абонентов различных сетей GSM в национальном и международном масштабе;
межсетевой роуминг абонентов GSM с абонентами сетей стандартов DCS1800, PCS1900, DECT, а также со спутниковой системой персональной радиосвязи Globalstar.
Хотя сам принцип сотовой связи был придуман в Америке, первые коммерческие системы - на базе NMT - появились в Европе, а стандарту GSM вообще удалось выйти за пределы Европы и по сути завоевать весь мир: по некоторым оценкам, пользователи GSM составляют свыше половины абонентов сотовых сетей во всем мире.
GSM получил прописку на всех континентах и проник - в виде GSM 1800 - даже в Америку. Конечно, успех любой технологии определяется не только (а часто и не столько) ее техническими достоинствами, но в случае GSM они сыграли немаловажную роль. Еще в начале 80-х гг., когда сотовая связь только-только зарождалась, европейские правительства и операторы создали рабочую группу Group Special Mobile для разработки общеевропейского стандарта сотовой связи, причем с самого начала они ориентировались на цифровую связь, хотя в то время эффективных алгоритмов сжатия речи еще не было. Разработка стандарта заняла без малого десять лет, и первые коммерческие сети появились только в самом начале 90-х гг. Однако в то время на американском рынке доминировали аналоговые системы AMPS, а по сравнению с ними GSM был гигантским шагом вперед.
Как цифровая технология, помимо передачи речи GSM может поддерживать и передачу данных. Прежде всего, это широко доступная для абонентов GSM служба коротких сообщений (Short Message Service, SMS), причем сообщения (длиной до 160 байт) могут передаваться в обоих направлениях. SMS может использоваться, например, для автоматического оповещения администратора о каких-либо событиях в сети, так как сообщения могут отправляться не только с телефона на телефон, но и через Internet. При наличии модема сотовый телефон может использоваться для передачи файлов с компьютера и других подобных целей. Конечно, скорость передачи при этом небольшая, да и обходится это не дешево, но для нас важно наличие принципиальной возможности, тем более что скорости увеличиваются - с 9,6 до 14,4 Кбит/с, а в скором времени - и свыше сотни килобит в секунду, а цены падают. Кроме того, в определенных ситуациях деньги отходят на второй план.
Новое поколение сотовых телефонов оснащается микроброузерами, так что их можно непосредственно использовать для чтения сообщений электронной почты, просмотра информации Web и т. п. Все это ведет к тому, что сотовые телефоны становятся такими же компонентами корпоративной сети, как, например, PDA, тем более что некоторые производители совмещают функции обоих в одном устройстве
Теперь рассмотрим основные элементы структуры сети GSM. Мобильные терминалы взаимодействуют посредством радиоинтерфейса с подсистемой базовой станции (Base Station Sub-system), которая включает в себя два основных элемента: Base Tranceiver Station (BTS) и Base Station Controler (BSC). Первый из них - это комплекс передатчиков, определяющий элементарную соту сети. Второй - управляющее оборудование, заведующее инициализацией каналов и алгоритмом частотных скачков. Одна BSC может обслуживать сразу несколько BTS, что позволяет разбивать зону обслуживания на более мелкие соты, обмен данными между которыми происходит по стандартному интерфейсу Abis. Вообще максимальное использование стандартизированных протоколов необходимо, чтобы не было зависимости операторов от одного поставщика оборудования. Все BSC-подсистемы базовой станции связаны с (NSS) Network Subsystem, где Mobile services Switching Center (MSC), выполняет функции коммутатора как для соединений в рамках своей зоны обслуживания, так и при взаимодействии с общественными сетями (PSTN, ISDN и т. д.). MSC в своей работе пользуется услугами четырех других компонентов подсистемы: Home Location Register (HLR), Visitor Location Register (VLR), Equipment Identity Register (EIR) и Authentication Center (AuC). Первые два отвечают за функции учета и контроля: HLR содержит информацию обо всех подписчиках, зарегистрированных в сети оператора, а VLR оперирует подмножеством данных из HLR (сведения о пользователях, в настоящий момент находящихся в зоне ответственности определенного MSC). Другие два регистра обеспечивают хранение различных идентификционных данных: EIR - описывает все зарегистрированные в сети мобильные терминалы согласно регистру International Mobile Equipment Identity (IMEI), AuC - содержит базу секретных ключей SIM-карт подписчиков.
Обмен данными между всеми компонентами сетевой подсистемы регламентируется стандартом Signalling System 7. Необходимо отметить, что большинство производителей интегрирует VLR с MSC.
Основная идея General Packet Radio Service состоит в максимальном использовании пакетной идеологии современных цифровых сетей. Учитывая опыт Internet-коммуникаций, легко понять, что передача данных в подобной среде обычно носит неравномерный, взрывной характер. Коммутация на уровне пакетов позволяет гибко регулировать доступную пользователю пропускную способность в зависимости от текущей нагрузки на сеть, а значит, более эффективно использовать радиочастотные ресурсы. Согласно методике GPRS, каждый мобильный терминал может занять под свои данные более одного логического канала, соответственно наращивая пропускную способность соединения по формуле: 14,4 Kbps x колво каналов. Выделение радиоресурсов для передачи пакета будет происходить достаточно быстро, задержка не должна превышать 1 секунды. Таким образом, создается иллюзия постоянного подключения к сети.
К тому же, введение GPRS будет способствовать более бережливому и рациональному распределению радиочастотного ресурса, можно сказать, что "пакеты" данных предполагается передавать одновременно по многим каналам (именно в одновременном использовании нескольких каналов и заключается выигрыш в скорости) в паузах между передачей речи. И только в паузах - голосовой трафик имеет безусловный приоритет перед данными, так что скорость передачи информации определяется не только возможностями сетевого и абонентского оборудования, но и загрузкой сети. Подчеркну, что в GPRS ни один канал не занимается под передачу данных целиком - и это основное качественное отличие новой технологии от используемых ныне.
2. ЦИФРОВАЯ СОТОВАЯ СИСТЕМА ПОДВИЖНОЙ РАДИОСВЯЗИ СТАНДАРТА GSM
2.1 Общие характеристики стандарта GSM
В соответствии с рекомендацией СЕРТ 1980 г., касающейся использования спектра частот подвижной связи в диапазоне частот 862-960 МГц, стандарт GSM на цифровую общеевропейскую (глобальную) сотовую систему наземной подвижной связи предусматривает работу передатчиков в двух диапазонах частот: 890-915 МГц (для передатчиков подвижных станций - MS), 935-960 МГц (для передатчиков базовых станций - BTS) (1, 2).
В стандарте GSM используется узкополосный многостанционный доступ с временным разделением каналов (NB ТDМА). В структуре ТDМА кадра содержится 8 временных позиций на каждой из 124 несущих. Для защиты от ошибок в радиоканалах при передаче информационных сообщений применяется блочное и сверточное кодирование с перемежением. Повышение эффективности кодирования и перемежения при малой скорости перемещения подвижных станций достигается медленным переключением рабочих частот (SFH) в процессе сеанса связи со скоростью 217 скачков в секунду. Для борьбы с интерференционными замираниями принимаемых сигналов, вызванными многолучевым распространением радиоволн в условиях города, в аппаратуре связи используются эквалайзеры, обеспечивающие выравнивание импульсных сигналов со среднеквадратическим отклонением времени задержки до 16 мкс.
Система синхронизации рассчитана на компенсацию абсолютного времени задержки сигналов до 233 мкс, что соответствует максимальной дальности связи или максимальному радиусу ячейки (соты) 35 км.
В стандарте GSM выбрана гауссовская частотная манипуляция с минимальным частотным сдвигом (GMSK). Обработка речи осуществляется в рамках принятой системы прерывистой передачи речи (DTX), которая обеспечивает включение передатчика только при наличии речевого сигнала и отключение передатчика в паузах и в конце разговора. В качестве речепреобразующего устройства выбран речевой кодек с регулярным импульсным возбуждением/долговременным предсказанием и линейным предикативным кодированием с предсказанием (RPE/LTR-LTP-кодек). Общая скорость преобразования речевого сигнала - 13 кбит/с. В стандарте GSM достигается высокая степень безопасности передачи сообщений; осуществляется шифрование сообщений по алгоритму шифрования с открытым ключом (RSA).
В целом система связи, действующая в стандарте GSM, рассчитана на ее использование в различных сферах. Она предоставляет пользователям широкий диапазон услуг и возможность применять разнообразное оборудование для передачи речевых сообщений и данных, вызывных и аварийных сигналов; подключаться к телефонным сетям общего пользования (PSTN), сетям передачи данных (PDN) и цифровым сетям с интеграцией служб (ISDN). Основные характеристики стандарта GSM представлены в таблице 1.
Таблица 1 - Основные характеристики стандарта GSM
| Частоты передачи подвижной станции приема базовой станции, МГц | 890-915 |
| Частоты приема подвижной станции и передачи базовой станции, МГц | 935-960 |
| Дуплексный разнос частот приема и передачи, МГц | 45 |
| Скорость передачи сообщений в радиоканале, кбит/с | 270, 833 |
| Скорость преобразования речевого кодека, кбит/с | 13 |
| Ширина полосы канала связи, кГц | 200 |
| Максимальное количество каналов связи | 124 |
| Максимальное количество каналов, организуемых в базовой станции | 16-20 |
| Вид модуляции | GMSK |
| Индекс модуляции | ВТ 0,3 |
| Ширина полосы предмодуляционного гауссовского фильтра, кГц | 81,2 |
| Количество скачков по частоте в секунду | 217 |
| Временное разнесение в интервалах ТDМА кадра (передача/прием) для подвижной станции | 2 |
| Вид речевого кодека | RPE/LTP |
| Максимальный радиус соты, км | до 35 |
| Схема организации каналов комбинированная TDMA/FDMA |
2.2 Структурная схема и состав оборудования сетей связи
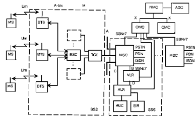
Функциональное построение и интерфейсы, принятые в стандарте GSM, иллюстрируются структурной схемой рис.1.1, на которой MSC (Mobile Switching Centre) - центр коммутации подвижной связи; BSS (Base Station System) - оборудование базовой станции; ОМС (Operations and Maintenance Centre) - центр управления и обслуживания; MS (Mobile Stations) - подвижные станции.
Функциональное сопряжение элементов системы осуществляется рядом интерфейсов. Все сетевые функциональные компоненты в стандарте GSM взаимодействуют в соответствии с системой сигнализации МККТТ SS N 7 (CCITT SS. N 7).

Рис. 1.1 – Структурная схема сотовой системы стандарта GSM
Центр коммутации подвижной связи обслуживает группу сот и обеспечивает все виды соединений, в которых нуждается в процессе работы подвижная станция. MSC аналогичен ISDN коммутационной станции и представляет собой интерфейс между фиксированными сетями (PSTN, PDN, ISDN и т.д.) и сетью подвижной связи. Он обеспечивает маршрутизацию вызовов и функции управления вызовами. Кроме выполнения функций обычной ISDN коммутационной станции, на MSC возлагаются функции коммутации радиоканалов. К ним относятся "эстафетная передача", в процессе которой достигается непрерывность связи при перемещении подвижной станции из соты в соту, и переключение рабочих каналов в соте при появлении помех или неисправностях.
Каждый MSC обеспечивает обслуживание подвижных абонентов, расположенных в пределах определенной географической зоны (например, Москва и область). MSC управляет процедурами установления вызова и маршрутизации. Для телефонной сети общего пользования (PSTN) MSC обеспечивает функции сигнализации по протоколу SS N 7, передачи вызова или другие виды интерфейсов в соответствии с требованиями конкретного проекта. MSC формирует данные, необходимые для выписки счетов за предоставленные сетью услуги связи, накапливает данные по состоявшимся разговорам и передает их в центр расчетов (биллинг-центр). MSC составляет также статистические данные, необходимые для контроля работы и оптимизации сети. MSC поддерживает также процедуры безопасности, применяемые для управления доступами к радиоканалам.
MSC не только участвует в управлении вызовами, но также управляет процедурами регистрации местоположения и передачи управления, кроме передачи управления в подсистеме базовых станций (BSS). Регистрация местоположения подвижных станций необходима для обеспечения доставки вызова перемещающимся подвижным абонентам от абонентов телефонной сети общего пользования или других подвижных абонентов. Процедура передачи вызова позволяет сохранять соединения и обеспечивать ведение разговора, когда подвижная станция перемещается из одной зоны обслуживания в другую. Передача вызовов в сотах, управляемых одним контроллером базовых станций (BSC), осуществляется этим BSC. Когда передача вызовов осуществляется между двумя сетями, управляемыми разными BSC, то первичное управление осуществляется в MSC. В стандарте GSM также предусмотрены процедуры передачи вызова между сетями (контроллерами), относящимися к разным MSC. Центр коммутации осуществляет постоянное слежение за подвижными станциями, используя регистры положения (HLR) и перемещения (VLR). В HLR хранится та часть информации о местоположении какой-либо подвижной станции, которая позволяет центру коммутации доставить вызов станции. Регистр HLR содержит международный идентификационный номер подвижного абонента (IMSI). Он используется для опознавания подвижной станции в центре аутентификации (AUC) (рис. 1.2, 1.3).

Рисунок 1.2. – Состав долговременных данных в HLR, VLR
Функциональное сопряжение элементов системы осуществляется рядом интерфейсов. Все сетевые функциональные компоненты в стандарте GSM взаимодействуют в соответствии с системой сигнализации МККТТ SS N 7 (CCITT SS. N 7).
Практически HLR представляет собой справочную базу данных о постоянно прописанных в сети абонентах. В ней содержатся опознавательные номера и адреса, а также параметры подлинности абонентов, состав услуг связи, специальная информация о маршрутизации. Ведется регистрация данных о роуминге (блуждании) абонента, включая данные о временном идентификационном номере подвижного абонента (TMSI) и соответствующем VLR.
К данным, содержащимся в HLR, имеют дистанционный доступ все MSC и VLR сети и, если в сети имеются несколько HLR, в базе данных содержится только одна запись об абоненте, поэтому каждый HLR представляет собой определенную часть общей базы данных сети об абонентах. Доступ к базе данных об абонентах осуществляется по номеру IMSI или MSISDN (номеру подвижного абонента в сети ISDN). К базе данных могут получить доступ MSC или VLR, относящиеся к другим сетям, в рамках обеспечения межсетевого роуминга абонентов.
Второе основное устройство, обеспечивающее контроль за передвижением подвижной станции из зоны в зону, - регистр перемещения VLR. С его помощью достигается функционирование подвижной станции за пределами зоны, контролируемой HLR. Когда в процессе перемещения подвижная станция переходит из зоны действия одного контроллера базовой станции BSC, объединяющего группу базовых станций, в зону действия другого BSC, она регистрируется новым BSC, и в VLR заносится информация о номере области связи, которая обеспечит доставку вызовов под состав временных данных, хранящихся в HLR и VLR (рис.1.3).
Практически HLR представляет собой справочную базу данных о постоянно прописанных в сети абонентах. В ней содержатся опознавательные номера и адреса, а также параметры подлинности абонентов, состав услуг связи, специальная информация о маршрутизации. Ведется регистрация данных о роуминге (блуждании) абонента, включая данные о временном идентификационном номере подвижного абонента (TMSI) и соответствующем VLR.

Рисунок 1.3 - Состав временных данных, хранящихся в HLR и VLR
К данным, содержащимся в HLR, имеют дистанционный доступ все MSC и VLR сети и, если в сети имеются несколько HLR, в базе данных содержится только одна запись об абоненте, поэтому каждый HLR представляет собой определенную часть общей базы данных сети об абонентах. Доступ к базе данных об абонентах осуществляется по номеру IMSI или MSISDN (номеру подвижного абонента в сети ISDN). К базе данных могут получить доступ MSC или VLR, относящиеся к другим сетям, в рамках обеспечения межсетевого роуминга абонентов.
Второе основное устройство, обеспечивающее контроль за передвижением подвижной станции из зоны в зону, - регистр перемещения VLR. С его помощью достигается функционирование подвижной станции за пределами зоны, контролируемой HLR. Когда в процессе перемещения подвижная станция переходит из зоны действия одного контроллера базовой станции BSC, объединяющего группу базовых станций, в зону действия другого BSC, она регистрируется новым BSC, и в VLR заносится информация о номере области связи, которая обеспечит доставку вызовов подвижной станции. Для сохранности данных, находящихся в HLR и VLR, в случае сбоев предусмотрена защита устройств памяти этих регистров. VLR содержит такие же данные, как и HLR, однако эти данные содержатся в VLR только до тех пор, пока абонент находится в зоне, контролируемой VLR.
В сети подвижной связи GSM соты группируются в географические зоны (LA), которым присваивается свой идентификационный номер (LAC). Каждый VLR содержит данные об абонентах в нескольких LA. Когда подвижный абонент перемещается из одной LA в другую, данные о его местоположении автоматически обновляются в VLR. Если старая и новая LA находятся под управлением различных VLR, то данные на старом VLR стираются после их копирования в новый VLR. Текущий адрес VLR абонента, содержащийся в HLR, также обновляется.
VLR обеспечивает также присвоение номера "блуждающей" подвижной станции (MSRN). Когда подвижная станция принимает входящий вызов, VLR выбирает его MSRN и передает его на MSC, который осуществляет маршрутизацию этого вызова к базовым станциям, находящимся рядом с подвижным абонентом.
VLR также распределяет номера передачи управления при передаче соединений от одного MSC к другому. Кроме того, VLR управляет распределением новых TMSI и передает их в HLR. Он также управляет процедурами установления подлинности во время обработки вызова. По решению оператора TMSI может периодически изменяться для усложнения процедуры идентификации абонентов. Доступ к базе данных VLR может обеспечиваться через IMSI, TMSI или MSRN. В целом VLR представляет собой локальную базу данных о подвижном абоненте для той зоны, где находится абонент, что позволяет исключить постоянные запросы в HLR и сократить время на обслуживание вызовов.
Для исключения несанкционированного использования ресурсов системы связи вводятся механизмы аутентификации - удостоверения подлинности абонента. Центр аутентификации состоит из нескольких блоков и формирует ключи и алгоритмы аутентификации. С его помощью проверяются полномочия абонента и осуществляется его доступ к сети связи. AUC принимает решения о параметрах процесса аутентификации и определяет ключи шифрования абонентских станций на основе базы данных, сосредоточенной в регистре идентификации оборудования (EIR - Equipment Identification Register).
Каждый подвижный абонент на время пользования системой связи получает стандартный модуль подлинности абонента (SIM), который содержит: международный идентификационный номер (IMSI), свой индивидуальный ключ аутентификации (Ki), алгоритм аутентификации (A3).
С помощью записанной в SIM информации в результате взаимного обмена данными между подвижной станцией и сетью осуществляется полный цикл аутентификации и разрешается доступ абонента к сети. Процедура проверки сетью подлинности абонента реализуется следующим образом. Сеть передает случайный номер (RAND) на подвижную станцию. На ней с помощью Ki и алгоритма аутентификации A3 определяется значение отклика (SRES), т.е.
SRES = Ki * ( RAND) (2.1)
Подвижная станция посылает вычисленное значение SRES в сеть, которая сверяет значение принятого SRES со значением SRES, вычисленным сетью. Если оба значения совпадают, подвижная станция приступает к передаче сообщений. В противном случае связь прерывается, и индикатор подвижной станции показывает, что опознавание не состоялось. Для обеспечения секретности вычисление SRES происходит в рамках SIM. Несекретная информация (например, Ki) не подвергается обработке в модуле SIM.
EIR - регистр идентификации оборудования, содержит централизованную базу данных для подтверждения подлинности международного идентификационного номера оборудования подвижной станции (1МЕ1). Эта база данных относится исключительно к оборудованию подвижной станции. База данных EIR состоит из списков номеров 1МЕ1, организованных следующим образом:
Белый список - содержит номера 1МЕ1, о которых есть сведения, что они закреплены за санкционированными подвижными станциями.
Черный список - содержит номера 1МЕ1 подвижных станций, которые украдены или которым отказано в обслуживании по другой причине.
Серый список - содержит номера 1МЕ1 подвижных станций, у которых существуют проблемы, выявленные по данным программного обеспечения, что не является основанием для внесения в "черный список".
К базе данных EIR получают дистанционный доступ MSC данной сети, а также MSC других подвижных сетей. Как и в случае с HLR, сеть может иметь более одного EIR, при этом каждый EIR управляет определенными группами 1МЕ1. В состав MSC входит транслятор, который при получении номера 1МЕ1 возвращает адрес EIR, управляющий соответствующей частью базы данных об оборудовании.
IWF - межсетевой функциональный стык, является одной из составных частей MSC. Он обеспечивает абонентам доступ к средствам преобразования протокола и скорости передачи данных так, чтобы можно было передавать их между его терминальным оборудованием (DIE) сети GSM и обычным терминальным оборудованием фиксированной сети. Межсетевой функциональный стык также "выделяет" модем из своего банка оборудования для сопряжения с соответствующим модемом фиксированной сети. IWF также обеспечивает интерфейсы типа прямого соединения для оборудования, поставляемого клиентам, например, для пакетной передачи данных PAD по протоколу Х.25.
ЕС - эхоподавитель, используется в MSC со стороны PSTN для всех телефонных каналов (независимо от их протяженности) из-за физических задержек в трактах распространения, включая радиоканал, сетей GSM. Типовой эхоподавитель может обеспечивать подавление в интервале 68 миллисекунд на участке между выходом ЕС и телефоном фиксированной телефонной сети. Общая задержка в канале GSM при распространении в прямом и обратном направлениях, вызванная обработкой сигнала, кодированием/декодированием речи, канальным кодированием и т.д., составляет около 180 мс. Эта задержка была бы незаметна подвижному абоненту, если бы в телефонный канал не был включен гибридный трансформатор с преобразованием тракта с двухпроводного на четырехпроводный режим, установка которого необходима в MSC, так как стандартное соединение с PSTN является двухпроводным. При соединении двух абонентов фиксированной сети эхо-сигналы отсутствуют. Без включения ЕС задержка от распространения сигналов в тракте GSM будет вызывать раздражение у абонентов, прерывать речь и отвлекать внимание.
ОМС - центр эксплуатации и технического обслуживания, является центральным элементом сети GSM, который обеспечивает контроль и управление другими компонентами сети и контроль качества ее работы. ОМС соединяется с другими компонентами сети GSM по каналам пакетной передачи протокола Х.25. ОМС обеспечивает функции обработки аварийных сигналов, предназначенных для оповещения обслуживающего персонала, и регистрирует сведения об аварийных ситуациях в других компонентах сети. В зависимости от характера неисправности ОМС позволяет обеспечить ее устранение автоматически или при активном вмешательстве персонала. ОМС может обеспечить проверку состояния оборудования сети и прохождения вызова подвижной станции. ОМС позволяет производить управление нагрузкой в сети. Функция эффективного управления включает сбор статистических данных о нагрузке от компонентов сети GSM, записи их в дисковые файлы и вывод на дисплей для визуального анализа. ОМС обеспечивает управление изменениями программного обеспечения и базами данных о конфигурации элементов сети. Загрузка программного обеспечения в память может производиться из ОМС в другие элементы сети или из них в ОМС.
NMC - центр управления сетью, позволяет обеспечивать рациональное иерархическое управление сетью GSM. Он обеспечивает эксплуатацию и техническое обслуживание на уровне всей сети, поддерживаемой центрами ОМС, которые отвечают за управление региональными сетями. NMC обеспечивает управление трафиком во всей сети и обеспечивает диспетчерское управление сетью при сложных аварийных ситуациях, как например, выход из строя или перегрузка узлов. Кроме того, он контролирует состояние устройств автоматического управления, задействованных в оборудовании сети, и отражает на дисплее состояние сети для операторов NMC. Это позволяет операторам контролировать региональные проблемы и, при необходимости, оказывать помощь ОМС, ответственному за конкретный регион. Таким образом, персонал NMC знает состояние всей сети и может дать указание персоналу ОМС изменить стратегию решения региональной проблемы.
NMC концентрирует внимание на маршрутах сигнализации и соединениях между узлами с тем, чтобы не допускать условий для возникновения перегрузки в сети. Контролируются также маршруты соединений между сетью GSM и PSTN во избежание распространения условий перегрузки между сетями. При этом персонал NMC координирует вопросы управления сетью с персоналом других NMC. NMC обеспечивает также возможность управления трафиком для сетевого оборудования подсистемы базовых станций (BSS). Операторы NMC в экстремальных ситуациях могут задействовать такие процедуры управления, как "приоритетный доступ", когда только абоненты с высоким приоритетом (экстренные службы) могут получить доступ к системе. NMC может брать на себя ответственность в каком-либо регионе, когда местный ОМС является необслуживаемым, при этом ОМС действует в качестве транзитного пункта между NMC и оборудованием сети. NMC обеспечивает операторов функциями, аналогичными функциям ОМС. NMC является также важным инструментом планирования сети, так как NMC контролирует сеть и ее работу на сетевом уровне, а, следовательно, обеспечивает планировщиков сети данными, определяющими ее оптимальное развитие.
BSS - оборудование базовой станции, состоит из контроллера базовой станции (BSC) и приемо-передающих базовых станций (BTS). Контроллер базовой станции может управлят