Разработка микропроцессорной системы цифрового термометра на базе микроконтроллера
Современную микроэлектронику трудно представить без такой важной составляющей, как микроконтроллеры. Микроконтроллеры незаметно завоевали весь мир. Микроконтроллерные технологии очень эффективны. Одно и то же устройство, которое раньше собиралось на традиционных элементах, будучи собрано с применением микроконтроллеров, становится проще, не требует регулировки и меньше по размерам. С применением микроконтроллеров появляются практически безграничные возможности по добавлению новых потребительских функций и возможностей к уже существующим устройствам. Для этого достаточно просто изменить программу.
Однокристальные (однокорпусные) микроконтроллеры представляют собой приборы, конструктивно выполненные в виде БИС и включающие в себя следующие составные части: микропроцессор, память программ и память данных, а также программируемые интерфейсные схемы для связи с внешней средой.
Мировая промышленность выпускает огромную номенклатуру микроконтроллеров. По области применения их можно разделить на два класса : специализированные, предназначенные для применения в какой-либо одной конкретной области (контроллер для телевизора, контроллер для модема, контроллер для компьютерной мышки ) и универсальные, которые не имеют конкретной специализации и могут применяться в самых различных областях микроэлектроники, с помощью которых можно создать как любое из перечисленных выше устройств, так и принципиально новое устройство.
Цель курсовой работы – основываясь на знаниях, полученных при изучении темы «Микроконтроллеры и микропроцессорные системы» разработать микропроцессорную систему цифрового термометра на базе микроконтроллера.
1. Описание объекта и функциональная спецификация
Разработаем устройство предназначено для фиксации минимальной и максимальной суточных температур по двум термодатчикам с записью в память микроконтроллера данных за восемь дней. Его можно использовать для наблюдения за изменением температуры наружного воздуха на метеостанциях, при различных технологических процессах и в домашних условиях.
Устройство состоит из двух термодатчиков типа DS18B20, микроконтроллера PIC16F628, двухрядного жидкокристаллического индикатора GDM1602 и кнопок управления "Режим", "Разряд", "Установка", "Просмотр 1-2/Сброс" и "Просмотр".
Устройство поддерживает три режима индикации:
• текущий — вывод текущих значений числа, месяца, времени и температуры по двум термодатчикам с точностью 0,1 градуса;
• установка даты и времени;
• просмотр — вывод на индикатор зафиксированных значений максимальной и минимальной температур текущего дня, а при нажатии кнопки "Просмотр" — и значения экстремальных температур предыдущих восьми дней. При нажатии кнопки "Просмотр 1-2" можно просмотреть экстремальные значения температур по первому и второму термодатчикам и время, когда эти значения были зафиксированы.
Функциональная спецификация
1. Входы
a. Два термодатчика типа DS18B20
b. 5 кнопок управления
2. Выходы
a. двухрядный жидкокристаллический индикатор GDM1602
3. Функции
a. Вывод текущего значения числа, месяца, времени и температуры по двум термодатчикам с точностью 0,1 градуса
b. Возможность установки даты и времени
c. Возможность просмотра на индикаторе зафиксированных значений максимальной и минимальной температур текущего дня, а при нажатии кнопки "Просмотр" — и значения экстремальных температур предыдущих восьми дней.
d. При нажатии кнопки "Просмотр 1-2" можно просмотреть экстремальные значения температур по первому и второму термодатчикам и время, когда эти значения были зафиксированы
2. Описание структуры системы
После определения входов и выходов устройства разработана структурная схема устройства. Структурная схема электронного термометра приведена на рис. 1.

Кнопки управления SB1- SB5
![]() | |||||||
![]() | |||||||
Рис. 1. Структурная схема электронного термометра
3. Описание ресурсов МК PIC16F628
Микроконтроллеры PIC 16С84 (16F84) также относятся к расширенному семейству, имеют целый ряд таких же существенных отличий от МК базового семейства PIC 16С5Х как и PIC 16С71, абсолютно не отличаются от последних системой команд и особенностями программирования, но обладают несколько другими функциональными возможностями.
Рассмотрим основные характеристики микроконтроллера PIC16F628А.
3.1 Характеристика RISC ядра
Тактовая частота от DC до 20МГц
Поддержка прерываний
8-уровневый аппаратный стек
Прямая, косвенная и относительная адресация
35 однословных команд
- все команды выполняются за один машинный цикл, кроме команд ветвления и условия с истинным результатом
3.2 Особенности микроконтроллеров
Внешний и внутренний режимы тактового генератора
- Прецизионный внутренний генератор 4МГц,
нестабильность +/- 1%
- Энергосберегающий внутренний генератор 37кГц
- Режим внешнего генератора для подключения кварцевого или керамического резонатора
Режим энергосбережения SLEEP
Программируемые подтягивающие резисторы на входах PORTB
Сторожевой таймер WDT с отдельным генератором
Режим низковольтного программирования
Программирование на плате через последовательный порт (ICSP) (с использованием двух выводов)
Защита кода программы
Сброс по снижению напряжения питания BOR
Сброс по включению питания POR
Таймер включения питания PWRT и таймер запуска генератора OST
Широкий диапазон напряжения питания от 2.0В до 5.5В
Промышленный и расширенный температурный диапазон
Высокая выносливость ячеек FLASH/EEPROM
- 100 000 циклов стирания /записи FLASH памяти программ
- 1 000 000 циклов стирания /записи EEPROM памяти данных
- Период хранения данных FLASH/EEPROM памяти > 100 лет
3.3 Характеристики пониженного энергопотребления
Работа PIC 16С84 в режиме SLEEP в основном полностью аналогична PIC 16С71 за исключением выхода из этого режима по прерыванию. В данном МК предусмотрен выход из режима SLEEP по окончанию записи данных-констант в EEPROM, так как прерывание от АЦП отсутствует.
Режим энергосбережения:
- 100нА @ 2.0В (тип.)
Режимы работы:
- 12мкА @ 32кГц, 2.0В (тип.)
- 120мкА @ 1МГц, 2.0В (тип.)
Генератор таймера TMR1:
- 1.2мкА, 32кГц, 2.0В (тип.)
Сторожевой таймер:
- 1мкА @ 2.0В (тип.)
Двухскоростной внутренний генератор:
- Выбор скорости старта 4МГц или 37кГц
- Время выхода из SLEEP режима 3мкс @ 3.0В (тип.)
3.4 Периферия
16 каналов ввода/вывода с индивидуальными битами направления
Сильноточные схемы портов сток/исток, допускающих непосредственное подключение светодиодов
Модуль аналоговых компараторов:
- Два аналоговых компаратора
- Внутренний программируемый источник опорного напряжения
- Внутренний или внешний источник опорного напряжения
- Выходы компараторов могут быть подключены на выводы микроконтроллера
TMR0: 8-разрядный таймер/счетчик с программируемым предделителем
TMR1: 16-разрядный таймер/счетчик с внешним генератором
TMR2: 8-разрядный таймер/счетчик с программируемым предделителем и постделителем
CCP модуль:
- разрешение захвата 16 бит
- разрешение сравнения 16 бит
- 10-разрядный ШИМ
Адресуемый USART модуль
| PICmicro | Память программ (слов) | Память данных | Портов I/O | CCP (ШИМ) | USART | Компар. | Таймеры 8/16 бит | |
ОЗУ (байт) | EEPROM (байт) | |||||||
| PIC16F628A | 2048 | 224 | 128 | 16 | 1 | + | 2 | 2/1 |
3.5 Расположение выводов

Рис. 2. Расположение выводов в различном исполнении микроконтроллеров PIC16F628А
3.6 Особенности структурной организации PIC 16С84
Главным отличием данного МК от PIC 16С71 является наличие электрически перепрограммируемой памяти данных-констант EEPROM и отсутствие модуля АЦП. Эти и другие связанные с ними отличия приведены в следующем списке:
1. Память программ электрически перепрограммируема (EEPROM). Это позволяет пользователю достаточно просто многократно перепрограммировать микроконтроллер, что очень существенно на этапе отладки рабочих программ и при изменении функциональных возможностей МКУ в процессе создания и эксплуатации.
2. Наличие дополнительной электрически перепрограммируемой EEPROM памяти для данных-констант размером 64х8 байт.
3. Четыре источника прерывания. Три из которых точно такие же как и в PIC 16С71:
- внешнее прерывание с вывода RBO/INT,
- прерывание от счетчика/таймера TMRO(RTCC),
- прерывание от изменения сигналов на входах порта RB<7:4>,
а четвертый источник новый:
- по завершению записи данных в памяти EEPROM.
4. Рабочая частота – 0 Гц.....10 МГц (минимальный цикл выполнения команды – 400 нс).
5. Модуль АЦП отсутствует.
6. Управляющий регистр прерываний INTCON модифицирован.
Вместо бита разрешения/запрещения прерывания от аналого-цифрового преобразователя ADIE в 6-м разряде регистра INTCON находится бит разрешения/запрещения прерывания по завершению записи данных в памяти EEPROM (EEIE), причем:
EEIE=0 запрещает прерывание (флаг EEIF в регистре EECON1), EEIE = 1 запрещает прерывание.
Назначение всех остальных бит регистра INTCON точно такое же как и в PIC 16С71
7. В составе 15-ти специальных регистров вместо ненужных в данном микроконтроллере ADCON, ADCON1, ADRES и ADRES2 (в связи с отсутствием АЦП) появились новые регистры EEDATA, EECON1, EEADR и EECON, которые управляют EEPROM данных-констант и расположены в ОЗУ(RAM) соответственно по тем же адресам. Более подробно они будут рассмотрены далее.

Рис. 3. Структурная схема ОМК PIC16F84 (16C84)
3.7 Обозначение выводов и их функциональное назначение
Расположение и обозначение выводов ОМК PIC 16С84 полностью совпадает с PIC 16С71 за исключением того, что ножки RA0, RA1, RA2, RA3 в связи отсутствием АЦП представляют собой лишь двунаправленные линии ввода/вывода сигналов с ТТЛ уровнями.
3.8 Организация памяти данных (ОЗУ)
Область ОЗУ организована как 128х8, имеет также 2-е страницы с одинаковыми объемом (128 байт) и практически не отличается от памяти данных PIC 16С71 за исключением того, что на местах регистров ADCON, ADCON1, ADRES и ADRES2 в связи с отсутствием АЦП находятся соответственно регистры управления EEPROM данных-констант EEDATA (08h), EECON1 (88h), EEADR (09h), EECON2 (89h).
Все регистры PIC 16C84 (16F84), также как и во всех других ОМК семейства PIC, разделяются на две функциональные группы: специальные регистры и регистры общего назначения (РОН).
Регистры специального назначения используются для управления функциями микроконтроллера и могут быть разделены на два набора: регистры базовых функций и регистры периферийных устройств. Регистры базовых функций включают в себя регистр-переключатель косвенной адресации (INDF), программный счетчик (РС), представленный двумя регистрами PCL и PCLATH, регистр слова состояния (STATUS), регистр-указатель косвенной адресации (FSR), рабочий регистр (W), регистр прерываний (INTCON), а также регистр режимов работы или конфигурации предварительного делителя и таймера (OPTION). Регистры периферийных устройств включают в себя регистры ввода/вывода (RA-порт А и RB-порт В), регистры данных (EEDATA) и адреса (EEADR) памяти данных-констант, регистр таймера-счетчика (TMPO) и регистры управления конфигурацией портов ввода/вывода (TRISA и TRISB).
К ячейкам ОЗУ можно точно также как и в PIC 16С71 адресоваться прямо или косвенно, через регистр указатель FSR (04h). Это, кстати, относится и к EEPROM памяти данных-констант.
Долговременная память данных-констант EEPROM
Память данных-констант EEPROM позволяет прочитать и записать байт информации. При записи байта автоматически стирается предыдущее значение и записывается новое (стирание перед записью). Все эти операции производит встроенный автомат записи EEPROM. Содержимое ячеек этой памяти сохраняется при выключенном питании.
При считывании данных из памяти EEPROM необходимо записать требуемый адрес в EEADR регистр и затем установить бит RD EECON1<0> в единицу. Данные появятся в следующем командном цикле в регистре EEDATA и могут быть прочитаны. Данные в регистре EEDATA защелкиваются. Пример фрагмента программы считывания данных из памяти данных-констант EEPROM приведена ниже:
Считывание из памяти данных-констант
Bcf STATUS , RP0 ; Установка банка 0.
Movlw CONFIG_ADDR ;
Movwf EEADR ; Адрес чтения.
Bsf STATUS , RP0 ; Установка банка 1.
Bsf EECON1 , RD ; Чтение EEPROM.
Bcf STATUS , RP0 ; Установка банка 0.
Movf EEDATA , W ; Считанные данные W.
При записи в память EEPROM, необходимо сначала записать требуемый адрес в EEADR регистр и данные в EEDATA регистр. Затем выполнить специальную обязательную последовательность команд, производящую непосредственную запись:
Movlw 55h ;
Movwf EECON2 ; Запись 55 h.
Movlw AAh ;
Movwf EECON2 ; Запись AA h.
Bsf EECON1 , WR ; Установка бита WR,
; начало цикла записи.
Во время выполнения этого участка программы, все прерывания должны быть запрещены для точного выполнения временной диаграммы. Время записи - примерно 10мс. Фактическое время записи будет изменяться в зависимости от напряжения, температуры и индивидуальных свойств кристалла. В конце записи бит WR автоматически обнуляется, а флаг завершения записи EEIF, он же запрос на прерывание, устанавливается. Пример фрагмента программы записи в память данных-констант EEPROM приведена ниже:
; Запись в память данных-констант.
Bsf Status , RP0 ; Установка банка 1.
Bcf Intcon , GIE ; Запрет прерываний.
; Обязательая последовательность команд.
Movlw 55h ;
Movwf EECON2 ; Запись 55 h.
Movlw Aah ;
Movwf EECON2 ; Запись AA h.
Bsf EECON1, WR ; Установка бита WR,
; начало цикла записи.
;Bsf Intcon , GIE ; Разрешение прерываний.
Для предотвращения случайных записей в память данных предусмотрен специальный бит WREN в регистре EECON1. Рекомендуется держать бит WREN выключенным, кроме тех случаев, когда нужно обновить память данных. Более того, кодовые сегменты, которые устанавливают бит WREN и те, которые выполняют запись должны храниться на различных адресах, чтобы избежать случайного выполнения их обоих при сбое программы.
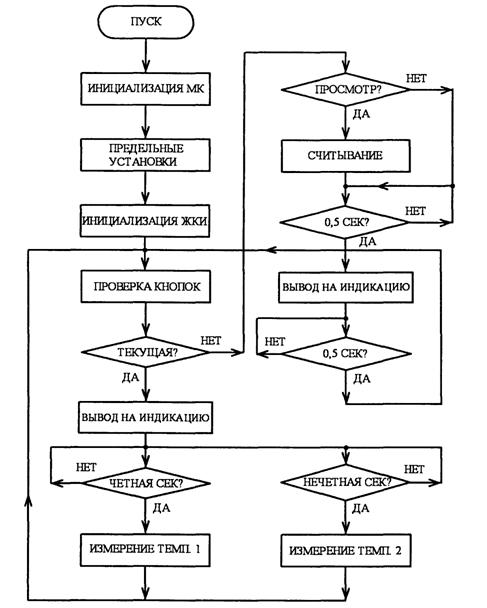
4. Разработка алгоритма работы устройства
Алгоритм работы устройства показан на рис. 4. После инициализации регистров микроконтроллера устанавливают пределы в текущих регистрах экстремальных значений. В регистры текущих максимальных температур записывается минимальная измеряемая термодатчиком температура (-55,0°С), а в регистры минимальных температур — максимальная измеряемая температура (+99,9°С). При таких установках любое значение температуры, измеренное первым, будет записано в регистр как максимальных, так и минимальных температур, поскольку оно окажется заведомо больше -55,0° и заведомо меньше +99,9 °. Дальнейшие измеренные значения будут сравниваться с первой записанной температурой и, при необходимости, корректировать значения регистров максимума и минимума. Такие же предельные установки регистров выполняются каждый день в полночь после записи в память значении экстремальных температур прошедшего дня.
Вообще, термодатчик может измерять максимальную температуру до +125°, но, во-первых, таких температур наружного воздуха просто не бывает, а во-вторых, автором были использованы все 96 регистров общего назначения основного банка. Поэтому оказалось разумным остановиться на максимальной измеряемой температуре +99,9°.
По завершении предельных установок выполняется инициализация ЖКИ. При инициализации ЖКИ без опроса освобождения от цикла записи зачастую возникают затруднения с включением индикатора.
Далее выполняется проверка кнопок. Обычно при проверке кнопок при установке режима индикации выполняется загрузка регистров индикации, но в данном случае из-за большого числа регистров индикации устанавливаются только флаги режимов. Если установлен флаг текущего режима индикации, то далее выполняется вывод на индикацию.

Рис. 3. Алгоритм работы термометров с памятью
Если выполнять вывод на индикацию обычным способом, т.е. последовательным заполнением всех знакомест, то потребуется 32 регистра индикации, поэтому вывод на индикацию выполняется построчно. Поскольку при разработке программы был испытан дефицит регистров общего назначения, все текущие и экстремальные значения температур сохраняются в двоичном коде, а перед выводом на индикацию перекодируются в двоично-десятичный код, который сразу записывается в регистры индикации. После вывода на индикацию первой (верхней) строки значения второй строки перекодируются и записываются в те же регистры индикации, а затем — выводятся на индикацию.
Для определения температуры с точностью 0,1 градуса термодатчиком DS18B20 необходимо время 0,75 с, поэтому каждое измерение одним термодатчиком выполняется один раз в две секунды. Измерение первым термодатчиком происходит каждую четную, а вторым — каждую нечетную секунду. На рис. 3 измерение двух температур показано параллельно, хотя в действительности они выполняются последовательно. После каждого измерения температуры происходит проверка кнопок и вывод на индикацию.
После каждого принятого от термодатчика значения температуры выполняется сравнение текущей температуры с температурой, сохраненной в регистрах максимальной и минимальной температуры. Сравнение температур начинается со сравнения знаков измеренного и сохраненного значения. После сравнения знаков, при необходимости, сравниваются значения измеренных и сохраненных величин. Алгоритм сравнения знаков и выполняемые действия в зависимости от результата сравнения можно понять, рассмотрев табл. 1.
Например, при сравнении на максимальное значение, если знаки сохраненного и измеренного значения — положительны, а измеренное значение больше сохраненного, то оно переписывается в регистр максимального значения. При сравнении на минимальное значение и аналогичной разности измеренного и сохраненного значений запись в регистры минимума выполняется, если оба знака — отрицательные. Если при сравнении на максимум сохраненный знак — положительный, а измеренный — отрицательный, то явно измеренное значение температуры будет меньше сохраненного значения, поэтому нет смысла его сохранять. Ситуация с частой сменой знаков измеренной и сохраненной температурами возможна при измерении температуры вблизи нуля.
Таблица 1. Сопоставление результатов сравнения и действий
| Сохр. Мах | + | + | - | - |
| Измеренное | + | - | + | - |
| Действие | И>С =3 | нет записи | запись | и<с = з |
| Сохр. Min | + | + | - | - |
| Измеренное | + | - | + | - |
| Действие | и <с = з | запись | нет записи | И>С =3 |
Знаки сохраненных экстремальных температур сохраняются с помощью флагов регистра, но использовать их для сравнения неудобно. По этой причине для сравнения используются значения знаков для вывода на индикацию (в кодировке ASCII минус 0x30). Так, например, знак "-" обозначен числом 253, а "+" — 251. При таком обозначении легко определить равенство или неравенство знаков и, воспользовавшись табл. 1, выполнить соответствующие действия.
Если термодатчик отключен от микроконтроллера, то на индикаторе высветится температура -00,0, а поскольку такой температуры не существует, то легко определить неисправность термодатчика.
Если при проверке кнопок окажется, что установлен режим просмотра, то вначале анализируется установленная дата. Если установлена текущая (сегодняшняя) дата, то в регистры индикации считываются текущие экстремальные значения, а если установлено прошедшее число, то данные считываются из памяти EEPROM.
При выборке из памяти значения всех 16 регистров считываются в регистры записи/считывания, а выделенный знак записывается в регистры индикации. Регистры записи/считывания являются промежуточными между регистрами текущих и экстремальных значений при записи в регистры индикации.
Для записи и считывания в энергонезависимую память экстремальных значений одного дня требуется 16 регистров. При объеме памяти 128x8 можно сохранить данные за 8 дней (128/16 = 8). Запись для одного термодатчика выполняется в следующей последовательности.
1. Часы максимума.
2. Минуты максимума.
3. Градусы максимума.
4. Десятые доли градусов максимума.
5. Часы минимума.
6. Минуты минимума.
7. Градусы минимума.
8. Десятые доли градусов минимума.
Следующие восемь регистров аналогично заполняются данными для второго термодатчика. Знаки температур дописываются в седьмой разряд регистров градусов. При этом единица соответствует знаку.
Как видно из формата записи, для уменьшения числа регистров записи число и месяц в память не записываются. При нажатии кнопки "Просмотр" на единицу уменьшается число в регистре индикации (а при необходимости — и месяц), и на 16 уменьшается адрес считывания из памяти. Если весь объем памяти просмотрен, то просмотр начинается с адреса вчерашнего дня. Если устройство не выключается, то значения дат просмотра отсчитываются от текущей даты.
При выключении устройства энергонезависимая память сохранит записанные значения без привязки к дате. При отключении питания счетчики записи/считывания обнуляются, и считывание начнется с предыдущего адреса, т. е. 112 (128 -16=112), а дата не будет соответствовать дате записи. Например, если записаны данные одного вчерашнего числа, и выключалось напряжение питания, то эти данные будут считаны как данные недельной давности. Если память еще не заполнена, то на индикатор выводятся все нули (кроме даты, конечно).
В режиме установки считывание из памяти не выполняется. В режимах установки и просмотра на индикатор выводится мигающий курсор. Для того чтобы мигание курсора было хорошо различимо, оно происходит с периодом в две секунды. В первую секунду на индикатор выводятся значения регистров, а во вторую — курсор в выбранном разряде. Если при инициализации ЖКИ разрешить мигание курсора, то вместе с курсором включатся все сегменты выбранного разряда, что не очень удобно при установке.
Как и в текущем режиме, в режимах просмотра и установки перед выводом на индикацию необходимые значения построчно перекодируются в двоично-десятичный код и переписываются в регистры индикации. Запись в регистры экстремальных значений происходит, когда измеренное значение превосходит сохраненное или когда они равны, поэтому, анализируя записанные в память значения, необходимо помнить, что в память записано время последней зафиксированной температуры.
5. Ассемблирование
Для ассемблирования спользуется макpоассемблеp MPASM, он содеpжит все необходимые нам возможности. MPASM входит в пакет программ Microchip MPLAB фирмы Microchip Technology.
В pезультате pаботы ассемблеpа создаются файлы со следующими pасшиpениями:
* HEX - объектный файл
* LST - файл листинга
* ERR - файл ошибок и пpедупpеждений
* COD
Объектный файл создается в 16-pичном фоpмате и содеpжит код, котоpый должен быть записан в микpосхему. Файл листинга содеpжит полный листинг пpогpаммы вместе с загpузочным кодом. В файл ошибок и пpедупpеждений записываются все ошибки и пpедупpеждения, возникающие в пpоцессе ассемблиpования. Они также пpисутствуют и в файле листинга. После обpаботки нашей пpогpаммы ассемблеp должен был выдать сообщение "Assembly Successful", означающее, что ошибок обнаpужено не было. Файл ошибок не должен был создаться.
Листинг программы и объектный файл приведены в Приложении А.
6. Описание функциональных узлов МПС и алгоритма их
взаимодействия
В проектируемом устройстве можно выделить следующие функциональные блоки: панель управления, содержащая пять кнопок; жидкокристаллический индикатор, на котором воспроизводится информация (дата, время, температура); термодатчики, благолдаря которым производится измерение температуры; стабилизатор напряжения, служит для подачи стабильного напряжения на МК; источник питания, состоящий из внутреннего источника и внешнего. Функциональная схема электронного термометра приведена на рис. 4.

![]()
|

