Рынок факторинга РФ
Факторинг один из самых распространенных в мире механизмов пополнения оборотного капитала, который может эффективно использоваться как на стабильном рынке, так и в условиях экономического кризиса.
В настоящее время для россиского рынка характерна ориентация поставщика с посреднических компаний на розничную торговую сеть, представленную в основном малыми и средними предприятиями, особенностью которых является проведение закупок на условиях отсрочки платежа. Это в свою очередь влечет за собой увеличение объема дебиторской задолженности поставщика.
Испытывая постоянный дефицит в оборотных средствах, предприятию необходимо искать дополнительные способы финансирования. В мировой практике как правило обращаются к двум механизмам: кредитованию и факторингу. При этом кредитования сегодня является не доступным для большинства малых предприятий ввиду жестких условий к показателям финансовой деятельности, деловой репутации, предъявляемых к клиенту банками, а также из-за сравнительной дороговизны кредита. В то же время факторинг зарекомендовал себя как эффективный инструмент совершенствования финансов предприятий, улучшения состояния денежных расчётов, поскольку может обеспечить полноценное обслуживание регулярного товарного кредитования поставщиком постоянного круга покупателей, в возрастающих масштабах, что помогает решению проблемы с оборотными средствами.
Правда в Российской Федерации факторинговый рынок еще только начал формироваться и занимает сравнительно малую долю в ВВП, хотя и развивается сравнительно бурными темпами. Так по оценкам Министерства экономического развития и торговли в 2001 году доля факторинга в ВВП РФ составляла 0,1%, в 2004 году – 0,5%. В 2008 году доля факторинговых сделок в ВВП достигла 1,45%, с объемом денежных требований 602 млрд. рублей (38). Тем не менее потенциал российского рынка факторинга, по меркам мирового рынка, еще весьма далек от желанного и не соответствует ни масштабам страны, ни потребностям нашей экономики. Для сравнения, за рубежом доля факторинга в ВВП отдельных стран достигает 13–16%. Доля факторинга в обороте сетевого ретейла ― 40–60% (66).
Низкое развитие рынка факторинга во многом объясняется проблемами законодательного регулирования его деятельности, не развитостью конъюнктуры рынка. Тем не менее, российский рынок факторинга уже к 2015 году сможет выйти на уровень развитых стран. Такое быстрое развитие объясняется тем обстоятельством, что после кризиса 2008 — 2009 года многим компаниям пришлось искать оптимальную стратегию развития факторинга, произошло перераспределение сил на рынке, а также значительное удешевление факторинговых услуг. К тому же на рынке остались только сильные игроки.
Целью данной работы является изучение состояния рынка факторинга в современных условиях.
Задачи работы:
Определить понятие, виды и содержание факторинга;
Выявить тенденции развития рынка факторинга в 2008 — 2010 годах;
Проанализировать основные проблемы развития рынка факторинга;
Выявить основные тенденции развития рынка факторинга.
Глава 1. Теоретические основы факторинга
1.1 Сущность факторинга и его виды
Принято считать, что официальное определение договора факторинга приведено в ст. 824 ГК РФ. Согласно ему по договору финансирования денежного тербования одна сторона (финансовый агент) передает или обязуется передать другой стороне (клиенту) денежные средства в счет денежного требования клиента (кредитора) к третьему лицу (должнику), вытекающего из предоставления клиентом товаров, выполнения им работ или оказания услуг третьему лицу, а клиент уступает или обязуется уступить финансовому агенту это денежное требование.
Однако данная статья регулирует несколько другие отнрошения нежели договор факторинга. Это подтверждают и исследования Л. Г. Ефимовй, писавшей, что: «.. легальное определение договора финансирования под уступку денежного требования соответствует отношениям финансирования под дебиторскую задолженность» (6, стр. 165). К аналогичному выводу приходит и М. П. Шмулик, считающий, что: «в материалах Комиссии ООН по праву международной торговли договор, аналогичный договору финансирования под уступку денежного требования, именуется договором финансирования под уступку дебиторской задолженности» (17, с. 43).
Общепринятое определение договора факторинга содержится в ст. 1 Конвенции УНИДРУА о международном факторинге. В ней под факторингом расматривается контракт, заключенный между одной стороной (поставщиком) и другой стороной (фирма по факторным операциям, именуемая в дальнейшем цессионарий), в соответствии с которым:
а) поставщик может или должен уступить цессионарию обязательственные требования, вытекающие из контрактов по продаже товаров, заключаемых между поставщиком и его заказчиками (дебиторами), за исключением тех, которые относятся к товарам, закупленным в основном для их личного пользования, семейного или домашнего;
б) цессионарий должен взять на себя не менее двух следующих обязанностей:
- финансирование поставщика, в частности, заем или досрочный платеж;
- ведение счетов по обязательственным требованиям;
- предъявление к оплате дебиторских задолженностей;
- защита от неплатежеспособности дебиторов.
с) должники должны быть уведомлены о состоявшейся уступке права требования.
Таким образом общая схема факторинга может быть выражена следующим образом (рисунок 1):

Рисунок 1. Схема факторинга
Клиент продает должнику товары, работы или услуги. В результате у него появляется дебиторская задолженность.
Клиент заключает договор факторинга с фактором и передает ему денежное требование к должнику.
Фактор предоставляет клиенту денежные средства, сумма которых, как правило, составляет 70 — 80 % денежного требования к должнику.
По наступлению платежа по договору купли-продажи фактор предъявляет денежное требование к должнику, а должник перечисляет денежные средства в погашении задолженности. Разница между суммой полученной от должника и суммой, ранее перечисленной клиенту в виде финансирования, составляет вознаграждение фактора.
Сравнивая эти два определения, мы можем выделить следующие отличия договора финансирования под уступку денежного требования от факторинга:
Конвенция о факторинге в отличие от норм ГК РФ конкретно определяет круг контрактов, из которых может вытекать передаваемоен денежное требование — к ним относятся только договора купли-продажи товаров.
Наличие специального требования к фигуре клиента. Согласно Конвенции на стороне клиента по договору факторинга должно находиться лицо, приобретающее товары не для личного, семейного и домашнего использования, т.е. в предпринимательских целях. В отношении договора финансирования под уступку денежного требования такое требование отсутствует, и на стороне клиента по такому договору может находиться как предприниматель, так и не предприниматель;
Согласно Конвенции финансовый агент обязан оказать хотя бы одну дополнительную услугу клиенту. В то же время ст. 824 ГК РФ такого обязательства не содержит.
В соответствии с п. "с" ст. 1 Конвенции о факторинге должники должны быть уведомлены о состоявшейся уступке требования. В то же время ГК РФ допукает возможность заключения договора финансирования под устпку денежного требования в обход должника.
Таким образом, договор финансирования под уступку денежного требования шире по своему юридическому составу нежели договор факторинга.
Изучение сущности факторинга будет неполным без описания его структурных составляющих: предмета, участников, прав и обязанностей сторон.
предметом факторинговой сделки может быть как дебиторская задолженность, срок платежа по которой уже наступил, так и денежное требование, которое возникнет в будущем. Исключения делается для:
- долговых обязательств структурных подразделений (филиалов, представительств и т. д.);
- долговых обязательств физических лиц;
- требований к бюджетным организациям (9, с. 309).
Заметим, что денежное требование должно быть индивидуализировано путем указания должника, суммы требования и основания его возникновения (договора между клиентом и должником). Если клиент уступает финансовому агенту не отдельное требование, а совокупность денежных требований, то для их определения достаточным может быть указание на признаки группы, к которой они относятся, в частности: на предпринимательскую деятельность (или один из видов деятельности) клиента, из которой вытекают требования; на круг должников, к которым обращены требования; на территорию, с которой связано возникновение требований или на которой имеют место нахождения должники; на период времени, в течение которого возникают требования, подлежащие уступке; на суммарный денежный размер уступаемых требований.
Кроме того в качестве предмета можно расматривать и дополнительные услуги фактора. При этом по мнению Президента Восточно-Европейской Факторинговой Ассоциации М. Трейвиша, сам факторинг является именно комбинацией четырех услуг.
Первая услуга заключается в финансировании поставщиков товаров и услуг. Для этого финансовая компания (фактор), с которой поставщик заключает договор о факторинговом обслуживании, берет на себя обязательство всякий раз, когда поставщик предоставляет товарный кредит покупателю, выплачивать ему большую часть стоимости поставки. Факторинговый договор заключается на неопределенный срок.
Вторая услуга - это предоставление фактором информационного обеспечения деятельности поставщика, ведения учета состояния его дебиторской задолженности.
Третий вид услуг - это хеджирование (страхование) рисков поставщика. Заключая договор факторинга, компании получают возможность исключить риски, связанные с поставкой товаров в кредит: риски несвоевременной или неполной оплаты поставок покупателями, обесценения стоимости отгруженных товаров за счет инфляции и девальвации рубля.
Наконец, четвертый вид услуг - это административное управление дебиторской задолженностью, включающее контроль своевременности оплаты поставок, работу с дебиторами, организацию для поставщика кредитного менеджмента, в том числе установление лимитов на каждого из его покупателей (34).
Сторонами договора факторинга являются фактор, клиент и должник. В роли фактора может выступать любое юридическое лицо. В отношении же клиента международная практика накладывает ограничения. Не могут быть приняты на факторинговое обслуживание следующие фирмы:
- с большим количеством дебиторов, задолженность каждого из которых выражается небольшой суммой;
- занимающиеся спекулятивным бизнесом;
- производящие нестандартную или узкоспециализированную продукцию;
- работающие с субподрядчиками;
- реализующие в розницу широкий набор продукции;
- реализующие свою продукцию на условиях послепродажного обслуживания;
- практикующие бартерные сделки;
- заключающие со своими клиентами долгосрочные контракты и выставляющие счета по завершении определенных этапов работ или до осуществления поставок (5, с. 129).
В качестве основных корреспондирующих обязанностей сторон по договору ст. 1 Конвенции о факторинге называет обязанность фактора по передаче клиенту денежных средств и оказанию дополнительных услуг, а также обязанность клиента по уступке финансовому агенту денежного требования к третьему лицу (должнику). Кроме того, клиент обязан известить о заключении договора факторинга должника, правда данное условие игнорируется в случае заключения скрытого факторинга.
Договор факторинга может предусматривать систематическое проведение операций, связанных с финансированием клиента. В данном случае фактор обязуется передавать клиенту денежные средства в счет денежных требований клиента к третьим лицам, возникающих в процессе его хозяйственной деятельности, а клиент обязуется уступать финансовому агенту такие денежные требования. В договоре устанавливаются общие условия финансирования и уступки денежных требований, включая определение требований, подлежащих уступке, порядок совершения отдельных операций, размер вознаграждения финансового агента, срок действия договора и другие положения по усмотрению сторон (11, с. 512).
Определенными правами и обязанностями в случае заключения договора факторинга обладает должник. Так по договору факторинга он становится обязанным произвести платеж финансовому агенту. Однако данное обязательство возникает лишь при условии, что он получил от клиента или от самого финансового агента уведомление об уступке денежного требования в пользу фактора, что согласуется и нормами ГК РФ (ст. 830). Уведомление должно быть письменным и содержать четкое определение переданного требования, а также наименование финансового агента, в пользу которого произведена передача права. Неисполнение клиентом обязанности по уведомлению должника освобождает, по общему правилу, последнего от необходимости платить новому кредитору. Исполнение обязательства первоначальному кредитору (клиенту) признается в этом случае исполнением надлежащему кредитору (п. 3 ст. 382 ГК). Должник вправе потребовать от агента представления доказательств того, что уступка требования реально имела место. Отказ фактора от исполнения этой обязанности также восстанавливает право должника произвести платеж самому клиенту (первоначальному кредитору).
Заметим, что согласно отечественному законодательству должник должен произвести платеж даже в том случае, если между ним и клиентом заключено соглашение о недопустимости уступки требования третьим лицам. Целью введения данного положения является обеспечение прав предпринимателей, желающих получить средства от финансового посредника, а потому конфликт интересов третьего лица (должника) и агента разрешается в ст. 828 ГК в пользу последнего.
С другой стороны законодатель позаботился о том, что бы данная уступка не ущемляла и интересов должника. Так передача денежного требования клиентом (кредитор) не освобождает его от исполнения обязательства или ответственности перед своим контрагентом (должником) в связи с совершенной уступкой требования, если между ними существует соглашение о ее запрете или ограничении. В таком случае клиент (кредитор), во-первых, продолжает оставаться обязанным перед своим контрагентом (должником) в части исполнения возложенных на него обязательств передать имущество, выполнить работы или оказать услуги в натуре, а во-вторых, обязан возместить своему контрагенту все убытки, связанные с уступкой права, которая совершена в противоречии с ранее заключенным договором (16, c. 325).
В ходе осуществления платежа финансовому агенту должник вправе предъявить к зачету свои денежные требования, основанные на договоре с клиентом, которые имелись у должника ко времени, когда им было получено уведомление об уступке требования в пользу фактора. Должник, однако, не может поставить в вину финансовому агенту то, за что он вправе упрекнуть клиента (кредитора), – факт нарушения клиентом ранее достигнутой договоренности о запрете цессии. Такие требования не имеют силы в отношении финансового агента: их изъятие из потенциально возможных встречных требований должника вытекает из правила о недействительности запрета уступки денежного требования в договоре о факторинге.
Заключая договор факторинга, стороны принимают на себя определенный риск ответственности. Для клиента он возникает: в случае неполноты передаваемой документации, неясности переданной фактору информации, иных недостатков исполнения, допущенных со стороны клиента, а также в случае ненадлежащего исполнения обязательств по договору. Ответственность фактора возможна только в случае просрочки финансирования.
В мировой практике существуют несколько подходов к классификации факторинга. По территории действия различают: внутренний и внешний факторинг. Внутренний факторинг характеризуется тем, что поставщик, покупатель, а также факторинговая компания находятся в одной стране. Международный факторинг предполагает, что стороны находятся в разных государствах.
При этом международный факторинг можно разделить на три подвида:
прямой импортный факторинг;
прямой экспортный факторинг;
косвенный (двухфакторный) факторинг.
При прямом факторинге обязанности перед клиентом исполняет только один фактор. При прямом импортном факторинге клиент уступает право требования фактору в стране импортера. Основная роль фактора в данном случае сводится к страхованию кредитного риска, учету продаж и инкассированию требований. К использованию данного вида факторинга прибегают фирмы не нуждающиеся в срочном финансировании по уступленным требованиям, что объясняется сложностью проведения кредитования клиента в иностранной для фактора валюте.
При прямом экспортном факторинге клиент уступает дебиторскую задолженность фактору, находящемуся в одной с ним стране. При этом факторы испытывают определенные затруденния в оценки кредитоспособности иностранных фирм и инкассировании требований. Поэтому прямой экспортный факторинг используется в случаях, когда экспортер (экспорт-фактор) географически близок к импортеру либо при сделках с проверенными покупателями, которые показали себя как аккуратные плательщики.
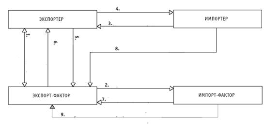
В Западной Европе наиболее часто встречается косвенный факторинг, при котором фактор-экспортер после покупки дебиторской задеолженности у клиента переуступает ее фактору, находящемуся в стране покупателя (импорт-фактору). Таким образом, функции и риски распределяются между фактором-импортом и фактором-экспортом. Основная цель этой модели состоит в обеспечении кредитов и ограничении административных расходов.
Классическая система косвеного факторинга включает в себя следующие этапы:
Экспортер заключает договор факторинга с экспорт-фактором.
Экспорт-фактор уведомляет импорт-фактора о поставке товара и заключение договора факторинга.
Экспортер заключает договор купли-продажи товара с импортером.
Поставка товара, одновременное образование дебиторской задолженности.
Предоставление отгрузочных документов экспорт-фактору для получения финансирования и дополнительных услуг.
Финансирование в объемах, предусмотренных договором.
Импорт-фактор производит оценку кредитоспособности иностранного дебитора.
Оплата за поставленный товар.

Рисунок 2. Схема косвенного факторинга
Если сроки платежа не соблюдаются, импорт фактор направляет уведомление импортеру. Если претензия остается непогашенным после двух-трех напоминаний, фактор по импорту предъявляет претензию в суд.
В этом случае риск платежеспособности импортера принимает на себя фактор по импорту, который проверяет платежеспособность импортера и гарантирует экспорт фактором, экспортируемые товары будут оплачены. Если импортер не произвести оплату, то это должно быть урегулирован только фактор по импорту.
Тем не менее, фактор по экспорту несет риски, связанные с доставкой товара экспортером и кредиты экспортера - не дожидаясь платежа от импортера или импорт фактор (64).
По форме заключения договора различают открытый (конвенционный) и закрытый (конфеденциальный) факторинг. Первый из них связан с переуступкой поставщиком товарораспорядительных документов фактор-фирме с обязательным уведомлением должников (плательщиков) об участии в расчетах факторинговой компании. Он выступает как система финансового обслуживания клиента, в которую входит бухгалтерский учет, расчеты с поставщиками и покупателями, страхование кредитование и другие услуги (7, с. 13). Данный вид факторинга позволяет клиенту сосредоточить свои усилия только на производственном процессе, предоставив организацию и проведение расчетов с клиентами банку.
При конфеденциальном факторинге должника не информируют о привлечении к востребованию долгов фактор-фирмы. Он подразумевает проведение только отдельных факторинговых операций:
- приобретение у клиента права на получение платежа по товарным операциям от определенного покупателя или группы покупателей;
- покупка у поставщиков дебиторской задолженности по отгруженным товарам и услугам;
- приобретение векселей.
Суть данной операции заключается в гарнтировании банком оплаты выставляемых клиентом на определенных плательщиков платежных требований-поручений немедленно в день предъявления их на инкассо. При этом, учитывая досрочную оплату платежных требований-поручений клиента (до получения платежа от покупателя), мы можем говорить о фактическом предоставлении банковского кредита. Таким образом, получив денежные средства на свой счет, клиент факторинга имеет возможность в свою очередь без задержки рассчитаться со своими поставщиками, что способствует ускорению расчетов и сокращению неплатежей.
Особым видом конфеденциального факторинга можно считать тихий факторинг. Он представляет собой договор между клиентом и фактором-банком, по которому клиент передает последнему копи счетов по заключенным сделкам с партнерами, а банк выплачивает клиенту часть суммы этих счетов немедленно. После получения от партнера всей суммы по сделке клиент рассчитывается с фактором-банком, возвращая ему полученный кредит и проценты. Если партнер клиента не оплачивает счет в установленный срок, клиент уступает свои требования на оплату фактор-банку, который принимает меры к взысканию денег.
Выделяют также факторинг с регрессом, схема которого представлена на рисунке 3.
Отношения между всеми сторонами факторинга с регресом протекают в шесть этапов:
Клиент осуществляет поставку товара (выполнение работ, оказание услуг) для поставщика. В результате данной операции образуется дебиторская задолженность.
Уступка права денежного требования фактору для обеспечения своих обязательств по другому договору.
Финансовый агент перечисляет клиенту денежную сумму либо выполняет иные обязанности обусловленные договором.
При наступлении срока клиент исполняет встречные обязанности перед клиентом.

Рисунок 3. Схема факторинга с регресом
Фактор возвращает клиенту право денежного требования к должнику.
Клиент предьявляет денежное ттребование к должнику и получает обусловленную договором с ним сумму (8, с. 59 - 60).
Договор факторингового обслуживания без права регресса, как правило, заключается только в том случае, когда возможность неплатежа со стороны покупателя маловероятна. Данный договор полностью ограничивает поставщика от каких-либо рисков неплатежа или потери прибыли в отличие от факторинга с правом регресса, который лишь снижает риск поставщика в данной сделке.
Стоит выделит и такие факторинговые продукты как инвойс-дискаунтинг, предпоставочное финансирование, закупочный факторинг и реверсивный факторинг.
Инвойс дискаунтинг (invoice discounting) по своей форме является регрессным конфиденциальным факторингом, при котором финансирование выплачивается не на каждую поставку отдельно, а на текущую неоплаченную сумму всех поставок. При этом, чаще всего, комиссия за оказанные услуги начисляется не по формуле простых процентов, как при стандартном факторинге, а по формуле сложных процентов. Каждый день к сумме выплаченного финансирования прибавляется сумма начисленной сегодня комиссии, а завтра проценты начисляются уже не на финансирование, а на сумму финансирования и ранее начисленной комиссии.
Очень хорошо разницу между классическим факторингом и инвойс-дискаунтингом выделила Л. Климанова, директор маркетинга ФК «Траст»: «Факторинг включает несколько видов услуг, в том числе и управление дебиторской задолженностью. Инвойс дискаунтинг включает только финансирование. Факторинг, как правило, имеет открытый характер, то есть дебиторов уведомляют о состоявшейся уступке. Инвойс дискаунтинг, как правило, закрытый и не требует уведомления дебиторов.
Цена у факторинга выше, чем у инвойс дискаунтинга по той простой причине, что осуществляется оказание дополнительных услуг. И цена инвойс дискаунтинга, как правило, ниже, чем у факторинга. При факторинговой операции все-таки нормальным считается, когда факторинговой компании платят дебиторы, а при инвойс дискаунтинге, как правило, задолженность закрывает клиент, особенно если он закрытый. При факторинге прежде чем открыть лимиты, мы анализируем финансовую деятельность дебиторов и клиента (больше дебиторов, чем клиента). А при инвойс дискаунтинге мы, конечно, анализируем преимущественно клиента. Хотелось бы отметить, что в основном инвойс дискаунтинг все-таки предназначен, как правило, только для предприятий с устойчивым финансовым положением. То есть риски при оценке очень похожи на риски при кредитовании» (49).
Особенности предпоставочного финансирования состоят в том, что фактор предоставляет финансирование компании-поставщику не по факту отгрузки, а по факту наличия заказа на поставку товара. Использование этого продукта позволяет поставщику точнее планировать cash flow и оперативнее решать вопросы, связанные с ликвидностью. В нашей стране данная услуга впервые появилась только в 2007 году, в тоже время на Западе — она получила широкое распространение на рынке.
Реверсивный факторинг представляет собой услугу, направленную на факторинговое обслуживание поставщиков крупных покупателей по единым стандартам, что выражается:
В гарантированном принятии на обслуживание всех обратившихся поставщиков конкретного дебитора;
В отсутствии лимитов финансирования поставщиков Дебитора;
В унификации тарифов на факторинговое обслуживание;
В отсутствии требований к финансовому состоянию поставщиков.
Реверсивный факторинг бывает двух разновидностей: с правром регресса и без права регресса. Первая из них представляет собой финансовый продукт, разработанный специально для поставщиков товаров и услуг, желающих иметь в своем арсенале такой продукт, как факторинг, но не желающих платить комиссию. При пользовании данным продуктом Поставщик несет кредитные риски. Второй же используется покупателями товаров и услуг, с целью получения или увеличения отсрочки платежа.
Особой разновидностью реверсивного факторинга является «закупочный факторинг», представляющий собой продукт для крупных покупателей, обеспечивающий построение эффективной системы закупки товаров у поставщика на условиях отсрочки платежа. От классического факторинга он отличается следующими признаками:
- финансирование поставщиков в размере 100% от суммы поставки — что позволяет им получать оплату товара по факту отгрузки;
- весь факторинговый документооборот с осуществляется в электронном виде, что существенно ускоряет выплату финансирования;
- льготные условия обслуживания поставщиков в части комиссии за факторинговое обслуживание, требований к договорной документации и структуре портфеля дебиторской задолженности.
1.2 Мировой опыт применения факторинга
Рассматривая мировой опыт применения факторинга, мы должны сконцентрировать наше внимание на историю его развития, а также на правовое регулирование рынка факторинга в трех странах: Англии, США и Италии, которые, по существу и разработали эту финансовую операцию.
Факторинг впервые появился в Англии в 14 веке в результате развития текстильной промышленности. Так как основные рынки сбыты были значительно удалены от мест производства продукции возникла потребность в привлечении дополнительных посредников между производителями и конечными потребителями продукта. Перед фактором, знавшим товарный рынок, платежеспособность покупателей, законы и торговые обычаи данной страны, ставились задачи поиска надежных покупателей, хранения и сбыта товара, а также последующего инкассирования торговой выручки.
На более позднем историческом этапе некоторые комиссионные агенты отказались от коммерческих функций и сосредоточились на финансовых сторонах обслуживания клиентов. Постепенно факторы перешли к прямой покупке у поставщика его платежных требований (выставленных покупателям счетов-фактур).
Таким образом, была сформирована европейская концепция факторинга, которая характеризуется следующими признаками:
- выплата денежных средств не ограничивается одной поставкой;
- финансирование осуществляется по запросу клиенту в зависимости от общей суммы предоставленных средств;
- вознаграждение вычитается из общей суммы переданных требований д момента перечисления денежных средств;
- отсутствие излишней детализации при финансировании клиента;
- наличие гибкого подхода к клиенту (14, c. 11).
Бурными темпами в конце XIX века развивается рынок факторинга в США. Основными факторами в то время являлись представители английских и немецких текстильных фирм, взявших на себя работу по продвижению товара на рынок. Огромную роль в распространении факторинга сыграло то обстоятельство, что факторы по существу являлись агентами делькредери. Т. е. брали на себя обязательство возместить поставщику убытки, которые тот мог понести из-за невыполнения покупателем, которого нашел агент, обязанности уплатить покупную цену. Преимущества соглашения о делькредере очевидны; у поставщика нет достаточной связи с иностранным рынком, на котором действует агент, чтобы судить о финансовой кредитоспособности покупателя, заказывающего товар; не всегда удается избежать продажи в кредит, если товары сбываются на конкурентной основе, и даже если продажи в кредит не было, экспортер может быть вовлечен в сложное и дорогостоящее судебное разбирательство о банкротстве, если покупатель не платит. Этих ловушек можно избежать, если агент согласится на делькредере в отношении покупателей, которых он представил, и к тому же принципал уверен, что агент не установит сумму встречного удовлетворения в размере, превышающем кредитоспособность покупателей, на заказы, к появлению которых он причастен (58).
Факторинг этого периода довольно удачно характеризует М. Вестлейк: «Факторинг ... имел три различных функции: фактор оценивал кредитоспособность клиентов, от которых были получены заказы, и в большинстве случаев оплачивал продажу наличными, т.е. немедленно приобретал долговые требования без права регресса, он выдавал денежные авансы текстильным фабрикам, коммивояжерам и оптовым торговцам ..., под залог готовой продукции; в некоторых случаях он оказывал особые услуги, например, предоставлял помещения для выставки и хранения товара, брал на себя вопросы страхования, выставления счетов, упаковки, отгрузки и доставки ...» (38). Таким образом к концу XIX века формируется классический образец американского факторинга.
Однако в 1890 г. в США вводится таможенный тариф Маккинли, предусматривающий защитные таможенные пошлины на текстиль в размере 49,5% для сдерживания его импорта из Европы. Агентам, специализировавшимся на импортном товарном факторинге, пришлось переориентироваться исключительно на внутренний рынок и отказаться от внешнеторговых операций. Резкое сокращение сферы деятельности агентов в начале XX в., а также возможность установления между производителями и обусловленная развитием укреплением материальной базы к сокращению до минимума количества факторинговых компаний в США. В результате чего американские факторинговые компании поменяли форму своей деятельности. Они становятся не посредниками при продаже товаров, а преобразуются в учреждения, которые финансируют производителей товаров (credit factoring) (75).
Тем не менее, в США факторинг продолжает рассматриваться как форма купли-продажи дебиторской задолженности. Так в разделе 9 Торгового кодекса США выдвигаются следующие основания заключения договора факторинга:
а) подписание договора факторинга между банком и клиентом;
б) предоставление клиенту оговоренной стоимости уступленной выручки;
в) составление финансового заявления для вступления фактора в силу.
Действительно, в случае заключения факторинга без регресса клиент полностью передает задолженность факторинговой компании, что сближает факторинг с договором цессии. Поэтому правовые последствия договора факторинга будут во многом сходны с ней.
Как известно, с переменной лиц в обязательстве к фактору переходят все права клиента в отношении должника. Это подтверждают и исследования О. Свериденко, который отмечает: «Ограничивать передачу прав по обязательству нельзя, поскольку это будет противоречить существу самого обязательства и института обеспечения исполнения обязательств. Права по дополнительному обязательству, так же как и по основному, принадлежат кредитору, который вправе уступить их другому лицу на тех же условиях и в том объеме, в каком они принадлежат ему на момент передачи. Каких-либо прямых ограничений на этот счет в законе не имеется. Однако следует иметь в виду, что не всякое дополнительное обязательство может быть предметом уступки без передачи основного» (26).
Однако на наш взгляд данное заключение не совсем точно. В ст. 384 ГК РФ, которая гласит: «право первоначального кредитора переходит к новому кредитору в том объеме и на тех условиях, которые существовали к моменту перехода права. В частности, к новому кредитору переходят права, обеспечивающие исполнение обязательства, а также другие связанные с требованием права, в том числе право на неуплаченные проценты».
Таким образом, при заключении договора факторинга между фактором и должником сохраняются правовые отношения, закрепленные в договоре купли-продажи.
Подводя итоги американской концепции факторинга, можно выделить следующие ее характеристики:
- факторинг возможен как в виде финансирования всех поставок клиента, так и в виде финансирования отдельной поставки;
- размер финансирования определяется фиксированным процентом от каждой поставки;
- вознаграждение осуществляется после поступления оплаты от дебитора, а не в момент регистрации поставки;
- не гарантируется получение фактором вознаграждения (14, c. 11).
Как сделку купли-продажи долговых обязательств, возникающих в процессе обращения товаров и услуг, рассматривают факторинг и в ФРГ. Однако здесь факторинг считают не столко кредитной, сколько торговой операцией. В случае, если организации, специализирующиеся на оказании факторинговых услуг, имеют статус банков, то помимо получения банковской лицензии они также должны руководствоваться положениями статьи 18 (о документах, являющихся основанием для предоставления кредита) и статьи 19 (о порядке выдачи кредита) кредитного законодательства ФРГ (FWG).
История итальянского факторинга началась в 1960 годах, с началом экспансии американских товаропроизводителей в Европу, что привело к активизации деятельности европейских фвакторинговых компаний. И в первую очередь итальянских факторов. Причины этого хорошо проанализировал М. Трейвиш: «Италия характеризуется, не скажу — плохой, но непредсказуемой платежной дисциплиной итальянского покупателя. Чем менее дисциплинировано платят покупатели, тем выше потребность в факторинге у поставщиков, поскольку здесь действует фактор неопределенности: неизвестно, когда поступит выручка. Вторая причина — субъективная. В Италии Центральный банк очень долго мешал развитию кредитной активности банков. Это было связано с очень высоким уровнем инфляции в 70-80-х годах прошлого века, вследствие чего банкам устанавливались очень жесткие нормы кредитования. Соответственно предприятия искали другие источники финансирования. В третьих, в Италии изначально была очень сильна факторинговая ассоциация, члены которой обменивались информацией вплоть до решений о том, кому какие лимиты установлены. А это даже больше чем бюро кредитных историй: информация идет не о конкретно выданных деньгах, а о лимитах» (76).
Неудивительно поэт