Переработка вторичного сырья: инструментальных сталей, осколков и пыли на основе твердых сплавов карбида вольфрама
Федеральное агентство по образованию Московская государственная академия тонкой химической
технологии им. М.В. Ломоносова
Кафедра химии и технологии редких и рассеянных элементов
Курсовой проект
тема: "Переработка вторичного сырья: инструментальных сталей, осколков и пыли на основе твердых сплавов карбида вольфрама"
Москва - 2006 г.
ОГЛАВЛЕНИЕ
1. Введение.. 5
2. Цель работы.. 7
3. Литературный обзор. 8
3.1. Основные проблемы переработки вторичного редко металлического сырья 8
3.2. Источники образования вторичного сырья. 9
3.3. Классификация вторичного сырья. 11
3.3.1. Основные группы.. 11
3.3.2. Классификация по физическим признакам. 12
3.3.3. Классификация по химическим признакам. 12
3.3.4. Газообразные отходы.. 13
3.4.Способы утилизации и переработки вторичного сырья. 14
3.5. Переработка сплавов редких элементов. 15
3.5.1.Окислительные методы.. 15
3.5.2. Методы хлорирования. 16
3.5.3.Способы электрохимического растворения отходов. 16
3.5.4. Гидрометаллургические методы.. 17
4. Исходные данные. 18
4.1. Схема переработки карбида. 18
4.1.1.Аппаратурное оформление. 19
4.1.2. Рукавный фильтр. 19
4.1.2.Описание схемы переработки карбида. 19
4.3. Краткая характеристика элементов шихты.. 23
4.3.1. WC - Карбид вольфрама (12) 23
4.3.2. WO3 - Оксид вольфрама (VI) (12). 24
4.3.3.TiC - Карбид титана (12) 24
4.3.4. ТЮ2 - Оксид титана (IV) (12) 24
4.3.5.Со-Кобальт (12) 25
4.3.6.СоО - Оксид кобальта (П) (12) 25
4.3.7.Со2О3 - Оксид кобальта (Ш) (12) 26
4.3.8. Zn - Цинк (12) 26
4.3.9.ZnO - Оксид цинка (12) 26
4.3.10. Си - Медь (12) 27
4.3.11. Си2О - Оксид меди (I) (12) 27
4.3.12. СиО - Оксид меди (П) (12) 28
4.3.13. Fe-Железо (12) 28
4.3.14. ГеО - Оксид железа (II) (12) 29
4.3.15. Fe2O3 - Оксид железа (Ш) (12) 29
4.3.16. Бентонит (13) 29
4.4. Термодинамические данные компонентов сырья. 30
4.4.1. Расчет термодинамических величин протекания реакций окисления 30
4.4.1.2. Расчет термодинамических величин протекания реакций окисления (5) 31
5. Материальный баланс. 33
5.1. Блок 2. Грануляция и окисление в печи кипящего слоя. 33
5.1.1.Запишем уравнения используя исходные данные и принятые значения 34
5.1.3. Расчет циклонной пыли. 35
5.1.4. Количество связующих веществ в исходной шихте. 37
5.2. Окисление карбидов. 37
5.2.1. Окисление WC: 37
5.2.2. Окисление TiC: 38
5.2.3. Окисление Со: 39
5.2.4. Окисление Zn: 41
5.2.5. Окисление Си: 42
5.2.6. Окисление Ге: 43
5.2.7. Теоретическое количество воздуха. 45
5.5. Блок 5. Прокалка и сушка. 49
6. Тепловой баланс. 50
6.1 Зона кипящего слоя. 50
6.1.1. Приход тепла зоны кипящего слоя. 50
6.1.2. Расход тепла. 54
6.1.3. Определение требуемого избытка воздуха. 55
6.1.4. Определение размеров сечения печи. 56
6.2. Надслоевая зона. 56
6.2.1. Приход тепла. 56
6.2.2. Расход тепла. 57
6.2.3. Разность между приходом и расходом тепла при 900°С.. 58
7. Печь кипящего слоя. 59
8. Уточнение аппаратурного оформления. 64
8.1. Щековая дробилка (14) 64
8.2. Дисковая мельница (14) 65
8.3. Гранулятор (14) 66
8.4. Печь кипящего слоя. 66
8.4.1. Циклон (9) 66
7.4.2. Рукавный фильтр (8) 67
7.5. Реактор для выщелачивания (с распыляющимся с верху реагентом) 67
7.6. НУТЧ фильтр (7) 67
8.7. Колонна осаждения. 68
8.9.Сушильные аппараты с вращающимися барабанами (7) 68
8.10. Индукционная печь (10) 69
9. Вывод. 70
9. Список литературы... 72
1. Введение
Количество вторичных металлов в мире с каждым годом растет в связи с непрерывным увеличением общего металлофонда черных и цветных металлов, который превысил 8 млрд. т. Пропорционально увеличению металлофонда растет количество амортизационного лома, отходов производства, таких, как пиритные огарки, тонкие фракции пыли доменных печей, богатые по содержанию ценных компонентов шлаки цветной металлургии, отходы химической промышленности и т.д. На машиностроительных и обрабатывающих предприятиях образуются десятки тысяч тонн стружки и другие отходы (2). В настоящее время для производства режущих инструментов широко используются твердые сплавы. Они состоят из карбидов вольфрама, титана, тантала, сцементированных небольшим количеством кобальта. Карбиды вольфрама, титана и тантала обладают высокой твердостью, износостойкостью. Скорости резания инструментами, оснащенными твердыми сплавами, в 3-4 раза превосходят скорости резания инструментами из быстрорежущей стали. Недостатком твердых сплавов, по сравнению с быстрорежущей сталью, является их повышенная хрупкость, которая возрастает с уменьшением содержания кобальта в сплаве. И, следовательно, возникает вопрос утилизации таких сплавов. Переработка лома и отходов позволяет вернуть металл в кругооборот (1).
В процессе производственной деятельности образуются отходы, которые нарушают экологическое равновесие, загрязняя окружающую среду, и снижают степень извлечения ценных компонентов, содержащихся в исходном сырье. Их подразделяют на отходы производства и отходы потребления (лом). Под отходами производства понимают остатки сырья, материалов, полуфабрикатов, образовавшиеся при производстве продукции и утратившие полностью или частично исходные потребительские свойства. Под отходами потребления понимают изделия и материалы, потерявшие потребительские свойства из-за физического или морального износа. Под вторичным сырьем мы будем подразумевать лишь ту часть отходов, повторное использование которых технически возможно и экономически целесообразно. Использование вторичного сырья позволяет решить ряд важнейших проблем: сохранение невосполнимых природных ресурсов; улучшение экологической обстановки; снижение капитальных и энергетических затрат; повышение производства редких металлов; создание малоотходных технологий (2).
2. Цель работы
Цель данной работы состоит в разработке схемы переработки вторичного сырья (в данном случае карбидов тугоплавких металлов режущих инструментов их осколков, кусковые отходы), при заданных производительности и качестве огарка, температуре обжига и способе подготовки сырья.
3. Литературный обзор
3.1. Основные проблемы переработки вторичного редко металлического сырья
В настоящее время подсчеты показали, что удельные капитальные затраты на сбор и переработку вторичного металла в 25 раз меньше, чем на производство металла из руды. Производительность труда во вторичной цветной металлургии примерно в два раза выше, чем в первичной. Сбор и переработка вторичных металлов имеют не только экономический, но и социальный эффект.
При переработке вторичного сырья коэффициент комплексного его использования должен быть достаточно высоким, так как задача вторичной металлургии состоит в одних случаях в разделении металлов, а в других - в подшихтовке к соответствующим ломам и отходам чистых металлов для получения в конечном счете качественных сплавов.
Перед металлургической переработкой вторичное сырье нужно рассортировать, спакетировать или (если это крупногабаритные детали) разрезать на куски, удобные для шихтовки и дальнейшей переработки. В современной практике далеко не всегда имеются эффективные способы осуществления этих операций.
При переработке отходов металлургического производства желательно применение таких процессов, которые сочетались бы с основной технологией без введения новых типов оборудования и без расхода дополнительных реагентов. Во многих случаях извлечение металла из вторичного сырья проще, чем из первичного, поскольку содержание его в отходах значительно выше. Следовательно, затраты на производство вторичного металла могут быть уменьшены, что приводит при значительной доле вторичного сырья к снижению себестоимости продукции в целом и увеличению выпуска редких металлов.
При выборе способа переработки вторичного сырья следует учитывать, что его состав в большинстве случаев существенно отличается от первичного. Наличие в нем синтетических материалов, отсутствующих в природе, загрязнение токсичными и взрывоопасными веществами в процессе эксплуатации значительно изменяют состав вторичного сырья в количественном и качественном отношении. Несмотря на существенную принципиальную разницу между первичной и вторичной металлургией редких металлов, имеются и некоторые общие черты. Основная из них - сложный состав сырья, поступающего в переработку: полиметаллические сульфидные руды содержат 10-15 компонентов, имеющих народнохозяйственное значение, вторичное сырье состоит, как правило, из трех-четырех компонентов И.
3.2. Источники образования вторичного сырья
Источниками вторичных сырьевых ресурсов, содержащих редкие и благородные металлы, являются металлургическая, химическая, электротехническая, радиотехническая, электронная промышленность, машиностроение и различные предприятия военно-промышленного комплекса.
Стремительный прогресс во всех сферах материального потребления требует увеличения производства металла. Развитие техники повлекло за собой применение новых редких металлов, их сплавов и соединений. Обойтись без них не могут атомная энергетика, реактивная и космическая авиация, полупроводниковая техника, современная оптика и другие отрасли промышленности. Для применения в технике зачастую необходимы металлы высокой степени чистоты. Требования к чистоте металлов непрерывно повышаются, а следовательно, совершенствуются и разрабатываются новые методы очистки. Использование бедного сырья и высокие требования, предъявляемые к качеству конечного продукта - металла, вызывают усложнение технологии, сочетающей различные пиро- и гидрометаллургические способы концентрирования, выделения и глубокой очистки редкого металла. На каждой ступени многостадийной технологической схемы получаются побочные продукты, содержащие то или иное количество ценного компонента. Вследствие этого прямой выход металла из первичного сырья мал (иногда не более 40-50%). Отходы, получаемые на различных стадиях производства (растворы, шламы, кеки, брак металла и пр), представляют собой материалы, в которых содержание металла во много раз превышает его содержание в первичном сырье.
Объем отходов, содержащих редкие и цветные металлы и их сплавы, из года в год возрастает и исчисляется величинами от десятков килограммов до сотен тысяч тонн в год. Поэтому вопросы рационального и комплексного использования вторичных сырьевых ресурсов приобретают все большее значение в общем балансе производства металлов.
Таблица 1. Основные виды вторичного сырья редких металлов.
Источники образования вторичного сырья Металлургическая и химическая промышленность Электротехническа я, электронная и радиотехническая промышленность Машиностроение судостроение авиационная и космическая промышленность | Виды втор. отходы производства Шлаки, шламы, пыли, кеки, илы, съемы, золы. Маточные и травильные растворы, отработанные электролиты. Некондиционные металлы, сплавы, соли Опилки, сколы, обрезь, высечка, шлифпорошки. Некондиционные сплавы, соединения, изделия. Бракованные микросхемы, модули, приборы Стружки, опилки, шлаки, пыли, высечка, режущий инструмент. Растворы. Бракованные узлы изделий | ганого сырья отходы потребления Металлургическое оборудование и приборы, выработавшие срок эксплуатации: печи, насосы, реакторы, контрольно-измерительные и регулирующие приборы Технологическое оборудование и приборы, вышедшие из строя в процессе эксплуатации и не подлежащие ремонту Самолеты, машины, выработавшие срок эксплуатации. Узлы и агрегаты, заменяемые при ремонте |
На захоронение или используются в виде строительного материала; отходы 1 - пыли, шламы, кеки и съемы, растворы, образующиеся в процессе производства, бракованные металлы, сплавы и соли - в основном содержат металл и компоненты, которые присутствуют в исходном сырье или введены с реагентами в процессе его обогащения и переработки. Они могут быть переработаны на предприятии, производящем данный металл. Более сложными по составу являются отходы 2 - стружки, опилки, высечка, обрезь, проволока, шлифпорошки, травильные растворы и особенно отходы 3 - стружка, опилки, бракованные узлы машин, приборов и механизмов, поскольку в их состав могут входить искусственные материалы - пластмасса, резина, бумага, отсутствующие в природе. Они содержат в большом количестве Fe, Ni, Cr (конструкционные материалы), Pb, Sn, Zn (припои), Си и Al (провода). Поэтому переработка отходов 3 вызывает наибольшие трудности и требует создания новых, специальных технологий для их обогащения и извлечения ценных компонентов. Еще больше проблем возникает при переработке вторичного сырья - приборов, машин и аппаратов, бывших в эксплуатации. Поскольку в процессе эксплуатации может существенно изменяться вещественный и фазовый состав вторичного сырья (испарение, взаимная диффузия металлов и др.), возможно накопление токсичных и взрывоопасных соединений, загрязнение продуктами смазки и окисления. Это требует дополнительных операций, особенно на стадии обогащения.
Для переработки многокомпонентного вторичного сырья, разрабатывается, как правило, несколько альтернативных схем. Они подвергаются опытно-промышленной проверке, а затем выбирается схема, оптимальная по технико-экономическим, экологическим и другим показателям (2).
3.3. Классификация вторичного сырья
3.3.1. Основные группы
Для правильной организации сбора, хранения, обезвреживания, обогащения и переработки вторичного сырья необходимо знать его состав, количество и свойства, поэтому различные виды сырья необходимо классифицировать. Все вторичное сырье делится на три основные группы: 1 - твердое; 2 - жидкое; 3 - газообразное (2). .
3.3.2. Классификация по физическим признакам
По физическим признакам отходы цветных металлов делятся на четыре класса: А - лом и кусковые отходы; Б - стружка, проволока; В - порошкообразные и пастообразные; Г - прочие отходы
Кроме основных четырех классов существуют специальные классы для наиболее распространенных видов вторичного сырья: АЛ - лом и отходы свинцовых аккумуляторов; АК - лом, отходы, покрытые оловом (луженые); 3 - отходы, содержащие титан, высечка, обрезь; Ж - отходы кабельной промышленности; Н - отходы катализаторов; Е - ртутьсодержащие отходы; К - отходы щелочных аккумуляторов (2).
3.3.3. Классификация по химическим признакам
По химическому составу вторичное сырье делится на группы и марки. Группы характеризуют состав вторичного сырья. Чем больше номер группы, тем ниже содержание основного компонента и сложнее химический состав. Так, к первой группе относится черновой вольфрам, содержащий 96-98% W, ко второй группе - сплав вольфрама с рением (10% Re), а к третьей группе - отходы твердых сплавов, содержащие до 40% W.
Марки указывают на состав данного вида сырья. Например, Су-00 - металлическая сурьма; ВР-10 - сплав вольфрама с 10% рения; ВНЖ - сплав вольфрам (90%), никель (6%), железо (4%); АГО-1 - арсенид галлия.
Кроме классов, групп и марок отходы делят на три сорта:
1-й сорт может быть подвергнут обработке непосредственно без специальной подготовки и обогащения;
2-й сорт имеет более высокую засоренность неметаллическими материалами и черным металлом (до 10%);
3-й сорт характеризуется наличием включений черных металлов и имеет высокую засоренность. Такое сырье требует обязательной первичной обработки.
На многие виды вторичного сырья, содержащего редкие металлы, государственный стандарт не разработан, на них имеются отраслевые стандарты (ОСТ) или технические условия (ТУ), которые служат критерием во взаиморасчетах предприятий и при выборе технологической схемы обогащения и переработки.
Жидкие виды вторичного сырья также классифицируют, разделяя на токсичные и нетоксичные; содержащие и не содержащие органические соединения; кислые, щелочные или нейтральные. Кроме того, жидкие отходы можно классифицировать по содержанию ценных компонентов: А - богатые травильные растворы; Б - растворы отработанных электролитов; В - промывные и сточные воды; Д - маточные растворы. В зависимости от вида жидкого сырья выбирается соответствующая технологическая схема обезвреживания, обогащения и переработки (2).
3.3.4. Газообразные отходы
Промышленные газообразные отходы (ПГО) подразделяют на токсичные и нетоксичные. Причем токсичные газообразные отходы подразделяют на ПГОх - содержащие токсичные вещества в виде твердых частичек, пыли и ПГОг - содержащие токсичные вещества в виде паров и газов. ПГОТ, соответственно, делятся на отходы, содержащие твердые вещества неорганического происхождения - ПГОТМ (асбест, соли минеральных кислот) и ПГОТО, содержащие пылевидные вещества органического происхождения. Аналогично ПГОГ могут содержать газообразные токсические вещества неорганического (ПГОГМ) и органического (ПГОГО) происхождения. Кроме того, ПГОГОМ могут содержать органические соединения в состав которых входят фосфор, сера, азот и галогены.
Такая классификация позволяет оценить экологические особенности данного вида отходов и правильно выбрать способ их обезвреживания и переработки (2).
3.4.Способы утилизации и переработки вторичного сырья
Основные этапы переработки вторичного сырья определяются его видом. Переработка твердых отходов включает:
• контроль радиоактивности, взрывоопасности и токсичности сырья; •классификацию и выбор способов обогащения и обезвреживания отходов; •разработку экологически чистой, оптимальной схемы извлечения ценных компонентов из вторичного сырья.
Переработка жидких отходов и промышленных стоков включает:
• входной контроль и обезвреживание токсичных веществ (цианидов, хрома, ртути, органических веществ);
• нейтрализацию растворов (не обязательна);
• разработку оптимальной схемы обогащения и извлечения ценных компонентов.
Выбор способа измельчения, обогащения и переработки зависит от размера перерабатываемого сырья, его состава, требований к конечному продукту, наличия необходимых реагентов, достаточного количества воды и соответствующих энергоресурсов (природный газ, электроэнергия, уголь). Кроме того, учитывается наличие необходимого оборудования, квалификация технического персонала и рабочих предприятия, на котором планируется проводить обогащение и переработку.
Особо следует учитывать экологические проблемы. Выбранная схема должна характеризоваться минимальными объемами твердых отходов и сбросных растворов, предусматривать улавливание и утилизацию газообразных продуктов; по возможности не должны использоваться ядовитые вещества (ртуть, кадмий и др.) (2).
3.5. Переработка сплавов редких элементов
Сплавы редких металлов перерабатывают окислением, хлорированием, электролизом и гидрометаллургическим способом. Их переработка осложнена более высоким содержанием других металлов и взаимным влиянием компонентов сплавов на технологические процессы (2).
3.5.1.Окислительные методы
Их можно использовать и для переработки сплавов и кусковых отходов твердых сплавов. Применяемые в настоящее время инструментальные твердые сплавы базируются на карбидах вольфрама, титана и тантала или на смеси указанных соединений с добавлением связующего металла - кобальта. К кусковым отходам твердых сплавов относятся брак производства, неиспользованные части пластинок инструмента, их осколки и др. В последние годы развивается выпуск неперетачиваемого твердосплавного инструмента; в связи с этим масштабы переработки кусковых отходов увеличиваются (2).
1) Распространенный способ переработки кусковых отходов твердых сплавов - сплавление с NaNOs.
Недостатки способа - значительный расход реагентов, большое количество циркулирующих растворов, разнообразной специальной аппаратуры, выделение агрессивных газов (NO, N02) - ограничивают его применение. Этот метод целесообразно применять на предприятиях, перерабатывающих вольфрамовые концентраты.
2) Для переработки отходов твердосплавного инструмента на основе карбидов тугоплавких металлов, содержащих Та, Nb, W, V, предложено использовать процесс самораспространяющегося высокотемпературного синтеза (СВС-процесс), который значительно интенсифицирует вскрытие отходов (2).
3) Окислением кислородом при 900-1000 °С с последующим выщелачиванием WO3 из продукта обжига растворами соды или щелочи можно перерабатывать и кусковые отходы твердых сплавов, содержащих вольфрам (1).
3.5.2. Методы хлорирования
Метод может быть применен для переработки отходов W - Re сплавов, отходов радиоэлектронной промышленности. При переработке отходов существуют две основные проблемы экологического характера: полнота использования хлора и использование раствора сопутствующих металлов.
При хороших технологических показателях следует отметить громоздкость оборудования для хлорных схем, а также трудности, связанные с агрессивностью и токсичностью хлора и хлоридов, необходимостью специальных коррозионностойких материалов для аппаратуры и значительными затратами на реагенты (2).
3.5.3.Способы электрохимического растворения отходов
Электрохимическое растворение отходов сплавов используют на отечественных и зарубежных предприятиях. Этот метод наиболее дешев и не требует сложной аппаратуры. Электрохимическое растворение целесообразно вести в щелочных растворах, так как образуются легко растворимые соли рения, вольфрама и молибдена.
Для создания хорошего электроконтакта и компактности отходы предварительно подготавливают к растворению: порошкообразные отходы и проволоку брикетируют; проволочные отходы перед брикетированием режут механическими ножницами и смешивают тонкую и толстую проволоки; отходы прутков и штабиков рубят на куски, размеры которых не превышают 400 мм. При компоновке анода брикеты из проволоки, порошкообразных материалов чередуют с отходами компактного металла (2).
3.5.4. Гидрометаллургические методы
Их можно использовать для переработки ниобиевых сплавов, содержащих 80-90% Nb, а также пылей от заточки твердосплавного инструмента.
Технологические этапы переработки ниобиевых сплавов состоят кислотной обработке, гидрировании, измельчении и сжигании.
Для переработки вольфрам-, молибденсодержащих ниобиевых сплавов, имеющих состав, %: Nb 94,95; W 3,12; Mo 1,34; Zr 0,42 Та 0,17, также можно использовать гидрометаллургический способ (2).
4. Исходные данные
4.1. Схема переработки карбида
Схема. Технологическая схема переработки карбида окислительным обжигом.

4.1.1.Аппаратурное оформление
Щековая дробилка.
Дисковая мельница
Грану лятор
Печь кипящего слоя 4.1-Циклон.
4.1.2. Рукавный фильтр
Реактор для выщелачивания (с распыляющимся с верху реагентом)
НУТЧ (вакуумный) фильтр
Колонна осаждения
НУТЧ (вакуумный) фильтр.
Сушильные аппараты с вращающимися барабанами
10-Индукционная печь
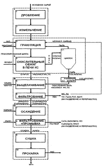
4.1.2.Описание схемы переработки карбида.
4.1.2.1.Дробление и измельчение.
Исходное сырье поступает в щековую дробилку, затем в дисковую мельницу, где происходит измельчение сырья до нужного размера до 1,0 мм.
4.1.2.2. Грануляция.
После измельчения сырье направляется в чашевой гранулятор. Грануляция позволяет существенно улучшить показатели обжига в кипящем слое, так как, во-первых, обеспечивает возможность возврата на грануляцию и затем на дообжиг в печь кипящего слоя неполно окисленной пыли циклона, во-вторых, при работе на гранулах значительно возрастает производительность печей. Кроме того, появляется возможность обжигать в кипящем слое наиболее тонкие концентраты, которые без грануляции обжигать в печах кипящего слоя не удается из-за слишком большого пылеуноса. В качестве связки используется бентонит, глина, обладающая хорошими вяжущими свойствами. Шихта для грануляции содержит 5-6% бентонита, 12-16% воды, остальное концентрат, оборотная пыль и не окислившийся карбид. На обжиг направляются гранулы крупностью до 2мм. без предварительной сушки (3).
4.1.2.3. Печь кипящего слоя.
Далее идет окислительный обжиг в печи кипящего слоя при температуре 900°С. Печь кипящего слоя представляет собой шахту цилиндрического или прямоугольного сечения, выполненную из жароупорного бетона или футерованную шамотным кирпичом и заключенную в стальной кожух.
В нижней части шахты расположена подина, которая обеспечивает равномерную подачу воздуха в поперечном сечении печи, предотвращает просыпание твердой фазы в пространство под подиной. Поды имеют сопла с колпачками в верхней части, для подвода воздуха и обеспечения беспросыпности. Общее число сопел устанавливают с таким расчетом, чтобы площадь живого сечения была 0,3-0,5% от площади пода.
Узел загрузки концентрата состоит га цилиндрического бункера с установленными под ним тарельчатым питателем. При вращении; тарели лежащий на ней материал сбрасывается неподвижным ножом в кольцевой желоб, а из последнего скребками, закрепленными на тарели, - в выгрузочную тачку. Далее концентрат через герметичный шлюзовой питатель, предотвращающий выброс газов из печи, и загрузочную трубу непрерывно подается непосредственно в кипящий слой. Скорость загрузки равна производительности тарельчатого питателя и определяется расстоянием между нижним срезом бункера и тарелью (устанавливается о помощью подвижной обечайки), а также скоростью вращения тарели. Воздух в печь кипящего слоя подается воздуходувками.
Огарок из кипящего слоя непрерывно пересыпается через разгрузочное отверстие, низший край которого (порог выгрузки) расположен на уровне 1000-1500 мм над подиной, накапливается в бункере. Питатель периодически выгружается в контейнеры. При обжиге гранулированного материала огарок периодически выгружается через течку, расположенную непосредственно над подиной.
Запыленные газы выходят из печи через отверстие, расположенное под сводом. Основная часть пыли обычно улавливается циклонами. Для глубокой очистки газов от тонких частиц пыли, могут использоваться рукавные фильтры с рукавами из стеклоткани. Очищенные газы вентилятором выбрасываются в атмосферу.
Устойчивая работа печи обеспечивается с помощью систем автоматического регулирования и контрольно-измерительных приборов. Наиболее сложной и ответственной является система автоматического регулирования температуры обжига путем изменения скорости загрузки в печь концентрата. Эта система состоит из установленной в кипящем слое термопары,, пишущего потенциометра о реостатным датчиком, нелинейного регулятора, исполнительного механизма и двигателя постоянного тока с независимым возбуждением, являющегося приводом тарельчатого питателя. При повышении температуры в печи исполнительный механизм увеличивает силу тока в цепи возбуждения двигателя и одновременно уменьшает напряжение, подаваемое на якорь, что приводит к снижению числа оборотов тарели; при понижении температуры скорость вращения тарели увеличивается. Отношение максимальной скорости загрузки к минимальной равно 5. Отклонения температуры обжига от заданной не превышают ± 2,5°С. Автоматически поддерживаются постоянными расход воздуха и разрежение под сводом печи (3).
4.1.2.4. Выщелачивание.
Огарок и пыль рукавного фильтра после окисления поступают в реактор для выщелачивания. Сверху шахты емкости распыляется 10%МНз при температуре 40°С с отношением тв/ж=1/3. При этом оксиды Ti, Fe; карбиды W, Ti и бентонит будут в осадке, а W, Co, Zn, Си перейдут в раствор.
4.1.2.5.Фильтрация.
Раствор и осадок после выщелачивания отфильтровываются на НУТЧ фильтре. Осадок идет на разделение и извлечение Ti, Fe; карбиды возвращаются на грануляцию, а раствор перекачивается из-за разности давлений в сборник и идет на следующую стадию.
4.1.2.6. Осаждение вольфрамовой кислоты.
Раствор содержащий целевые вещества в различных их соединениях обрабатывается 19,8% НС1 кислотой при 40°С. При этом будет образовываться осадок вольфрамовой кислоты, а все остальное будет находиться в растворе.
4.1.2.7.Фильтрация.
Раствор и осадок после осаждения отфильтровываются на НУТЧ фильтре, при этом идет дополнительное введение 2%НС1 для отмывки вольфрамовой кислоты и кислота направляется на сушку и прокалку. Раствор, содержащий аква комплексы Со, Zn, Си пойдет на дальнейшее разделение, предположительно методом экстракции.
4.1.2.8.Сушку и прокалку.
Ведем процесс во вращающихся печах при температуру 750-800°С. Вода упаривается при сушке, а конечный получается после прокаливания W03.
4.1.2.9. Аппаратурно-технологическая схема.
Схема 2. Аппаратурно-технологическая схема переработки сплава карбидов окислительным обжигом в печи кипящего слоя.

Щековая дробилка
Печь кипящего слоя
Чашевой гранулятор
Дисковая мельница 4.1-Циклон
Рукавный фильтр
Бункер
Тарельчатый питатель
Шлюзовый питатель
Порог выгрузки
Система водяного охлаждения
Подина
Реактор выщелачивания (с распыляющимся с верху реагентом)
ПУТЧ фильтр
Шахтная емкость осаждения (колонна осаждения)
НУТЧ фильтр.
Сушильные аппараты с вращающимися барабанами.
10-Индукционная печь 11-Насос
4.2. Состав исходного сырья
Таблица 2. Состав исходного сырья.
| WC | TiC | Со | Zn | Си | Fe | всего | |
| кг/ч | 130,000 | 25,000 | 10,000 | 0,500 | 1,000 | 0,167 | 166,667 |
| % | 78,000 | 15,000 | 6,000 | 0,300 | 0,600 | 0,100 | 100 |
4.3. Краткая характеристика элементов шихты
4.3.1. WC - Карбид вольфрама (12)
Молекулярная масса: 195,86
Получаются прокаливанием смеси W и С при 1400-1500°С.
Физические и химические свойства, tnn WC свыше 3000°С; плотность WC 15,6 г/см3.
Нерастворимы без разложения ни в одном из известных растворителей.
Применение: в производстве твердых сплавов.
Внешний вид: серые кристаллы
4.3.2. WO3 - Оксид вольфрама (VI) (12).
Парамагнитные желтые (оранжевые при нагревании) ромбические мелкие кристаллы (плотность равна 7,16-7,22 г/смЗ), которые плавятся при 1473°С, превращаясь в зеленую жидкость, кипящую при 1750°С. Они сублимируются, начиная от 1357°С. Мало растворимы в воде и кислотах. Растворяется в расплавах и растворах щелочей с образованием вольфраматов или поливольфраматов. Получают нагреванием металлического вольфрама при 900°С на воздухе или в токе кислорода, а также прокаливанием вольфрамовой кислоты H2WO4. Применяют в химической, стекольной и керамической промышленности для получения металлического вольфрама и его сплавов.
4.3.3.TiC - Карбид титана (12)
tun свыше 3000 °С. Карбид титана, обладающий высокой твердостью и тугоплавкостью, является компонентом жаропрочных и твердых инструментальных сплавов, абразивный материал, его используют для нанесения износостойких покрытий, для изготовления различных керамических изделий, в т. ч. тиглей и чехлов термопар, стойких к расплавленным металлам, для футеровки вакуумных высокотемпературных печей.
4.3.4. ТЮ2 - Оксид титана (IV) (12)
Встречается в природе в виде минерала рутила, анатаза (тетрагональные кристаллы) и брукита (ромбические кристаллы). Белый порошок. tra=1870°C, tKtni=30000C, плотность равна 3,6-3,95 г/см3 (анатаз), плотность равна 4,1-4,2 г/см3 (2) (брукит), плотность равна 4,2-4,3 г/см3 (2) (рутил). Разлагается выше 2927°С. Мало растворим в воде, разбавленных кислотах или растворах щелочей. Растворяется в концентрированной серной кислоте при нагревании, в расплавах гидроксидов или карбонатов щелочных металлов. Получают сжиганием металлического титана в избытке кислорода. Применяют в качестве пигмента для пластических масс, масляных красок, при производстве молочного стекла, тугоплавких стекол, фарфора, огнеупорного кирпича, в производстве эмалей, глазурей. В реакциях органической химии служит в качестве катализатора.
4.3.5.Со-Кобальт (12)
Электронная формула KL3s23p63d74s2, еион (Ме<=>Ме++е) =7,86 эВ.
Степень окисления: (+1), +2, (+3, +4); валентность: (1), 2, (3,4)
Физические свойства: серебристо-серый с розоватым оттенком металл, tra=1494°C,
1кип=2960°С, плотность кобальта 8,90 г/см3
Распространенность в природе: содержание в земной коре 410"3%(масс)
Основной минерал: кобальтин CoAsS (кобальтовый блеск).
Получение: из руд пиро - и гидрометаллургическими методами. В частности на конечной стадии смесь оксидов кобальта восстанавливается углеродом в электропечах.
Химические свойства: малоактивный металл. Устойчив к действию сухого и влажного воздуха. Растворяется в разбавленных кислотах. При нагревании реагирует с кислородом, галогенами, азотом, серой и другими неметаллами.
4.3.6.СоО - Оксид кобальта (П) (12)
Серовато-зеленый кристаллический порошок с решеткой типа NaCl.1ПЛ=1935°С, плотность равна 6,45 г/см. Устойчив до 2860°С. Мало растворим в воде и других растворителях. Проявляет основные свойства. Восстанавливается до металлического кобальта водородом, углеродом, серой, алюминием. Получают действием кислорода или паров воды на металлический кобальт при температуре выше 940°С, разложением СозСч или СоаОз, прокаливанием гидроксида, сульфата, нитрата кобальта (П). Применяют для изготовления отрицательных электродов аккумуляторов, для получения окрашенных стекол, фарфора и эмалей, в качестве катализатора.
4.3.7.Со2О3 - Оксид кобальта (Ш) (12)
Черные гексагональные мелкие кристаллы. Плотность равна 5,34 г/см3. Устойчив в виде моногидрата. Превращается в СозСч при 265°С, в СоО при 940°С с выделением кислорода. Окисляет хлороводородную кислоту с выделением хлора. Восстанавливается водородом или метаном. Получают дегидратацией Со20з nt^O или прокаливанием нитрата кобальта (П) при 180°С. Применяют как пигмент для эмалей и глазурей.
4.3.8. Zn - Цинк (12)
Электронная формула KLM4s2, Еион(Ме=>Ме++е) =9,39 эВ
Степень окисления: +2; валентность: 2
Физические свойства: серебристо-белый с голубоватым оттенком мягкий металл,
U =1809°C, tjonr^OOCfC, плотность равна 7,13 г/см3
Распространенность в природе: содержание в земной коре 8,010"3%(масс)
Основные минералы: сфалерит (цинковая обманка) ZnS
Получение: из руды пирометаллургическим и гидрометаллургическим способом
Химические свойства: малоактивный металл, проявляет амфотерные свойства. Реагирует с неметаллами, водой, кислотами, щелочами.
4.3.9.ZnO - Оксид цинка (12)
Встречается в природе в виде минерала цинкита. Диамагнитные кристаллы со структурой вюртцита белого цвета. tnn=1969°C, плотность равна 5,70 г/см3. Мало растворим в воде. Растворяется в кислотах и щелочах. Обладает люминесцентными и фотохимическими свойствами. При нагревании восстанавливается углеродом, монооксидом углерода, водородом. В лаборатории может быть получен сжиганием металлического цинка или прокаливанием гидроксида, карбоната или нитрата цинка. Применяют для приготовления масляных красок, для получения некоторых препаратов, используемых в медицине и косметике, в резиновой и керамической промышленности, а также в качестве катализатора при синтезе метанола.
4.3.10. Си - Медь (12)
Электронная формула KLM4S1, Еи0н(Ме<=>Ме++е) =7,72 эВ
Степень окисления: +1, +2, (+3); валентность: 1,2, (3)
Физические свойства: мягкий блестящий металл красноватого цвета, 1Ш =1085°С,
1кип=2540°С, плотность меди 8,94 г/см3
Распространенность в природе: содержание в земной коре 4,710"3%(масс)
Основные минералы: халькопирит CuFeSi, халькозин (медный блеск) CuiS, малахит Си2(ОН) 2СОз, встречается также в свободном состоянии (самородная медь).
Получение: из руд пирометаллургическим и гидрометаллургическим способом. В пирометаллургическом способе медь получается при нагревании с