Измерение фокусных, вершинных фокусных и рабочих расстояний оптических систем
БЕЛОРУССКИЙ ГОСУДАРСТВЕННЫЙ УНИВЕРСИТЕТ ИНФОРМАТИКИ И РАДИОЭЛЕКТРОНИКИ
Кафедра электронной техники и технологии
РЕФЕРАТ
На тему:
«Измерение фокусных, вершинных фокусных и рабочих расстояний оптических систем»
МИНСК, 2008
В процессе изготовления ЭОС приборов осуществляется контроль их оптических характеристик. Остановимся на некоторых из них, в частности, на определении фокусных расстояний f', вершинных фокусных расстояний S'Fи рабочих расстояний А, т.е. расстояний от опорного торца оправы системы до фокальной плоскости.
Вершинные фокусные расстояния обычно контролируют при изготовлении отдельных и склеенных линз.
Фокусные расстояния проверяют в более сложных оптических системах, например, в объективах.
Рабочие расстояния измеряют в тех случаях, когда нужно знать расположение фокуса объектива относительно его опорного торца для последующего соединения испытуемой системы с какой-либо другой оптической или механической системой (рис.1).
В отличие от вершинных фокусных расстояний рабочее расстояние объектива можно изменять подрезкой опорного торца оправы или какого-либо промежуточного торца. Методику измерения указанных параметров выбирают в зависимости от поставленной в каждом конкретном случае задачи.
При контроле изготовления некоторых оптических деталей необходимо сравнивать измеренные и расчетные вершинные фокусные расстояния.
В чертежах на оптические детали обычно приводятся величины фокусных расстояний и вершинных фокусных расстояний для параксиальных лучей, т. е. лучей, достаточно близких к оптической оси, для монохроматического света для линии натрия D (
= 589,3 нм). Поэтому при измерении целесообразно диафрагмировать контролируемые детали, пропуская сквозь них узкие центральные пучки монохроматического света, создаваемого, например, с помощью интерференционного фильтра. Это особенно существенно при измерении несклеенных деталей, у которых сферическая и хроматическая аберрации весьма велики.
При определении фокусного расстояния и рабочего расстояния оптических систем целесообразно за положение фокальной плоскости принимать плоскость, в которой получается наилучшее изображение, соответствующее наилучшему распределению энергии в изображении точки.
Местоположение этой плоскости зависит от остаточных аберраций системы и от применяемых при измерениях источников света и приемников излучений.
Поэтому при подобных измерениях, если это не обусловлено специальными требованиями, желательно контролируемую систему не диафрагмировать, а источник света и приемник излучений подбирать так, чтобы их спектральные характеристики были близки к тем, которые имеют место в реальных условиях эксплуатации, в противном случае необходимо учитывать соответствующую разницу в положениях фокальной плоскости.
Например, при переходе от рабочего расстояния объектива, измеренного визуальным или фотоэлектрическим методом к фотографическому рабочему расстоянию всегда учитывается величина смещения. Фокальной плоскости объектива.
Измерение вершинных фокусных расстояний
Измерение на оптической скамье. Вершинные фокусные расстояния положительных оптических деталей и систем измеряют на оптических скамьях типа ОСК-2, ОСК-3, а также на скамьях иностранных фирм.
При измерении вершинного фокусного расстояния микроскоп сначала фокусируют на заднюю поверхность контролируемой детали, а затем на изображение сетки, расположенной в фокальной плоскости объектива коллиматора.
В обоих положениях микроскопа снимают отсчеты по шкале с помощью иониуса. Разность отсчетов определяет вершинное фокусное расстояние.
Сетку коллиматора освещают электрической лампой через молочное или матовое стекло и светофильтр.
Фокусировку па поверхность линзы осуществляют по имеющимся на ней мельчайшим царапинам. Поверхность линзы освещают источником света, расположенным сбоку.
Если царапины видны плохо, то на поверхность наносят несколько пылинок ликоподия, мела или пудры; иногда на поверхность достаточно подышать и затем фокусировать по пузырькам воды.
В большинстве случаев достаточно применять увеличение микроскопа порядка 20—30х. При измерении отрицательных систем либо объектив микроскопа заменяют длиннофокусной положительной линзой, либо весь микроскоп заменяют зрительной трубой с положительной насадкой.
В этом случае наблюдательный прибор после наведения на поверхность следует перемещать в сторону коллиматора, а не в противоположную сторону, как это имеет место при измерении положительных систем. Погрешность определения положительных вершинных фокусных расстояний, с превышает 1%, что вполне достаточно для сравнения полученных. результатов с расчетными данными.
Точность определения отрицательных вершинных фокусных расстояний вообще меньше точности положительных и уменьшается с увеличением абсолютных величин вершинных расстояний.
При испытании хорошо корригированной системы точность измерений можно значительно повысить, если ее не диафрагмировать. В этом случае она зависит от качества коррекции системы и её апертуры.
При достаточно совершенной контролируемой системе ошибку наведения можно определить в мкм:
![]()
где и - апертурный угол испытуемой системы.

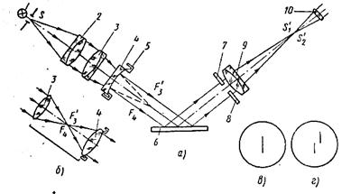
Схема измерений вершинных фокусных расстояний, предложенная Ю.В. Коломийцовым.
В этих случаях необходимо, чтобы апертура наблюдательного микроскопа была не меньше апертуры контролируемой системы.
Измерение по методу Ю. В. Коломийцова. Схема установки, предложенная Ю.В. Коломпйцовым, предназначена для быстрого относительного контроля положительных и отрицательных вершинных фокусных расстояний в условиях массового производства.
Пучок лучей, выходящих из щели S коллиматора, освещаемой лампой накаливания 1, проходит объектив коллиматора 2, дополнительный объектив 3, контролируемую линзу 4и, отразившись от зеркала 6, сходится в фокальной плоскости объектива зрительной трубы 9.
Полученное таким образом изображение S' щели коллиматора с помощью двух клиньев 7 и 8разденется на две части, разведенные относительно друг друга по высоте (
и
).
Дополнительный объектив 3 является сменным и рассчитывается отдельно для каждого типа испытуемых линз с компенсацией их сферических и хроматических аберраций.
Изображения щели
и
будут расположены точно Друг над другом в, если фокус линзы 4совпадает с фокусом дополнительного объектива.
В этом случае при отрицательной контролируемой линзе линза 4и дополнительный объектив 3 образуют галилеевскую оптическую систему (а) при положительной испытуемой линзе — кеплеровскую систему (б).
Если фокусы линзы 4 и объектива 3не совпадут, то изображения щели разойдутся (рис. 4, г), тогда их можно совместить перемещением дополнительного объектива 3.
Объектив 3перемещается с помощью микрометренного механизма, по которому это смещение отсчитывают.
Вершинные фокусные расстояния измеряют следующим образом. В прибор, юстированный по эталонной линзе, вставляют контролируемую, линзу указанным выше способом, вновь совмещаются изображения щели; полученное при этом смещение дополнительного объектива 3, измеренное по шкале микрометренного механизма, равно величине отступления вершинного фокусного расстояния контролируемой линзы от эталонной.
Точность измерения на приборе весьма велика. Так, по экспериментальным данным, максимальная погрешность при вершинном фокусном отрезке линзы, равном 25 мм, составила 0,04%.
Измерение фокусных расстояний
Метод увеличения на коллиматоре.
Визуальное определение фокусных расстоянийвыполняют по схеме. В фокальной плоскости коллиматорного объектива 2расположена сетка 1с несколькими вертикальными штрихами. Ее изображение получается в фокальной плоскости испытуемого объектива 3. Это изображение рассматривают посредством микроскопа и измеряют с помощью окуляр-микрометра.
,
отсюда
(1)
Обозначив
=С = const, получим ![]()
Если фокусное расстояние коллиматорного объектива неизвестно, то можно сразу определить постоянную С.
Для этого необходимо измерить с помощью теодолита угол, под которым видно расстояние между штрихами сетки со стороны объектива коллиматора.
Фокусное расстояние объектива коллиматора равно 750 мм. В его фокальной плоскости расположена сетка с шестью параллельными штрихами; расстояния, между ними от 6 до 60 мм. Измерительный микроскоп установки имеет два сменных объектива с увеличением 3 и 6х и окуляр-микрометр с увеличением 10х.
В зависимости от величины фокусного расстояния испытуемой системы измерения выполняют либо окуляр-микрометром, если в поле зрения микроскопа видна сразу симметричная пара штрихов коллиматорной сетки, либо перемещением всего микроскопа.
Для этой цели микроскоп устанавливают на специальной каретке, снабженной микро-метренным винтом.
Первый способ применяется для измерения объективов с фокусными расстояниями до 40 мм, второй — для объективов с большими фокусными расстояниями.
Суммарная погрешность измерения
обычно составляет 0,2—0,3%. измеряемой величины.
Кроме указанных ошибок на точность измерений может влиять неточность установки сетки в фокальной плоскости объектива коллиматора, однако эта ошибка уменьшается пропорционально отношению квадратов фокусных расстояний контролируемого и коллиматорного объективов.
Таким образом, относительная погрешность при измерении фокусного расстояния составит 0,3—0,6%.
Фотографическое определение фокусных расстояний отличается от визуального только тем, что изображение сетки коллиматора, полученное в фокальной плоскости испытуемого объектива, воспринимается фоточувствительным слоем, а затем измеряется па компараторе.
Таким методом обычно определяют фокусные расстояния фотографических объективов, причем фокусное расстояние измеряют одновременно с определением фотографической разрешающей силы.
ЛИТЕРАТУРА
1. Малов А.Н., Законников Обработка деталей оптических приборов. Машиностроение, 2006. - 304 с.
2. Бардин А.Н. Сборник и юстировка оптических приборов. Высшая школа, 2005. - 325с.
3. Кривовяз Л.М., Пуряев Д.Т., Знаменская М.А. Практика оптической измерительной лаборатории. Машиностроение, 2004. - 333 с.