Основные пути снижения издержек при осуществлении процесса хранения продукции
Министерство образования и науки Российской Федерации
Кампи
Кафедра
Курсовая работа
по дисциплине: Логистика
на тему: «Основные пути снижения издержек при осуществлении процесса хранения продукции»
Выполнил:
Проверил:
г. Набережные Челны,
2006 г.
СОДЕРЖАНИЕ
1. Вводная часть значений мучных блюд и изделий в питании
2. Технологическая часть приготовления пресного слоеного теста и изделия из него («Язычки слоеные»)
3. Организация рабочего места
4. Требования к качеству изделия из теста
5. Эксплуатация оборудования и правила безопасности при обслуживании
Приложение
Список использованной литературы
1. Вводная часть значений мучных блюд и изделий в питании
К изделиям из теста относят мучные блюда, мучные кулинарные изделия, сдобные хлебобулочные изделия, мучные кондитерские изделия. Они занимают достойное место в славянской кухне.
В процессе производства мучных изделий значительное внимание уделяют организации их централизованного производства, при котором возможна механизация многих трудоемких операций (замес и раскатка теста, взбивание кремов, изготовление помады и т.д.), а также использованию полуфабрикатов промышленного производства.
Основным компонентом всех мучных изделий является мука, на основе которой готовят то или иное тесто. (4, с.685)
Продукты, входящие в рецептуру изделий из теста, обладают высокой энергетической ценность и являются важным источником углеводов (крахмала, пищевых волокон и Сахаров), жиров (особенно изделия из сдобного теста), витаминов группы В, ценных минеральных веществ. Их пищевая ценность определяется прежде всего химическим составом муки.
За счет зерновых продуктов возмещается более 1/2 потребности организма в углеводах и около 40 % в белках. Однако белки муки неполноценны, так как незаменимые аминокислоты находятся в них в соотношениях, далеких от оптимальных. Особенно они дефицитны по лизину. Поэтому утилизируются белки не более чем на 56 %. Добавляя в тесто молоко и яйца или приготовляя кулинарные мучные изделия с фаршами из творога, мяса и рыбы, можно значительно повысить утилизацию белка. Усваиваются белки муки тоже недостаточно хорошо (на 75...89 %). Придавая изделиям рыхлость, пористость, можно повысить их усвояемость.
Соотношение важнейших зольных веществ в муке неблагоприятно, но такие продукты, как молоко, творог, а также капустные и фруктовые фарши, входящие в состав многих мучных изделий, значительно улучшают их минеральный состав, особенно обогащают из соединениями кальция и фосфора в нужном соотношении. Кроме того, белки продуктов, входящих в начинки (фарши) мучных блюд и изделий, дополняют аминокислотный состав белков муки. Так, в варениках с творогом и ватрушках аминокислотный состав белков близок к оптимальному. (4, с.686)
Так, соотношение соединений кальция и фосфора в дрожжевом тесте для пирожков близко к 1: 6 (при оптимальном 1:1,5 ...2), а в пирожках с капустой 1:1,8. Содержание белков в тесте для пирожков жареных около 5,1 г в 100 г изделия, а в этих же пирожках с мясом — около 13 %.
2. Технологическая часть приготовления пресного слоеного теста и изделия из него («Язычки слоеные»)
Процесс приготовления пресного слоеного теста состоит из следующих операций:
-приготовления густого пресного теста;
-выдержки его для набухания белков клейковины;
-подготовки масла или маргарина;
-раскатки и слоения;
-формовки изделий.
Муку для приготовления слоеного теста берут с высоким содержанием клейковины. В дежку тестомесильной машины наливают холодную воду, раствор лимонной кислоты, меланж, соль, муку и замешивают тесто в течение 15...20 мин до получения однородной массы. Замешенное тесто выкладывают на стол, посыпанный мукой, и оставляют на 20...30 мин для набухания клейковины. (4, с.710)
Параллельно с замесом теста подготавливают маргарин. Для этого его нарезают на небольшие куски, кладут в тестомесильную машину, всыпают муку (10 % массы маргарина) и перемешивают. Затем массу выкладывают на стол, придают форму прямоугольных пластов толщиной 20 мм и охлаждают в холодильной камере до температуры 12...14 °С.
Тесто раскатывают в прямоугольные пласты толщиной в центре 20...25 мм, а по краям несколько тоньше — 17...20 мм. На середину этих пластов кладут подготовленный маргарин (пласт теста примерно в 2 раза больше пласта маргарина), концы теста соединяют сбоку и защипывают. Подготовленное тесто с маргарином раскатывают на тестораскаточных машинах, имеющих одну пару вальцов, расстояние между которыми можно менять в пределах от 1 до 50 мм. Вначале между вальцами устанавливают большой зазор (около 20 мм) и пропускают тесто. Полученный пласт складывают в четыре слоя и пропускают через вальцы с меньшим зазором. Далее операцию повторяют, складывают тесто вчетверо и охлаждают в течение 30...40 мин в холодильнике. После охлаждения операцию по раскатыванию теста, складыванию его вчетверо и охлаждению повторяют дважды. Затем тесто прокатывают два раза между вальцами с зазором 10 и 6 мм.
Пласты теста с маргарином можно раскатывают вручную на столе, посыпанном мукой. Подготовленное тесто формуют в виде шара, делают на нем крестообразный надрез и раскатывают до толщины 20...25 мм в средней части и 17...20 мм — по краям, при этом получается пласт крестообразной формы с четырьмя овальными концами. С пласта сметают муку и на середину его кладут подготовленный маргарин, который накрывают свободными концами теста. Края теста защипывают, получается конверт, внутри которого находится слой маргарина. Подпыливают мукой и, начиная с середины, раскатывают тесто в прямоугольный пласт толщиной 10 мм.
Полученный пласт складывают в четыре слоя: соединяют два противоположных конца, но не на середине, а ближе к одному краю, а затем складывают еще раз вдвое и помещают в холодильник с температурой 2...4 С на 30..-40 мин. Раскатку теста, свертывание в четыре слоя и охлаждение повторяют еще три раза. Готовое тесто состоит из 256 слоев.
Чтобы тесто не рвалось при многократной раскатке, оно должно быть эластичным, поэтому лучше использовать муку с сильной клейковиной. Лимонная кислота, добавляемая в тесто, способствует набуханию белков клейковины. Обработка маргарина с мукой препятствует слипанию слоев при выпечке, так как мука связывает влагу. Периодическое охлаждение теста в процессе его приготовления препятствует растапливанию и вытеканию масла. Из слоеного теста готовят пирожки, кулебяки, волованы, языки, торты, пирожные, в нем также запекают яблоки. (4, с.710)
Рецепт «Язычки слоеные»
- мука - 500г
- масло сливочное - 50г
- вода - 340 мл
- уксус - 2 ст.л.
- масло сливочное для слоения - 500г
- сахар для посыпки - 150-200г
Тесто раскатывают слоем толщиной 5...6 мм и вырезают из него гофрированной выемкой кусочки 7 на 10 см овальной формы, придают им форму языка, раскатывая скалкой.
![]()
![]()
Поверхность стола, на котором раскатывают тесто, посыпают сахарным песком. Сформованные изделия укладывают на противень, смоченный водой, так, чтобы поверхность с сахаром была сверху. Выпекают при температуре 220...230 °С до тех пор, пока сахар на поверхности не начнет слегка плавиться, что придаст язычкам блеск
Сухие продукты (муку, сахар) хранят в кладовой с относительной влажностью воздуха 60...65 %. Качество сырья, поступающего на предприятия, должно соответствовать требованиям, установленным государственными стандартами. (4, с.711)
Мука. На предприятиях общественного питания используют главным образом пшеничную муку высшего и 1-го сортов.
Важнейшими показателями муки, определяющими ее технологические свойства, являются влажность, содержание и качество клейковины.
Влажность. В рецептурах расход муки для приготовления теста требуемой влажности и консистенции установлен для базисной влажности, равной 14,5 %. В процессе хранения и транспортировки влажность муки может меняться. При использовании муки, влажность которой выше 14,5 %, количество жидкости в рецептуре уменьшают, а при влажности ниже 14,5 % — увеличивают. Количество жидкости в рецептуре в этих случаях уменьшают или увеличивают на 1 % на каждый процент отклонения влажности муки от базисной.
Вторым важнейшим показателем технологических свойств муки является ее сила, которая зависит от количества и качества клейковины.
Клейковиной называется набухшая эластичная масса, состоящая из двух белков, содержащихся в пшеничной муке, — глиадина и глютенина. От количества и качества клейковины зависят многие структурно-механические свойства теста и водопоглотительная способность муки. В зависимости от количества сырой клейковины мука делится на три группы: первая — с содержанием сырой клейковины до 28 %; вторая — от 28 до 36 %; третья — до 40 %.
Хорошая клейковина кремового цвета, эластичная, не липнет к рукам, способная поглощать много воды. Мука с такой клейковиной называется сильной. Тесто из такой муки хорошо сохраняет форму при расстойке и выпечке, эластичное, нормальной
консистенции, хорошо удерживает углекислый газ при брожении; оболочка вареников и пельменей из такого теста не лопается, выпечные изделия хорошо сохраняют форму.
Плохая клейковина серого цвета, клейкая, липкая, малоупругая, крошливая. Мука с такой клейковиной называется слабой. Тесто из нее плохо удерживает влагу, расплывается, изделия плохо сохраняют форму, тесто характеризуется низкой газоудерживающей способностью. (4, с.711)
Перед использованием муку просеивают для удаления механических примесей, разрушения комков и насыщения муки воздухом. Во время замеса муки с водой формируется однородное тесто с определенными свойствами. Процесс формирования теста заключается в том, что частицы клейковины набухают, соединяются друг с другом и образуют в тесте внутренний каркас, придающий ему необходимые структурно-механические свойства.
Для приготовления слоеного теста используют механический способ. Это объясняется тем, что в рецептуру теста входят вещества, способные образовывать эмульсии. Последующий замес теста при добавлении муки позволяет получить хорошо разрыхленное тесто, так как в процессе взбивания масса насыщается мельчайшими пузырьками воздуха, которые обволакиваются пленками из частиц взбиваемого продукта.
Путем многократного пропускания теста с размягченным маслом через вальцы с различным зазором получают хрустящее изделие из слоеного теста (благодаря жировой прослойке между слоями).
3. Организация рабочего места
Рабочим местом называется часть производственной пощади, где работник выполняет отдельные операции, используя при этом соответствующее оборудование, посуду, инвентарь, инструменты. Рабочие места имеют свои особенности, в зависимости от места и типа предприятия, его мощности, характера выполнения операций.
Площадь рабочего мета должна быть достаточной, чтобы обеспечить рациональное оборудование, создание безопасных условий труда, а так же удобное расположение инвентаря, инструментов. (4, с.235)
Организация рабочих мест учитывает антропометрические данные строения тела человека, т.е. на основании роста человека определяется глубина, высота рабочего места и фронт работы для одного работника.
Для работника должны быть созданы нормальные условия труда — освещение, отопление, вентиляция, обеспечены меры по профилактике травматизма. У рабочих мест вывешивают предупредительные надписи, инструкции по технике безопасности и санитарные правила. Администрация пищеблока (столовой) обеспечивает инструктаж по технике безопасности, а также производственной санитарии всех сотрудников и контролирует соблюдение ими требований по охране труда. Вводный инструктаж по письменным инструкциям проводит администратор, имеющий право приема на работу. Инструктаж на рабочем месте (непосредственно у оборудования) проводит руководитель работы (шеф-повар, зав. производством и др.). Индивидуальный инструктаж работника включает: ознакомление с технологическим процессом на данном участке, конструкцией и эксплуатацией оборудования (пуск, особенности работы, аварийная остановка и др.), необходимыми мерами предосторожности, правилами санитарного содержания рабочего места. Завершается инструктаж проверкой практических навыков. Главное он должен поддерживать рабочее место, кухонного оборудования и бытовых приборов в чистоте и порядке.
4. Требования к качеству изделия из теста
Выпеченные изделия из теста должны иметь правильную, нерасплывшуюся форму, ровную, блестящую, без надрывов, трещин поверхность, золотистую или светло-коричневого цвета корочку. Мякиш пористый, без пустот, эластичный, без закала, некрошливый, плотно прилегает к корочке. Наиболее часто встречаются следующие дефекты пресного слоеного теста и изделий из него:
• слоеный полуфабрикат с плохим подъемом, толстыми слипшимися слоями. Причины: мука с небольшим количеством клейковины, недостаток или отсутствие кислоты, высокая температура помещения, где приготовлено тесто, недостаточное охлаждение теста, излишнее количество раскаток, низкая температура выпечки;
• слоеный полуфабрикат с неравномерным подъемом, вздутиями. Причины: тупые выемки, пласт не был проколот перед выпечкой;
• слоеный полуфабрикат сухой и жесткий. Причины: недостаточно раскатан пласт, низкая температура выпечки (масло вытекло), масло имело низкую температуру;
• слоеный полуфабрикат имеет плотный мякиш с закалом. Причины: высокая температура выпечки, во время выпечки противень подвергался механическому воздействию, недостаточное время выпечки;
• поверхность полуфабриката бледная, с серым оттенком.
Причина: низкая температура выпечки; (4, с.725)
• поверхность слоеного полуфабриката темная. Причина: высокая температура выпечки.
В соответствии с требованиями к качеству языки должны иметь удлиненную форму, поверхность, покрытую кристаллами сахарного песка, цвет светло-желтый, тесто сухое, на разрезе — слоистое строение.
Готовые изделия следует хранить в чистых, сухих, хорошо вентилируемых помещениях. Изделия укладывают в один ряд в деревянные или металлические лотки с крышками, дно лотков выстилают пергаментом. При хранении следует строго соблюдать режим и сроки хранения.
Полуфабрикаты из теста можно хранить при температуре 2...4 °С и относительной влажности воздуха 75 % от 0,5 до 3 сут. Срок хранения слоеного теста — 24 часа.
5. Эксплуатация оборудования и правила безопасности при обслуживании
При приготовлении в домашних условиях и в небольших количествах используется различная посуда и специальные приспособления, которые во многом облегчают и ускоряют труд. Кастрюли различной вместимости используют для замешивания теста и смешивания продуктов. Лучше использовать кастрюли из нержавеющей стали. (2, с.181)
Деревянный инвентарь нельзя замачивать в горячей воде, так как он набухает и деформируется. После мытья его следует протереть и высушить.
На предприятиях общественного питания, а также в специализированных цехах по производству хлебобулочных изделий для замеса теста кроме подручных кухонных инструментов также широко используют тестомесильные машины периодического действия: МБТМ-140, ТММ-1М, МТМ-60М, ТМС-140, А2-ХТМ, Л4-ХТВ и МТМ-15 для замеса крутого теста и многие другие (см. приложение 1).
Машина МБТМ-140. Предназначена для замеса теста любого вида. Состоит из двух частей — собственно машины и подкатной дежи. Собственно машина имеет корпус, механизмы передачи движения рабочему органу и деже, механизм подъема и опускания траверсы. Дежа 2 (см. приложение 1) и рабочий орган 3 совершают вращательное движение. На валу электродвигателя 22 закреплены два шкива 20, 21, один из которых передает вращательное движение с помощью клинового ремня 19 шкиву 18, на валу которого закреплен червяк 77, а червяк — червячному колесу 16. На валу червячного колеса 16 закреплено фрикционное колесо 15 с резиновым покрытием, с помощью которого за счет сил трения вращается дежа.
Ось дежи установлена в подшипнике корпуса тележки 7. Второй шкив 21, установленный на валу электродвигателя, передает движение шкиву 14, на вал которого насажен червяк 8, входящий в зацепление с червячным колесом 7. Последнее передает вращательное движение рабочему валу 5 и рабочему органу 3. Рабочий орган имеет сложную криволинейную конструкцию, охватывающую при своем движении практически весь объем дежи. Рабочий орган установлен наклонно.
Для подъема и опускания траверсы 6 есть реверсивный электродвигатель 13. В траверсу входят крышка 4, закрывающая дежу в момент замеса теста и переходящая в корпус траверсы 6, в котором размещены червячная передача и рабочий вал 5. К корпусу траверсы прикреплен червячный сектор 9, входящий в зацепление с червяком 10, который через червячную передачу 77 и понижающую клиноременную передачу 12 получает движение от реверсивного электродвигателя 13. (2, с.182)
Принцип действия. Дежу, загруженную продуктами, подкатывают к машине и устанавливают таким образом, чтобы фрикционное колесо плотно прилегало к поверхности дежи. Включают реверсивный электродвигатель и с помощью клиноременной и червячной передач движение передается червяку, который начинает перемещать червячный сектор, а связанная с ним траверса вместе с крышкой и рабочим органом поворачивается на определенный угол вокруг оси червяка 8, опускаясь вниз до тех пор, пока рабочий орган полностью не войдет в дежу, а крышка должна при этом закрыть открытую верхнюю часть дежи. Окончание опускания траверсы контролируется конечным блокировочным выключателем.
С помощью программатора устанавливают время замеса приготавливаемого теста. Далее включают электродвигатель, передающий вращательное движение посредством клиноременной и червячной передач рабочему органу и деже. Происходит замес теста. После окончания замеса машина автоматически отключается. Включается «реверс» электродвигателя, и траверса вместе с рабочим органом поднимаются. После окончания подъема траверсы (рабочий орган должен полностью выйти из дежи) дежу с тестом откатывают от собственно машины.
Машина ТММ-1М. Предназначена для замеса теста различной консистенции. Состоит из станины, кожуха, фундаментной плиты, электродвигателя, передаточных механизмов, месильного рычага с лопастью и дежи с передвижной тележкой.
На фундаментной плите 7 (приложение 2) лапами крепится червячный редуктор 23, вал червяка которого телескопически через шпонку соединен с валом электродвигателя 14. От вала червячного колеса движение передается в двух направлениях. На одном конце вала на шлицах закреплена звездочка цепной передачи, которая с помощью втулочно-роликовой цепи передает вращение звездочке 13, сидящей на цилиндрической шейке кривошипа 10, опирающегося на неподвижную ось 11. Другой конец вала червячного колеса через промежуточный валик передает движение второму червячному редуктору 21, смонтированному на фундаментной плите 7. Вращение дежи 6 от второго червячного редуктора осуществляется диском 4 с квадратным отверстием в центре, в которое входит квадратный выступ, выполненный на цапфе 22 дежи. Выступ цапфы входит в отверстие диска под действием усилия пружины 20. При накатывании и откатывании дежи квадрат цапфы приподнимается педалью 19. (2, с.183)
Движение месильному рычагу 76 с лопастью 7 7 от кривошипа 10 передается через сферический самоустанавливающийся шариковый подшипник 9. Внутренняя обойма его напрессована на конец короткого плеча месильного рычага, а наружная обойма находится в отверстии кривошипа 10. Месильный рычаг 16 разделен сферическим утолщением на два плеча: короткое прямое и длинное, изогнутое под углом 118°. Плечи месильного рычага при движении описывают конусы. Вершины обоих конусов находятся в точке опоры рычага. Точкой опоры, или центром вращения, является шарнир 24. Для лучшего перемешивания теста ось вращения лопасти смещена относительно оси вращения дежи.
Машина комплектуется тремя сменными дежами. Тележка 3 с дежой фиксируется на фундаментной плите тремя цилиндрическими штырями, которые входят в специальные отверстия на корпусе тележки. Тележка 3 снабжена тремя поворотными колесами 18 и 2. Чтобы дежа не вращалась при передвижении тележки по цеху, в корпусе тележки предусмотрено специальное устройство, которое после поворота дежи на определенный угол удерживает ее в неподвижном положении, а чтобы месильный рычаг не мешал накатывайию и скатыванию дежи, его вручную поднимают маховиком 25, закрепленным на валу электродвигателя 14. Для доступа к маховику на боковой стенке пустотелой станины есть легко открывающаяся дверца.
Во избежание выбрасывания теста из дежи в момент его замешивания предусмотрены специальные ограждающие щиты 7. Каркас с ограждающими щитами шарнирно прикреплен рычагом 8 к станине 15 машины. Поднимают и опускают оградительные щиты вручную, с помощью специальной рукоятки 12. В момент замеса щиты опускаются вниз и плотно охватывают дежу. Машина имеет систему блокировки, отключающую привод при поднятии ограждения и при неустановленной на станине и фундаментной плите тележки с дежой. (2, с.183)
Правила эксплуатации тестомесильных машин. Очищенную и вымытую дежу подкатывают к машине под месильную лопасть, находящуюся в верхнем положении. Дежа фиксируется в строго определенном положении по отношению к машине ТММ-1М тремя цилиндрическими штырями, прикрепленными к станине машины, на которые рама тележки наезжает тремя цилиндрическими углублениями. Одновременно квадратный выступ, который есть на цапфе дежи, входит в отверстие диска второго червячного редуктора и закрепляется в этом положении.
В подготовленную таким образом машину вручную подают подлежащие перемешиванию продукты, строго соблюдая при этом норму заполнения дежи продуктами. Коэффициент загрузки не должен превышать 0,8 для жидкого теста и 0,5 для крутого. Затем поворотом рычага на дежу опускают предохранительные щиты и включают электродвигатель.
После окончания замешивания теста выключают электродвигатель. При этом месильная лопасть должна находиться в верхнем положении — вне дежи. Если при остановке машины лопасть окажется внутри дежи, ее выводят из дежи поворотом маховика электродвигателя. Затем поворотом рычага поднимают предохранительные щиты и счищают с месильного рычага тесто, после чего нажимают на педаль и выкатывают дежу.
В процессе работы необходимо соблюдать правила техники безопасно брать пробу теста, а также откатывать дежу при включенном электродвигателе. (2, с.184)
Длительная и надежная работа машины зависит от своевременной и правильной смазки трущихся элементов. Для этого еженедельно смазывают солидолом подшипники кривошипа, месильного рычага и хвостовик вилки. Ежедневно машинным маслом смазывают колеса и вертлюги тележки. Подшипники электродвигателя и червячные редукторы смазывают в соответствии с графиком ППР.
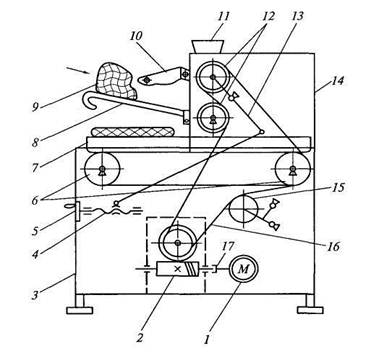
Тестораскаточные машины предназначены для раскатывания крутого пшеничного теста пластами или лентами толщиной от 1 до 50 мм, из которых изготовляют различные кондитерские изделия, а также домашнюю лапшу, пельмени, вареники и т.п.
Тестораскаточная машина МРТ-60М (см. приложение 3) состоит из электродвигателя с червячным редуктором, сварного каркаса, раскаточных валков, механизма регулирования зазора между валками, устройства для посыпания валков мукой, транспортера и пускового устройства.
Рабочими органами машины служат раскаточные валки 12, оси которых размещены в подшипниках качения. Подшипники нижнего валка закреплены неподвижно на раме 14 в стойках, а верхнего — в поворотном кронштейне 13, соединенном тягой с регулировочным маховиком. Маховик 5 расположен на передней панели машины, в удобном для работы месте. Рабочий зазор между раскаточными валками регулируется вращением маховика в ту или иную сторону. Величина зазора между валками указывается стрелкой, расположенной на циферблате, который установлен на одной из стоек. Опорные стойки валков крепятся болтами к каркасу 3 машины.
Над раскаточными валками укреплен съемный бункер 11, получающий колебательное движение от храпового механизма. Храповой механизм установлен точно с нижним раскаточным валком, передающим ему вращение. Через сито, размещенное в днище съемного бункера, мука просыпается на раскатываемый пласт теста и валки, что предотвращает прилипание теста к валкам. К стойкам прикреплен загрузочный лоток 8, поверхность которого находится на уровне зазора между раскаточными валками. Над лотком установлена предохранительная решетка 10. Расстояние от нижней кромки предохранительной решетки до поверхности зафузочного лотка составляет около 70 мм. При повороте решетки на угол более 5° размыкаются контакты микровыключателя и электродвигатель машины отключается. При опускании решетки на место контакты микровыключателя замыкаются и электродвигатель снова может быть включен.
На раме 14 под раскаточными валками установлен транспортер 7. Под транспортером 7 расположен противень для сбора осыпавшейся с раскатываемого теста муки. Во время работы машины раскатанный пласт теста опускается на ленту транспортера и перемещается к оператору, который при необходимости может направить его на повторную раскатку. Для последующей раскатки необходимо уменьшать зазор между валками на 3...4 мм. (2, с.185)
Транспортер состоит из двух валков — натяжного 15 и приводного 6. На валках закреплена бесконечная хлопчатобумажная лента транспортера. Ведущий и натяжной валки транспортера соединены между собой двумя параллельными втулочно-роликовыми цепями, что предотвращает проскальзывание ленты транспортера во время работы машины. В движение транспортер и раскаточные валки приводятся цепной передачей 16 от приводного устройства.
Внутри рамы машины установлены электродвигатель 1 и червячный редуктор 2. Вал электродвигателя соединен с входным валом редуктора кулачковой муфтой 17. На выходном валу редуктора закреплена ведущая звездочка, которая с помощью втулочно-роликовой цепи приводит в движение раскаточные валки и транспортер. При изменении межосевого расстояния между раскаточными валками с помощью подпружиненного рычага натяжного устройства натягивается цепь, что обеспечивает нормальную работу передачи.
Каркас 3 машины со всех сторон облицован декоративными щитками, изготовленными из тонколистовой стали и окрашенными с наружной стороны эмалевой краской. Пуск и останов машины осуществляются кнопочной станцией, закрепленной на лицевой панели машины, и магнитным пускателем, установленным внутри машины.
Принцип действия. В процессе работы машины подготовленное к раскатке тесто подается на загрузочный лоток, где оно захватывается вращающимися навстречу друг другу валками и в виде ленты или пласта опускается на ленту транспортера. При повторной раскатке расстояние между раскаточными валками уменьшают и вновь подают тесто на загрузочный лоток.
Правила эксплуатации тестораскаточной машины. Перед началом работы на тестораскаточной машине необходимо убедиться в исправности заземления и микровыключателя блокировки предохранительной решетки. Для этого включают машину и на холостом ходу слегка поднимают предохранительную решетку. Если при подъеме решетки на угол не более 5° (высота около 50 мм) электродвигатель машины отключится, то блокировка работает исправно. Затем проверяют наличие противня под транспортером машины и засыпают бункер мукопосыпателя мукой. После установки необходимого зазора между раскаточными валками на загрузочный лоток подают порцию теста массой 8... 10 кг. Затем включают электродвигатель машины и подталкивают тесто к вращающимся валкам. (2, с.186)
Расстояние между раскаточными валками изменяют путем вращения маховика, расположенного на передней панели машины. Следует помнить, что при каждой последующей раскатке пласта теста расстояние между валками должно уменьшаться не более чем на 4 мм, в противном случае раскатываемый пласт теста будет разрываться.
В процессе работы машины не рекомендуется снимать с вращающихся валков прилипшие к ним кусочки теста. Необходимо выключить электродвигатель, очистить валки и протереть их чистой ветошью, после чего можно продолжить раскатку теста.
После окончания работы на машине бункер для муки и противень транспортера освобождают от остатков муки и протирают. Раскаточные валки также тщательно очищают и протирают. Наружные поверхности машины периодически промывают теплой водой и насухо вытирают.
Затем приготовленные формы, размещают в рабочую камеру, нагреваются в результате теплового воздействия на них греющей среды при помощи греющих элементов. Выбор греющих элементов (резистивных, электродных, индукционных, инфракрасных и микроволновых электронагревателей), их числа и мощности зависит от требований технологии приготовления пищи при условии минимальных потерь сырья и энергии, а также общей себестоимости продукции.
В аппаратах на электрическом обогреве используют чаще всего греющие элементы (нагреватели) резистивного типа, которые, будучи включенными в электрическую цепь и являясь электрическим сопротивлением, нагреваются. (2, с.186)
Приложение 1

Тестомесильная машина МБТМ-140:
а — общий вид; 6 — кинематическая схема; 1 — тележка; 2 — дежа; 3 — рабочий орган; 4 — крышка; 5 — рабочий вал; 6 — корпус траверсы; 7, 16 — червячное колесо; 8, 10, 17 — червяк; 9 — червячный сектор; 11 — червячная передача; 12 — клиноременная передача; 13 — реверсивный электродвигатель; 14, 18, 20, 21 — шкивы; 15 — фрикционное колесо; 19 — клиновой ремень; 22 — электродвигатель
Приложение 2
Тестомесильная машина ТММ-1М

Приложение 3

Принципиальная и кинематическая схема тестораскаточной машины МРТ-60М:
1— электродвигатель; 2— червячный редуктор; 3 — каркас; 4— винтовая пара; 5 — маховик; 6 — валок транспортера; 7 — транспортер; 8 — загрузочный лоток; 9 — продукт; 10 — предохранительная решетка; 11 — бункер для муки; 12 — раскаточные валки; 13 — поворотный кронштейн; 14 — рама; 15 — натяжной валок; 16 — цепная передача; 17 — кулачковая муфта
Список использованной литературы
1. Барановский В.А. Повар-технолог: Учебное пособие – 2-е изд – Ростов-на-Дону: Феникс, 2005. - 414 с.
2. Ботов М.И. Тепловое и механическое оборудование предприятий торговли и общественного питания: Учеб. для нач. проф. образования / М. И. Ботов, В. Д. Елхина, О. М. Голованов. — М.: Издательский центр «Академия», 2002. — 464 с.
3. Дубцов Г.Г Технология приготовления пищи: Учебное пособие – М.: Мастерство, 2001. -272 с.
4. Фурс И.Н. Технология производства продукции общественного питания: Учеб. пособие / И.Н. Фуре. — Мн.: Новое знание, 2002. — 799 с: ил.
5. Шатун Л.Г. Повар: Учебное пособие для учащихся профессиональных училищ, лицеев – 2-е изд. – М.: Издательско-торговая корпорация «Дашков и Ко», 2006 – 320 с.