Ремонт и регулировка мониторов для компьютеров
Зміст
ВСТУП
1. ТИПИ ВІДЕОМОНІТОРІВ ДЛЯ КОМП'ЮТЕРІВ
2. ОСНОВНІ ПРИНЦИПИ ПОБУДОВИ СУЧАСНИХ ВМ
3. ХАРАКТЕРИСТИКИ Й ОПИС ОКРЕМИХ ВУЗЛІВ
3.1. ДЖЕРЕЛО ХАРЧУВАННЯ
Методика ремонту ИП
3.2. вузол керування ВМ.
Рекомендації з ремонту УУ
3.3. ВХІДНІ ПРИСТРОЇ ВМ
Схеми підключення ЭЛТ
Перевірка і ремонт вузла обробки відеосигналів
3.4. ВУЗОЛ КАДРОВОГО РОЗГОРНЕННЯ
Ремонт вузла КР
3.5. ВУЗОЛ РЯДКОВОГО РОЗГОРНЕННЯ ВМ
Діагностика і ремонт вузла СР
4. ПРИЧИНИ ВИНИКНЕННЯ НЕСПРАВНОСТЕЙ У ВМ
4.1. неякісне виготовлення.
4.2. порушення правил експлуатації ВМ
4.3. природне старіння електронних компонентів
4.4. ремонт некваліфікованим персоналом
5. ЗАГАЛЬНІ ПРИНЦИПИ РЕМОНТУ ВМ
5.2. рекомендації з роботи
5.2.1. порядок зняття задньої кришки
5.2.2. чищення ВМ
5.2.3. прийоми пайки
5.2.4. пошук “мерехтливих” несправностей
6. НЕОБХІДНИЙ ІНСТРУМЕНТ І УСТАТКУВАННЯ
6.1. інструмент
6.2. устаткування
7. ЗАХОДИ ЩОДО ОХОРОНИ ПРАЦІ, ТЕХНІКИ БЕЗПЕКИ
ТА ОРГАНІЗАЦІЇ РОБОЧОГО МІСЦЯ
обережності при проведенні ремонтних робіт
література
ВСТУП
Предмет дипломної роботи — відеомонітори для комп'ютерів і їхній ремонт.
Історія створення відеомоніторів бере свій початок у 30 — 40-х роках з розвитком радіолокації. Це була перша, важлива задача — здійснити візуальне уявлення в просторі поширення луча чи предмета, від якого промінь відбився, з одержанням координат предмета.
Перші відеомонітори використовували інші принципи, зовсім несхожі на сьогоднішні пристрої. Радіолокаційні монітори відображали координатну сітку в полярних координатах, що було зручно для швидкого співвіднесення напрямку у визначенні дальності до предмета.
Надалі, у 40-х роках, зі створенням перших телевізорів, що використовують растровий спосіб розгорнення і трубки з електромагнітним відхиленням луча, починалися спроби представлення інформації різними способами, наприклад, у векторному виді.
З появою і бурхливим розвитком ЕОМ, а також швидким удосконалюванням телевізійної техніки мониторобудування пішло інтенсивно по шляху використання ЭЛТ з електромагнітним відхиленням луча.
Принцип растрового представлення інформації від комп'ютера заснований на наявності в блоці сполучення комп'ютера з відеомонітором пам'яті, у якій кожному осередку відповідає крапка на екрані ЭЛТ. При послідовному скануванні комірок пам'яті їхній уміст перетвориться у відеосигнал, виходить рядок, з рядків складається повний кадр відеозображення.
Прагнення пристосувати звичайний (відповідно дешевий) телевізійний приймач чи його низькочастотну частину для відображення інформації від комп'ютера привело до установки в комп'ютер модулятора (пристрою, що виробляє повний телевізійний сигнал) для прямого підключення до серійного телевізора через антенний чи вхід по НЧ. Однак якість відображення звичайного телевізора виявилося достатнім лише для відеоігрових чи домашніх комп'ютерів, тому подальше удосконалювання відеомоніторів пішло трохи уперед віщального телебачення. Необхідно було підвищити здатність екрана, що дозволяє, його стабільність і чіткість.
Це спричинило за собою підвищення рядкової, кадрової частоти, використання кольорових ЭЛТ із більш дрібною сіткою маски. Вимога по сумісності нових відеомоніторів з більш ранніми комп'ютерами і вищевказані вимоги обумовили підвищену їхню складність щодо телевізорів. У даній дипломній роботі будуть освітлені пристрої, схемотехника, принцип роботи окремих вузлів і прийоми ремонту моніторів. Особлива увага буде приділена спеціальним прийомам експлуатації відеомоніторів.
1. Типи відеомоніторів для комп'ютерів
Переважна більшість обчислювальних систем, що знаходяться сьогодні в користуванні, відноситься до сімейства персональних комп'ютерів типу IBM PC, тому основним предметом даної дипломної роботи є питання пристрою і ремонт відеомоніторів цього сімейства.
Основна відмінна риса ВМ для систем IBM PC — це розмаїтість їхніх типів. Кожен такий комп'ютер має окрему відеокарту, що містить пам'ять (відеобуфер), схеми, що перетворять її вміст у відеосигнал, а також схеми що виробляють, необхідні для роботи ВМ синхросигналы.
У перших комп'ютерах цієї серії (PC XT) була закладена можливість використання різних типів ВМ (CGA — кольоровий і MDA — монохромний, підвищеного дозволу), мінялася лише відеокарта.
Згодом для подальшого підвищення дозволу на екрані і кращій передачі кольору був прийнятий новий, більш універсальний стандарт для відеосистем комп'ютерів (VGA і SVGA), у якому відеокарта виробляла аналогові відеосигнали для ВМ, що давало можливість підвищити якість передачі кольору чи одержати монохромне зображення, що перевершує по якості телевізійне. Даний стандарт зберіг передачу імпульсів синхронізації у ВМ сигналами з рівнями TTL і можливість кодування деяких режимів їхньою полярністю.
Додаткові вимоги до сумісності знову створюваних відеосистем стосовно попереднього (включаючи вимоги програмної сумісності), а також достаток можливих режимів їхньої роботи наклали специфічний відбиток на конструкцію ВМ у виді сильного ускладнення їх схемотехники.
Нижче, у таблиці 1, приводяться параметри режимів відеосистем типу VGA і SVGA, з якої стають зрозумілими вимоги до таким ВМ. Зміст таблиці 1 не вичерпує всіх можливих режимів роботи відеосистем цього стандарту, приведені дані відносяться тільки до окремо обраної відеокарти.

2. Основні принципи побудови сучасних ВМ
Сучасні растрові ВМ для комп'ютерів використовують принципи побудови подібні з застосовуваними в телевізійній техніці, але відрізняються від останніх відсутністю радиотракта і схем для обробки відеосигналів (блоку кольоровості), а також специфічним набором органів керування, необхідним тільки для корекції кондиції зображення на екрані, тому що основні режими роботи встановлюються програмно через комп'ютер. Нижче на мал. 1 приводиться узагальнена блок-схема ВМ, на якій показані всі необхідні для забезпечення його роботи функціональні вузли й елементи керування. На мал. 1 показані основні з'єднання між вузлами, деякі, потребуючі пояснення підписані додатково. Елемент, чи вузол з'єднання, відзначене пунктиром, може отсутствовать у монохромних чи інших моделях ВМ.Головним елементом ВМ є ЭЛТ із системою, що відхиляє, (кадровими катушками, що відхиляють — КК і рядковими — СК). Всі інші елементи, показані на блок-схемі, служать для забезпечення режиму роботи ЭЛТ і узгодження сигналів від комп'ютера.Тому що в кольорових ВМ повинне бути передбачене періодичне розмагнічування маски ЭЛТ для підтримки "чистоти кольору", вони обладнаються петлею розмагнічування, що працює автоматично кожн раз при включенні ВМ. У високоякісних ВМ передбачається додаткова можливість уникнути розмагнічування в будь-який момент роботи, для чого на передню панель установлюється кнопка "DEGAUSS".
Як і в звичайному телевізорі для одержання растра на екрані ВМ необхідні вузли рядкового і кадрового розгорнень. Генератори, що задають, для цих вузлів, як правило, сильно зв'язані з блоком керування, тому на блок-схемі вони показані разом.Інформація від комп'ютера надходить на вхідне рознімання ВМ і далі на вузол обробки відеосигналів для перетворення в сигнали з рівнями напруг керування модуляторами ЭЛТ. До складу вузла обробки відеосигналів входить також плата ЭЛТ, що служить для підключення безпосередньо до цоколя ЭЛТ. Кінцеві, відеопідсилювачі, як правило, розташовуються на цій платі, а інші схеми вузла обробки відеосигналів можуть знаходитися на ній чи на основній платі ВМ.
Блок харчування ВМ виробляє всі необхідні напруги для харчування вузлів показаних на блок-схемі, крім напруги, що прискорює, HV для ЭЛТ, що для забезпечення більшої стабільності традиційно виробляється у високовольтному блоці вузла рядкового розгорнення. У блоці харчування кольорового ВМ звичайно інтегруються і схеми харчування петлі розмагнічування.
Вузол керування служить для контролю вхідних сигналів від комп'ютера (синхроімпульсів) і установки режимів роботи вузлів розгорнень, обробки відеосигналів, блоку харчування для підтримки і корекції встановленого режиму зображення. Тому що інформація про відеорежими від комп'ютера надходить у ВМ у виді комбінації полярностей синхроімпульсів (для простих режимів) і їхніх частот (режими SVGA), вузол керування виконує досить складну задачу по визначенню параметрів розгорнень і керуванню іншими вузлами. У функції вузла керування входить також забезпечення захисту ЭЛТ від аварійних ситуацій і забезпечення чергового режиму для економії потужності (режим GREEN) коли ВМ не використовується оператором. У сучасних моделях ВМ у вузлі керування всі частіше застосовують мікропроцесори з набором спеціалізованих мікросхем, що забезпечують збереження всіх установок і простої керування для користувача.
3. Характеристики й опис окремих вузлів
3.1. Джерело харчування
Джерела харчування (надалі скорочено — ДХ) у переважній більшості моделей ВМ використовуються імпульсні схеми через їх високі енергетичні показники і стабільність. Вимоги до ДХ ВМ пред'являються, як правило, такі ж, як і для застосування в інших пристроях, а саме: високий ККД, мала вага, висока стабільність вихідних напруг і їхня мала пульсація, відсутність випромінювання радіоперешкод, а також висока надійність. Наслідком цих вимог є застосування спеціальне розроблених для використання в імпульсних ДХ елементів і технологій. У ДХ для ВМ використовуються схеми імпульсних трансформаторних конвертерів з "прямим" включенням діодів на виході. Така схема ДХ приведена на мал.2 ліворуч, а праворуч показана форма струмів і напруг на її елементах.
Принцип роботи цього ДХ наступний: коли транзистор ТК знаходиться в режимі насичення, енергія від випрямителя напруги мережі надходить через трансформатор Т и діод D у навантаження, одночасно заряджається конденсатор З, а коли транзистор закритий, конденсатор віддає в навантаження накопичену енергію. Напруга на виході такого джерела не залежить від струму навантаження і частоти переключення транзистора, але визначається коефіцієнтом трансформації обмоток і коефіцієнтом заповнення імпульсів t/T, тобто регулювання вихідної чи напруги його стабілізація може здійснюватися за рахунок широтно-імпульсної модуляції шляхом керування тривалістю відкритого стану ключового транзистора. Робоча частота ДХ складає 15 — 80 кгц, вона може бути також синхронизована з частотою рядкового розгорнення ВМ для виключення утворення продуктів "биття частот", що приводять до перекручувань растра і появі на екрані чи брижів інших небажаних ефектів.
У ВМ ранніх випусків (типу CGA і EGA) використовувалися схеми ДХ на біполярних транзисторах, а в більш пізніх (типу VGA і SVGA) частіше стали застосовуватися схеми з польовими транзисторами як ключовий елемент. Польові транзистори, розроблені для застосування в блоках харчування, забезпечують кращі тимчасові параметри, допускають роботу ДХ на найвищих частотах і витримують більш високу робочу температуру. Це приводить, до зменшення розмірів ДХ, що дозволяє розмістити його на єдиній з основною схемою платі і спростити загальну конструкцію ВМ. Висока робоча частота ДХ припускає також використання спеціальних випрямних діодів (діодів Шоттки), що мають мале спадання напруги в прямому напрямку, і електролітичних конденсаторів з малими втратами на цих частотах, що допускають роботу при підвищених температурах. Трансформатори в ДХ виконуються на сердечнику з феррита з зазором для зменшення його намагніченості, а обмотки намотані таким чином, щоб забезпечити максимальний зв'язок між ними.

При всій розмаїтості існуючих моделей ВМ, схемотехника їх ДХ зводиться до єдиної блок-схеми. Нижче на мал.3 приводиться типова блок-схема ДХ.
Перемінна напруга живильної мережі надходить через запобіжник ПР і мережний фільтр на вимикач ВК, установлений звичайно на передній панелі ВМ. З вимикача сіткова напруга підводиться через термістор до петлі розмагнічування ЭЛТ і випрямителю, на виході якого підключений електролітичний конденсатор С. На цьому конденсаторі виходить (при напрузі живильної мережі 220 В) постійна напруга величиною до 340 В.
Для зменшення стартового струму заряду цього конденсатора в ланцюг на вході випрямного моста іноді включають термістор, що у момент включення має опір десятки Ом, а після його нагрівання опір падає до декількох Ом. Постійна напруга від випрямителя надходить на послідовно з'єднані первинну обмотку силового трансформатора і ключовий транзистор для створення імпульсів струму в цьому ланцюзі. Схема керування ключем забезпечує завдання частоти проходження імпульсів і їхньої тривалості (ШИМ) для регулювання вихідних напруг ДХ. Сигнал про величину вихідної напруги ДХ може надходити на схему керування від вторинної чи обмотки від одного з вихідних випрямителей У через елемент гальванічної розв'язки, у якості якого може використовуватися оптрон чи імпульсний трансформатор. На схему керування ключем можуть надходити також сигнали для синхронізації робочої частоти ДХ з частотою рядкового розгорнення, схем захисту по аварійних перевантаженнях і схем відключення ДХ при відсутності на вході імпульсів синхронізації від комп'ютера. Вихідні випрямители, підключені до вторинних обмоток силового трансформатора, забезпечують одержання необхідних постійних живлячих напруга для усіх вузлів ВМ.
Як правило ДХ у ВМ виробляє наступні напруги:
• 6.3 В — для розжарення ЭЛТ,
• 12 — 15В — для харчування схем керування,
• 24 — 60 В — для харчування кадрового розгорнення,
• 70 — 170 В — для блоку рядкового розгорнення.
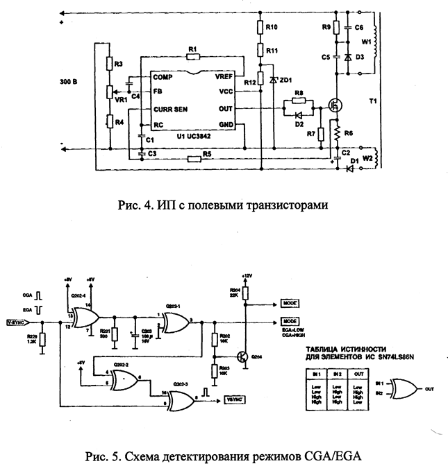
Усі ці напруги визначаються співвідношенням витків в обмотках трансформатора, тому вони жорстко зв'язані між собою. При настроюванні ДХ установлюється величина одного з них, а інші можуть незначно відрізнятися від номіналів, зазначених у схемі.Останнім часом усі частіше застосовуються схеми з використанням спеціалізованих мікросхем, таких як TDA4600, AN5900, UC3842 часто включають у себе і ключовий транзистор. Найбільше поширення має мікросхема UC3842. Вона призначена для керування польовим транзистором у якості силового ключа, має внутрішнє джерело опорної напруги, убудований генератор ШИМ і забезпечує захист по струму ключового транзистора. Призначення висновків мікросхеми UC3842 представлене в табл. 3, а її властивості будуть розглянуті нижче в ході опису роботи базової схеми включення, показаної на мал. 4.

| Висновок | Оригінальне про- | Призначення висновку |
| 1 | COMP | Компенсація частотної характеристики |
| 2 | FB | Зворотний зв'язок (керування ШИМ) |
| 3 | CURRSENS | Сигнал від резистора обмеження струму |
| 4 | RC | Підключення RC-ланцюга для установки частоти |
| 5 | GND | Загальний висновок |
| 6 | OUT | Вихід на керування ключовим транзистором |
| 7 | Vcc | Вхід харчування мікросхеми |
| 8 | VREF | Вихід внутрішнього джерела опорного напр. |
Подобные работы: