Фотоэлектрические свойства нитрида алюминия
Введение
За последние годы УФ-техника интенсивно развивается. Это обусловлено прежде всего появлением новых технических идей, позволяющих улучшить эксплуатационные характеристики УФ-систем, упростить их конструкцию и существенно снизить стоимость. Новые идеи относятся в первую очередь к основным элементам приемо-передающей системы -- фотоприемному устройству и излучателю.
Вслед за созданием твердотельных формирователей сигналов изображения в видимой и ИК областях спектра многоэлементные приемники изображения, функционирующие на новых принципах, создаются и для УФ-диапазона спектра.
Детектирование света в ультрафиолете (длина волны меньше 400 нм) имеет широкий диапазон применений, как коммерческих, так и военных, особенно в тех областях, где требуется анализ УФ излучения при наличии мощного видимого или инфракрасного фона. В коммерческом секторе эти применения включают в себя: датчики пламени и нагрева, стерилизация в медицине, приборы для измерения биодоз УФ (мониторы загара), диагностика плазмы, мониторинг двигателей. Среди военных применений можно назвать: детектирование следов от двигателей ракет, наведение ракет, детектирование биологических и химических веществ (основные линии поглощения лежат в ультрафиолете), закрытая связь между искусственными спутниками (УФ лучи не проникают сквозь озоновый слой земной атмосферы) и системы связи с подводными лодками. Большинство из этих применений требуют использования детекторов, не чувствительных к солнечному свету; нужно детектировать только ультрафиолет и в идеале иметь нулевую чувствительность для более длинных волн. Например, в полете ракета может иметь выхлопной хвост длиной в милю. Если детектор, используемый для поиска и наведения антиракеты-перехватчика, будет чувствителен в широкой области спектра, включая видимую и ИК, тогда ракета представляется целью длиной в милю, что сделает невозможным наведение антиракеты. Однако, если детектор будет чувствителен только в ультрафиолете, он зафиксирует только самые горячие газы, вырывающиеся у хвоста ракеты, и наведение будет идеальным. Точно так же УФ детекторы могут быть использованы в качестве датчиков противопожарных систем для обнаружения наличия именно пламени (которое имеет УФ компоненту), а не просто нагретого объекта, который может быть связан, а может и не быть связан с пламенем.
Подавить видимое излучение можно несколькими способами: первый – использовать светофильтры, что менее предпочтительно, так как они в большинстве своем нестабильны, и второй – создание такой конструкции прибора, которая была бы нечувствительна к видимой области спектра.
Фоторезисторы, несмотря на быстрый прогресс фотоприемников с p-n переходом, остаются важным средством оптоэлектроники. Прежде всего это обусловлено большим коэффициентом усиления, определяемым соотношением числа электронов, прошедших во внешней цепи к числу возбужденных фотоэлектронов. Если омические контакты фоторезистора беспрепятственно пропускают электроны как внутрь полупроводника, так и из него, то коэффициент усиления определяется очевидным соотношением:
,
где tпр – время пролета электрона через фоторезистор, l – длина активной области, U – приложенное напряжение. Это соотношение подтверждает преимущество полупроводников с высокими значениями подвижности и времени жизни носителей заряда. Коэффициент усиления фототока пропорционален приложенному напряжению и может достигать 103 – 105.
С точки зрения применения фоторезисторов в оптоэлектронной технике удобнее использовать не коэффициент усиления, а сопротивления в темновом RT и засвеченном RСВ состояниях. Важными схемотехническими достоинствами фоторезисторов являются такие их свойства, как линейность вольт-амперной характеристики, отсутствие эффекта выпрямления и внутренних э.д.с., что важно для многих линейных, прецизионных, электрометрических схем.
По мере роста прикладываемого напряжения, мощности облучения и тока через фоторезистор становится существенным ряд эффектов (уменьшение значений эфф и эфф, нарушение омичности контактов, переход в область токов, ограниченных пространственным зарядом и др.), нарушающих линейность основных состояний и ограничивающих реальные возможности приборов этого типа. Пленочная технология изготовления фоторезисторов порождает такие их достоинства, как дешевизна, широта перекрываемого диапазона номиналов, простота реализации фоточувствительных элементов со сложной конфигурацией, технологическая совместимость с порошковыми и пленочными электролюминесцентными излучателями.
При всей важности перечисленных достоинств фоторезисторов нельзя забывать о таком их принципиальном недостатке, как весьма значительная инерционность. Кроме того, для большинства фоторезисторов, изготавливаемых не на монокристаллах, существенна температурная и временная нестабильность характеристик, обусловленная поверхностной хемосорбцией кислорода, в первую очередь, и другими механизмами деградации. (15).
ГЛАВА 1. СВОЙСТВА НИТРИДА АЛЮМИНИЯ
1.1. Оптические свойства AlN.
Данные об оптических свойствах нитрида алюминия приводятся в достаточно ранних источниках, очевидно из-за того, что долгое время этот материал достаточно слабо использовался в оптоэлектронике.
К примеру, данные, приведенные в статье (2).
Кристаллы AlN были выращены эпитаксиальным способом на сапфировой подложке. Ориентация кристаллов --
. Образцы, отобранные для оптических измерений имели размеры
, где – одна из различных толщин образца. Для измерения оптического поглощения было использовано только эффективное пространство 0.5х0.5 см; остаток образца был закрыт маской. Это позволило выбрать ту область образца, которая имеет однородную структуру и в то же время обеспечивает постоянство поверхности под исследовательским лучом. Спектр оптического поглощения был получен при помощи спектрометра в совокупности с фотоумножителем и ЭВМ. Для низкотемпературных измерений, поскольку произошли изменения длительности оптических путей, потребовалась коррекция результатов.
Оптическая плотность нескольких образцов была измерена в широком температурном спектре. Коэффициент поглощения, в отсутствие поверхностных дефектов может быть получена из оптической плотности с использованием формулы соотносит оптическую плотность (OD) с коэффициентом поглощения , отражением и толщиной образца :
,
где
есть искомая величина.
Опытное изучение нитрида алюминия показало, что поверхностными дефектами нельзя пренебречь для тех образцов, которые имеют большие поверхностные неровности. Образцы, за исключением пренебрежимо малого числа микроскопических неровностей имеют достаточно хорошее качество поверхности. Тем не менее наш анализ включает в себя возможность подобного влияния на оптическую плотность. На рис. 1.1.1. показаны данные для оптической плотности одного из наиболее тонких образцов. Оптическая плотность может быть разложена на четыре части, которые ясно видны на рис. 1.3.1. Математическое выражение оптической плотности представляет из себя следующее:
![]()
Здесь — частотно независимое слагаемое оптической плотности и и — зоны поглощения, ясно видимые на рис. 2. Эти два слагаемых экспериментально идентифицированы в качестве кислородных примесей и/или вакансий азота. Последний член в выражении,
, является характерным для межзонного поглощения и дает нам как природу зазора m, так и его величину Eg. Значения 0.5 и 1.5 для m как раз и соответствуют прямому и непрямому зазору.
Техника параметризации, используемая в алгоритме Давидона-Флетчера-Пауэлла (вариативный метрический метод), дает значение констант, определенных выше. Исходя из этих значений, мы можем определить роль только последнего слагаемого во всей энергетической области эксперимента. График зависимости квадрата коэффициента поглощения как функции энергии приведен на рис. 1.1.2. Значение запрещенной зоны при комнатной температуре равняется 6.2
0.1 эВ и m =0.497. Во всех случаях величина m составляет менее 2% от величины, соответствующей прямому зазору.
Таким образом, было показано, что при отсутствии значительного количества примесей природа краев зон AlN легко определима. Запрещенная зона равна 6.28 эВ при температуре 5 К и 6.2 эВ при комнатной температуре.
Прямые межзонные переходы в кристаллах AlN начинаются с 5.74 и 5.88 эВ соответственно для перпендикулярной и параллельной поляризации (при комнатной температуре). Спектр отражения выше края фундаментального поглощения был получен для энергии фотонов выше 12 эВ, однако эти результаты неполные. Неизвестен еще механизм возбуждения стационарной люминесценции выше края основного поглощения у этих кристаллов.
В приведенной статье (1) были изучены спектры отражения и возбуждения синей люминесценции кристаллов AlN в области энергий 3 - 40 эВ. Источником УФ-излучения являлся синхротрон с энергией 680 МэВ. Для измерений применялся вакуумный монохроматор. Интенсивность возбуждения люминесценции рассматривалась как отношение интенсивности люминесценции кристалла AlN и интенсивности люминесценции салицилата натрия для той же длины волны. Спектр отражения измерялся с помощью фотоумножителя на салицилате натрия для преобразования УФ-излучения в видимое.
Исследованные в данной работе кристаллы AlN были получены с помощью прямой реакции паров Al и N при температуре 1850 0С. Поскольку кристаллы AlN имеют форму тонких гексагональных призм с толщиной от нескольких десятков до нескольких сотен мкм, они должны быть ориентированы параллельно друг другу для более точного измерения спектров возбуждения и отражения. Спектр возбуждения люминесценции был также измерен на образцах, полученных осаждением порошкообразного AlN. Все эксперименты проводились при комнатной температуре.

Рисунок 1.1.1. Зависимость оптической плотности от энергии фотонов для образца AlN толщиной 0.4 мкм при 5 К (2)

Рисунок 1.1.2. Квадрат коэффициента поглощения от энергии фотонов при 5 К (кривая 2) и 300 К (кривая 1) у края собственного поглощения AlN (2).

Рисунок 1.1.3. Интенсивность синей люминесценции (кривые a и b) и интенсивность отражения (кривая c) от энергии фотонов при 300 К (1).
Cпектр возбуждения стационарной люминесценции (рис. 3.4.3.) имеет комплексную структуру в области от 4 до 22 эВ. Поляризация в данных измерениях не учитывалась. Пик в области 4.5 эВ обусловлен прямым возбуждением примесных центров, пик в области 4.7 эВ — началом прямых межзонных переходов. Вид кривой возбуждения в области 8 — 22 эВ коррелирует с кривой отражения (рис 3.4.3., кривая с): максимум кривой фотовозбуждения соответствует минимуму отражения. Это подтверждает предположение, что квантовая эффективность определяется потерями на отражение и поверхностную безызлучательную рекомбинацию. При энергиях значительно больших чем ширина запрещенной зоны, в районе от 28 до 30 эВ, сильное возрастание интенсивности люминесценции объясняется началом фононного умножения. Спектр люминесценции порошкообразного AlN имеет такой же характер.
Существование на кривой отражения пиков в областях
эВ и
эВ, группы пиков в области от 10 до 16 эВ с максимумом при 13.8 эВ, и в области 17.5 эВ обусловлено межзонными переходами. Существующие на данный момент результаты расчетов электронной структуры не дают пока ясных и недвусмысленных данных. Общий вид кривой отражения имеет характер, сходный с кривыми отражения других полупроводниковых материалов типа A3B5 в области переходов из валентной зоны в зону проводимости.
В более поздних исследованиях пленки AlN были исследованы более подробно. В работе (7) приводятся сравнительные данные оптических свойств пленок, кристаллов и порошкообразных фаз нитрида алюминия.
Эпитаксиальные пленки AlN были получены на сапфировой подложке. Ориентация образцов —
. Скорость роста пленки из газовой фазы — около 2 ангстрем/с. Кристаллическая структура была определена с помощью рентгеновского спектрометра и метода дифракции отраженных электронов. Ось с в AlN отклонена на 280 и лежит в плоскости, перпендикулярной оси с/ сапфира как показано на рис. 1.1.5.
В качестве источника излучения использовалась дейтериевая лампа с окном из MgF2. Монохроматическое излучение было получено с помощью спектрометра Сея-Намиока. Разрешение — 2 ангстрема. Свет поляризовался вогнутым стеклянным зеркалом с углом Брюстера 600 , расположенным перед монохроматором. Степень поляризации -- не менее 0.93 во всем энергетическом диапазоне эксперимента.
На рис. 1.1.5. показан спектр поглощения около края при комнатной температуре и температуре жидкого азота. Шкала оси ординат представляет собой единицы оптической плотности, определяемые как OD=log(I0/I), где Io и I — интенсивности падающего и прошедшего через образец света. Кривая поглощения растет до 6 эВ и имеет площадку при 6.2 эВ, что представляет собой “насыщение” интенсивности поглощения при росте энергии до 6.3. эВ. Интенсивность поглощения продолжает расти с ростом энергии падающего излучения. Коэффициент поглощения при 6.2 эВ равен примерно 105 см-1, поскольку толщина пленки составляла 800 ангстрем. При низких температурах поглощение сдвигается в область высоких энергий примерно на 0.03 эВ.
Величина коэффициента поглощения и характер кривой спектра заставляют думать, что прямой зазор в AlN составляет 6 эВ. Более точное значение запрещенной зоны непросто определить из рис. 1.1.6, поскольку спектр широк даже при низких температурах. Однако, следует заметить, что “площадка” при 6.2. эВ может появляться из-за образования свободных экситонов, ассоциированных с прямым энергетическим зазором, и при условии, что экситонный пик широк.
Спектр поглощения в поляризованном свете приведен на рис. 1.1.7. Поскольку ось с в AlN наклонена по отношению к нормали к поверхности на 280, один из спектров был получен при поляризации света перпендикулярно оси а, а другой — параллельно.

Рисунок 1.1.5. Спектры отражения эпитаксиальных пленок AlN, кристаллов и спрессованного и порошкообразного нитрида алюминия (7).

Рисунок 1.3.6. Спектр поглощения AlN в поляризованном свете (7).

Рисунок 1.1.7. Спектр поглощения пленки AlN при комнатной температуре и температуре 5К (7).
1.2. Зонная структура AlN.
Данная зонная структура AlN была приведена в работе (3).
Параметры решетки, использовавшиеся для расчета зонной структуры AlN следующие: a=3.111 A, c/a=1.6, u=0.385. Фурье- коэффициенты потенциала для векторов обратной решетки, q, большие чем
, принимались за 0, чтобы привести матрицу Гамильтониана к приемлемому виду. Энергетическая зависимость параметров модели игнорировалась, но k-зависимость потенциала явно учитывалась.
Значения энергетических зазоров в каждой точке зоны Бриллюэна получаются путем диагонализации матрицы гамильтониана. Это было сделано в 70 точках. Затем, несокращаемые величины были определены с помощью таблиц Рашба. Корректировка с учетом спин-орбитального взаимодействия не проводилась, поскольку это величины малы.
Рассчитанные зонные структуры AlN при комнатной температуре показаны на рисунке 1.2. В таблице 1.2. приведены некоторые наиболее важные энергетические переходы. Видно, что самый маленький энергетический зазор прямой и находится в центре зоны Бриллюэна. Символы
и // показывают, что наиболее сильное поглощение наблюдается при поляризации падающего излучения перпендикулярно и параллельно оси с соответственно.

Рисунок 1.2. Зонная структура AlN, показанная на приведенной ЗБ вюрцита.
1.3. Электрические свойства AlN.
AlN – прямозонный материал с большой шириной запрещенной зоны. В ранней литературе этот материал считался непрямозонным, что позже не подтвердилось. Некоторые численные параметры приведены ниже:
Подвижность:
при Т=290 К
Нитрид алюминия является весьма полезным материалом для использования его при высоких температурах. Он слабо подвержен окислению на воздухе при температурах выше 6000С, а также устойчив к воздействию кислот, расплавленных металлов и водяных паров. Таким образом, AlN может применяться в высокотемпературных полупроводниковых устройствах. В статье (4) приводятся результаты экспериментов по измерению температурной зависимости проводимости AlN при высоких температурах. В экспериментах использовался чистый (>99%) AlN, измерения проводились на постоянном и переменном токе в атмосфере азота при давлении от 1 до 10-5 атмосферы. Образцы поликристаллического AlN были получены методом электрического разряда и спрессованы в графитовом тигле при температуре 16000С в атмосфере азота.
Зависимость удельной проводимости AlN в широком интервале температур при давлении азота равном 1 атм., приведена на рисунке 1.3.1. При температуре ниже 6500С сильное влияние на результаты оказывают примеси и проводимость на границах зерен.
Таблица 1.3.1. Значения энергий наиболее важных переходов в AlN (3).
Переход | Энергия (эВ) | |
Расчетные данные | Экспериментальные данные | |
Г6-Г1 ( | 6.06 | 5.88 (поглощение) 6.1 (отражение) |
Г1-Г1 (//) | 5.31 | 5.74 (поглощение) |
Г5-Г3 | 9.3 | 9.2 (отражение) |
U3-U3 | 8.5 | - |
U4-U3 | 8.9 | - |
M4-M3 | 9.8 | - |
H3-H3 | 10.1 | 10.1 (отражение) |
Таблица 1.3.2. Запрещенная зона AlN (5).
Eg, эВ | Т, К | Примечания | ||
6,28 | 5 | поглощение эпитаксиальными монокристаллами | ||
6,2 | 300 | поглощение с учетом вклада экситонных эффектов вблизи края поглощения | ||
6,28 | 300 | край экситонного поглощения, энергия связи экситона принимается равной 0.75 эВ | ||
Таблица 1.3.3. Проводимость AlN (6)
Ом-1, см-1 | Т,К | Примечания |
10-3 ... 10-5 | 290 | Примесные кристаллы р-типа (синего цвета) |
10-11 ... 10-13 | 300 | чистые кристаллы (бесцветные или с оттенком желтого |
Таблица 1.3.4. Энергия активации проводимости AlN (6).
EA, эВ | Т, К | Примечания |
0,17 | 400 ... 700 | поликристалл, измерения при постоянном и переменном (1592 Гц) токе |
1,82 | 950 ... 1300 | чистый монокристалл |
0,5 | менее 300 | чистый монокристалл |
1,4 | 300 ... 450 |

Рисунок 1.3.1. Проводимость от обратной температуры для AlN (4).
Поведение примесей в нитриде алюминия в настоящее врем в достаточной степени не изучено. Все же попытки получить AlN р-типа проводимости с низким сопротивлением оказались неудачными, что теоретически не является неожиданным.
Анализ состава слоев проводили с помощью различных методов: резерфордовского обратного рассеяния ионов гелия (РОР), рентгеновской фотоэлектронной спектроскопии (РФЭС), масс-спектрометрии вторичных электронов (МСВИ), искрового анализа. Наиболее гибкой и достаточно чувствительной оказалась электронная Оже-спектроскопия (ЭОС), поэтому она применяется наиболее широко. Используемая во многих работах ИК-спектроскопия имеет существенные ограничения.
Основными примесями в слоях нитрида алюминия являются кислород и углерод. В частности, установлено, что в приповерхностном слое AlN концентрация кислорода может сильно возрастать (рис. 1.3.2.). Глубина обогащенного кислородом подслоя ( с концентрацией до 25%) колебалась от 0.5 до 15 нм. Наличие такого подслоя, естественно, сказывается на характеристиках приборов на основе AlN.
Отмечалось влияние примесей на степень люминесценции и на степень кристаллического совершенства слоев. Кислород влияет на микроструктуру слоев, диффундирует по границам зерен, если таковые имеются, и поэтому послойный анализ текстурированных и поликристаллических слоев в условиях ионного травления не вполне корректен. Даже малые концентрации кремния в нитриде алюминия нарушали кристалличность материала и приводили к образованию -AlN с другими параметрами решетки. Легирование монокристаллических слоев с целью повышения проводимости затруднено.

Рисунок 1.3.2. Распределение элементов в слое нитрида алюминия по результатам Оже-спектроскопии (14).
ГЛАВА 2. Получение нитрида алюминия и методика экспериментов.
2.1. Получение пленок AlN.
Ионно-химическое распыление. Эта технология используется для осаждения различных оксидов (SiO2), нитридов (AlN, Si3N4, TiN) и карбидов (SiC, TiC). В основу положено распыление мишени в реакционном газе и протекание реакций с образованием соединений на поверхности мишени, на подложке или в пространстве “мишень-подложка”, где вероятность последнего мала. Два других процесса могут протекать одновременно. Скорость осаждения и доля газовой компоненты в пленке в сильной степени зависят от изменения потока реакционного газа. Обычно выделяют три области: область малых потоков, область больших потоков и переходная область в которой возникают гистерезисные петли, где зависимость параметров разряда от потока газа становится неоднозначной, и зависящей, к тому же, от направления изменения потока. В этом случае процесс становится нестабильным, что приводит к осаждению слоев неоднородного состава и с невоспроизводимыми свойствами. Избавиться от этого нежелательного эффекта можно двумя способами. В первом случае процесс осаждения ведут в условиях повышенных потоков реакционных газов, обеспечивающих образование сплошного слоя соединения на металлических мишенях. Такие режимы отличаются стабильностью и высокой воспроизводимостью свойств осаждаемых пленок. Другим способом является введение обратной связи по потоку реакционного газа.
Принцип действия магнетронной распылительной системы иллюстрирует рис. 2.1.1. Основными элементами устройства являются катод-мишень, анод и магнитная система. Силовые линии магнитного поля замыкаются между полюсами магнитной системы. При подаче постоянного напряжения между мишенью и анодом возникает неоднородное электрическое поле и возбуждается аномальный тлеющий разряд. Наличие замкнутого магнитного поля у распыляемой поверхности мишени позволяет локализовать плазму разряда непосредственно у мишени. Эмитированные с катода электронызахватываются магнитным полем, и им сообщается сложное циклоидальное движение по замкнутым траекториям у поверхности мишени. Электроны оказываются в ловушке создаваемой с одной стороны магнитным полем, возвращающим электроны на катод, а с другой - поверхностью мишени, отталкивающей их. В этой ловушке электроны циклируют до тех пор пока не произойдет несколько ионизирующих столкновений, в результате которых электрон теряет полученную от электрического поля энергию. Таким образом, большая часть энергии электрона прежде чем он попадает на анод, используется на ионизацию и возбуждение, что значительно увеличивает эффективность процесса ионизации и приводит к возрастанию концентрации положительных ионов у поверхности мишени. Это в свою очередь обусловливает увеличение интенсивности ионной бомбардировки мишени и значительный рост скорости распыления, а следовательно, и скорости осаждения пленок. Помимо этого МРС обладает рядом специфических свойств, основными из которых являются снижение рабочего давления, а также отсутствие бомбардировки подложки высокоэнергетическими вторичными электронами.
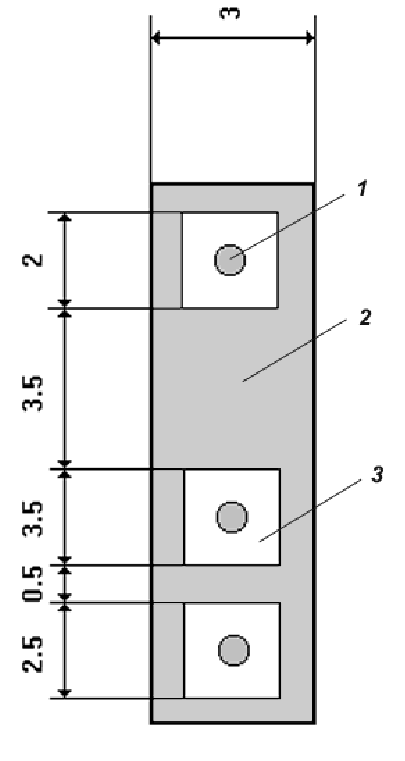
В результате были получены образцы, конфигурация которых представлена на рисунке 2.1.2.
|
Рис. 2.1.1. Механизм ионно-плазменного распыления нитрида алюминия в магнетронной распылительной системе. |

Рисунок 2.1.2. Конфигурация образца нитрида алюминия. (Размеры даны в миллиметрах)
1—контактол; 2 – пленка нитрида алюминия; 3 – алюминиевые контакты
2.2. Измерение вольт-амперных характеристик.
Измерения вольт-амперных характеристик проводились с помощью установки, электрическая схема которой приведена на рисунке 2.2.1. Установка состоит из следующих элементов:
Образец, помещенный в измерительную головку;
Регулятор напряжения;
Источник постоянного напряжения на базе источника постоянного тока Б5-50;
Вольтметр-электрометр универсальный В7-30;
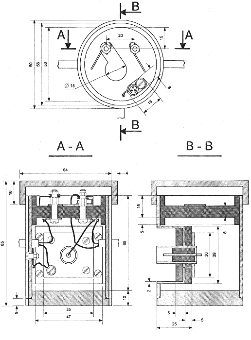
Исследуемый образец помещается в специально сконструированную измерительную головку (рис. 2.2.2.) Измерительная головка конструктивно состоит из двух частей: верхней и нижней.
Верхняя часть головки содержит контакты для подачи питания на образец и площадку для образца.
Нижняя часть служит как разветвитель входящих и выходящих проводов.
Как известно, уровень тока через фоторезистор на основе AlN очень низкий из-за большого удельного сопротивления материала, а это требует особых условий для измерения светового, а особенно темнового тока фоторезистора Необходимо свести к минимуму влияние внешних электромагнитных полей и токов утечки в измерительной головке. Защита от внешних электромагнитных полей обеспечивается экранировкой проводов, заземлением стального корпуса головки с защитными металлическими крышками. Для защиты от токов утечки используется фторопласт, который практически не дает токов утечки.
Для измерения уровня токов, в качестве токового прибора используется вольтметр-электрометр В7-30, диапазон измерения токов которого 10-15 — 10-7 А, а внутреннее сопротивление данного прибора на всех пределах измерения не превышает одного мегаома. Таким образом, во всем диапазоне измерения токов падением напряжения на приборе можно пренебречь.
ВАХ снимались при различных полярностях постоянного напряжения и при разной степени освещенности.

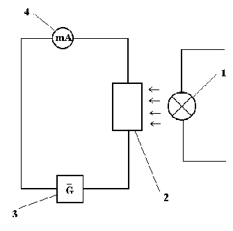
Рисунок 2.2.1. Электрическая схема установки для измерения вольт-амперных характеристик.
1 – источник ультрафиолетового излучения; 2 – измерительная головка с образцами; 3 – источник постоянного напряжения; 4 – электрометр.

Рисунок 2.2.2. Чертеж измерительной головки
2.3. Измерение спектральных характеристик.
Экспериментальная установка для снятия спектральных характеристик фоторезистора на основе нитрида алюминия собрана на базе монохроматора МДР-2. Рабочий диапазон спектра — 200-600 нм — обеспечивался дифракционной решеткой с числом штрихов 1200 на 1 мм. Для срезания спектров высшего и низшего порядков использовался светофильтр БС-5 в области спектра от 360 до 600 нм.
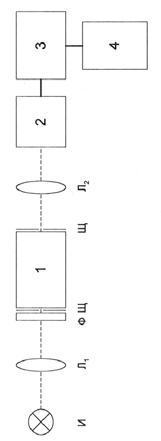
Блок-схема установки для измерения спектральной зависимости проводимости нитрида алюминия показана на рис. 2.3. Схема состоит из следующих элементов:
И — источник излучения;
Л1, Л2 — фокусирующие линзы;
Ф — светофильтр;
Щ — входная и выходная щели;
1 — монохроматор МДР-2, обратная линейная дисперсия 2 нм/мм;
2 — образец, помещенный в измерительную головку;
3 — вольтметр-электрометр В7-30;
4 — самописец.

Рисунок 2.3. Блок-схема установки для измерения спектральных характеристик.
Источником излучения, которое после некоторых преобразований попадает на образец, служит водородная лампа ДВС-25.
Для проектирования излучения на щель монохроматора служит двухлинзовый конденсатор с фокусным расстоянием 106 мм и световым диаметром 52 мм.
У входа и выхода монохроматора расположены соответственно входная и выходная щели, находящиеся на одной прямой. Щели монохроматора симметричные, с переменной шириной раскрытия в пределах от 0 до 4 мм с точностью до 0.01 мм. Перед образцом стоит линза для направленной фокусировки монохроматического света на образец.
2.4. Измерение зависимости фотопроводимости от интенсивности падающего излучения.
Экспериментальная установка для исследования зависимости фотопроводимости нитрида алюминия от интенсивности падающего излучения была собрана на основе вольтметра типа В7-30 и датчика мощности падающего излучения. Интенсивность падающего излучения варьировалась путем изменения расстояния от водородной лампы до измерительной головки с образцом.
Схема установки приведена на рисунке. 2.4.1., где
1 — источник излучения (водородная лампа ДВС-25);
2 — светофильтр БС-7;
3-- измерительная головка с образцом;
4 — линейка с делениями.
Для градуировки мощности падающего излучения была собрана установка, состоящая из датчика мощности падающего излучения и вольтметра типа Ф18. Излучение, пройдя через светофильтр, фиксировалось датчиком и вольтметром. Интенсивность излучения также регулировалась путем изменения расстояния между лампой и датчиком. Градуировочная таблица приведена ниже. Мощность излучения вычислялась по градуировочной формуле:
![]()

Рисунок 2.4.1. Схема установки для измерения зависимости фотопроводимости нитрида алюминия от интенсивности падающего излучения.
1 – источник ультрафиолетового излучения; 2 –светофильтр БС-7; 3 – измерительная головка с образцами; 4 – линейка.
Чтобы определить мощность излучения, которое создает фотопроводимость нитрида алюминия, измерения были проведены для двух случаев — при наличии фильтра и без него. Интенсивность излучения была рассчитана как их разность.
Таблица 2.4.1. Градуировочная таблица для снятия зависимости фотопроводимости нитрида алюминия от интенсивности падающего излучения.
Расстояние от источника излучения, L, см | Показания вольтметра при наличии светофильтра U1, мкв | Показания вольтметра без светофильтра U2, мкв | Интегральная мощность излучения, (без светофильтра) мкВт | Мощность излучения, со светофильтром мкВт |
0 | 42 | 24 | 33,6 | 19,2 |
2.3 | 13 | 6 | 10,4 | 4,8 |
4.1 | 6.5 | 3.8 | 5,2 | 3,04 |
6.4 | 2.6 | 1.6 | 2,08 | 1,28 |
8.5 | 1.4 | 0.4 | 1,12 | 0,32 |
10.7 | 0.5 | 0.1 | 0,4 | 0,08 |
12.9 | 0.1 | 0.02 | 0,08 | 0,016 |
14.9 | 0.04 | 0 | 0,032 | 0 |
17 | 0.02 | 0 | 0,016 | 0 |
18.8 | 0 | 0 | 0 | 0 |
ГЛАВА 3. ОБРАБОТКА РЕЗУЛЬТАТОВ ИЗМЕРЕНИЙ
3.1. Вольт-амперные характеристики.
3.1.1. Темновая вольт-амперная характеристика
Темновая вольт-амперная характеристика нитрида алюминия была получена с помощью установки, описанной в главе 2. Напряжение изменялось в диапазоне от 0 до 100 В. Результаты для двух полярностей приложенного напряжения приведены в таблицах 3.1.1.1. и 3.1.1.2.
Как видно из графиков (рис. 3.1.1.1. и 3.1.1.2.), темновая вольт-амперная характеристика линейна, лишь при малых напряжениях наблюдается некоторая нелинейность, что объясняется поликристаллической структурой образца нитрида алюминия.
Из угла наклона прямого участка ВАХ можно рассчитать темновую проводимость образца AlN, а учитывая геометрию образца, можно рассчитать удельную проводимость.
, где
l – длина образца; RТ – темновое сопротивление, рассчитанное из вольт-амперной характеристики ; D – ширина и h – толщина пленки нитрида алюминия.
Исходя из этих данных, можно определить удельную проводимость образцов.
Зная удельную проводимость материала и подвижность носителей заряда, можно рассчитать концентрацию носителей заряда в образце.
, где
– концентрация носителей заряда в материале; – подвижность электронов. Согласно литературным данным, подвижность
(6).
Из результатов исследований видно, что удельная проводимость исследуемых образцов практически однородна по площади, и незначительно изменяется от образца к образцу, что указывает на хорошую воспроизводимость технологии.
Линейность вольт-амперных характеристик при больших напряжениях, а также тот факт, что они практически совпадают при изменении полярности прикладываемого напряжения, говорит о том, что алюминиевые контакты, нанесенные на поверхность образцов можно считать омическими.
Таблица 3.1.1. Результаты измерений темновых вольт-амперных характеристик образцов нитрида алюминия
Образцы | Сопротивление Ом | Удельная проводимость, ом-1 м-1 | Концентрация носителей, м-3 |
| Образец №1 | 4.47 1014 | 0.26 10-8 | 0.116 1014 |
| Образец №2 | 6.19 1013 | 0.27 10-7 | 0.11 1014 |
| Образец №3 | 6.81 1013 | 0.243 10-8 | 0.1 1014 |

Рисунок 3.1.1.1. Темновая вольт-амперная характеристика образца нитрида алюминия (образец №1) при различных полярностях приложенного напряжения.

Рисунок 3.1.1.2. Темновая вольт-амперная характеристика образца нитрида алюминия (образец №2).
3.1.2. Вольт-амперные характеристики нитрида алюминия при освещенности
Вольт-амперные характеристики нитрида алюминия при освещенности снимались при помощи установки, описанной в главе 2. Результаты измерений приведены в таблицах 3.1.2.1. и 3.1.2.2. Измерения проводились при мощности падающего излучения – 21.4 мкВт
Сравнивая темновую ВАХ образца и ВАХ при полной освещенности, мы можем определи
