Оптические квантовые генераторы
Успехи, достигнутые при разработке и исследовании квантовых усилителей и генераторов в радиодиапазоне, послужили базой для реализации предложения об усилении и генерации света на основе индуцированного излучения и привели к созданию квантовых генераторов оптического диапазона. Оптические квантовые генераторы (ОКГ) или лазеры являются единственными источниками мощного монохроматического света. Принцип усиления света с помощью атомных систем был впервые предложен в 1940 г. В.А. Фабрикантом. Однако обоснование возможности создания оптического квантового генератора было дано лишь в 1958 г. Ч. Таунсом и А. Шавловым на основе достижений разработок квантовых приборов в радиодиапазоне. Первый оптический квантовый генератор был реализован в I960 г. Это был ОКГ с кристаллом рубина в качестве рабочего вещества. Создание инверсии населенностей в нем осуществлялось методом трехуровневой накачки, применявшимся обычно в парамагнитных квантовых усилителях.
В настоящее время разработано множество разнообразных оптических квантовых генераторов, отличающихся рабочими веществами (в этом качестве используются кристаллы, стекла, пластмассы, жидкости, газы, полупроводники) и способами создания инверсии населенностей (оптическая накачка, разряд в газах, химические реакции и т.д.).
И
злучение существующих оптических квантовых генераторов охватывает диапазон длин волн от ультрафиолетовой до дальней инфракрасной области спектра, примыкающей к миллиметровым волнам. Аналогично квантовому генератору в радиодиапазоне оптический квантовый генератор состоит из двух основных частей: рабочего (активного) вещества, в котором тем или иным способом
создается инверсия населенностей, и резонансной системы (рис .62). В качестве последней в ОКГ используются открытые резонаторы типа интерферометра Фабри - Перо, образуемые системой из двух зеркал, удаленных друг от друга.
Рабочее вещество осуществляет усиление оптического излучения благодаря индуцированному испусканию активных частиц. Резонансная система, вызывая многократное прохождение возникающего оптического индуцированного излучения через активную среду, обусловливает эффективное взаимодействие поля с ней. Если рассматривать ОКГ как автоколебательную систему, то резонатор обеспечивает положительную обратную связь в результате возвращения части распространяющегося между зеркалами излучения в активную среду. Дяя возникновения колебаний мощность в ОКГ, получаемая от активной среды, должна быть равна мощности потерь в резонаторе иди превышать ее. Это эквивалентно тому, что интенсивность волны генерации после прохождения через усиливающую среду, отражения от зеркал -/ и 2 , возвращения в исходное сечение должна оставаться неизменной или превышать первоначальное значение.
![]()
где L - длина рабочей активной среды; r1 и r2 - коэффициенты отражения зеркал 1 и 2 ; - коэффициент усиления активной среды; 0 - постоянная затухания, учитывающая потери энергии в рабочем веществе в результате рассеяния на неоднородностях и дефектах.
I. Резонаторы оптических квантовых генераторов
Резонансные системы ОКГ, как отмечалось, представляют собой открытые резонаторы. В настоящее время наиболее широко применяются открытые резонаторы с плоскими и сферическими зеркалами. Характерная особенность открытых резонаторов - их геометрические размеры во много раз превышают длину волны. Подобно объемным открытые резонаторы обладают набором собственных типов колебаний, характеризующихся определенным распределением поля в них и собственными частотами. Собственные типы колебаний открытого резонатора представляют собой решения уравнений поля, удовлетворяющие граничным условиям на зеркалах.
Существует несколько методов расчета объемных резонаторов, позволяющих находить собственные типы колебаний. Строгая и наиболее полная теория открытых резонаторов дана в работах Л.А.Вайв-штейна.* Наглядный метод расчета типов колебаний в открытых резонаторах развит в работе А.Фокса и Т.Ли.
(113)
В
ней используется. численный расчет, моделирующий процесс установления типов колебаний в резонаторе в результате многократного отражения от зеркал. Первоначально задается произвольное распределение поля на поверхности одного из зеркал. Затем, применяя принцип Гюйгенса, вычисляют распределение поля на поверхности другого зеркала. Подученное распределение принимают за исходное и вычисление повторяется. После многократных отражений распределение амплитуды и фазы поля на поверхности зеркала стремится к стационарному значению, т.е. поле на каждом зеркале самовоспроизводится в неизменном виде. Полученное распределение поля представляет собой нормальный тип колебаний открытого резонатора. Расчет А.Фокса и Т.Ли базируется на следующей формуле Кирхгофа, являющейся математическим выражением принципа Гюйгенса, которая позволяет находить поде в точке наблюдения А по заданному полю на некоторой поверхности Sb
![]()
где Eb - поле в точке B на поверхности Sb; k- волновое число ; R - расстояние между точками А и В ; Q - угол между линией, соединяющей точки А и В , и нормалью к поверхности Sb
(рис.63).
С увеличением числа проходов поде на зеркалах стремится к стационарному распределению, которое можно представить так:
![]()
где V(x,у) - функция распределения, зависящая от координат на поверхности зеркал, не меняющаяся от отражения к отражению;
у - комплексная постоянная, не зависящая от пространственных координат.
Подставив формулу (112) в выражение (III). получим интегральное уравнение
![]()
Оно имеет решение лишь при определенных значениях (Гамма) =(гамма миним.) называемых собственными значениями, Функции Vmn, удовлетворяющие интегральному уравнению, характеризуют структуру поля различных типов колебаний резонатора, которые называют поперечными колебаниями и обозначают как колебания типа ТЕМmn Символ ТЕM указывает на то, что водны внутри резонатора близки к поперечным электромагнитным, т.е. не имеющим составляющих поля вдоль направления распространения волны. Индексы m и n обозначают число изменений направления поля вдоль сторон зеркала (для прямоугольных зеркал) или по углу и вдоль радиуса (для круглых зеркал). На рис.64 показана конфигурация электрического поля для простейших поперечных типов колебаний открытых резонаторов с круглыми зеркалами. Собственные типы колебаний открытых резонаторов характеризуются не только поперечник распределением поля, но и распределением его вдоль оси резонаторов, которое представляет собой стоячую волну и отличается числом полуволн, укладывающихся по длине резонатора. Для учета этого в обозначения типов колебаний вводится третий ивдекс а , характеризующий число полуволн, укладывающихся вдоль оси резонатора.
Оптические квантовые генераторы на твердом теле
В оптических квантовых генераторах на твердом теле, или твердотельных ОКГ, в качестве активной усиливающей среды используются кристаллы или аморфные диэлектрики. Рабочими частицами, переходы меяду энергетическими состояниями которых определяют генерацию, как правило, являются ионы атомов переходных групп Периодической таблицы Менделеева, Наиболее часто используются ионы Na3+, Cr3+, Но3+, Pr3+ . Активные частицы составляют доли или единицы процента от общего числа атомов рабочей среды, так что они как бы образуют "раствор" слабой концентрации и потому мало взаимодействуют друг с другом. Используемые энергетические уровни представляют собой уровни рабочих частиц, расщепленные и уширенные сильными неоднородными внутренними полями твердого вещества. В качестве основы активной усиливающей среды используются наиболее часто кристаллы корунда (Al2O3), иттриево-алюминиевого граната YAG (Y3Al5O12), разные марки стекол и т.д.
Инверсия населенностей в рабочем веществе твердотельных ОКГ создается методом, аналогичным используемому в парамагнитных усилителях. Она осуществляется с помощью оптической накачки, т.е. воздействием на вещество светового излучения высокой интенсивности.
Как показывают исследования, большинство существующих в настоящее время активных сред, используемых- в твердотельных ОКГ, удовлетворительно описываются двумя основными идеализированными энергетическими схемами: трех- и четырехуровневой (рис.71).

Для создания инверсии рабочее вещество облучают интенсивным светом с частотным спектром, соответствующим переходу между уровнями 1—>3. С уровня 3 атомы переходят на уровень 2, . Этот переход, как правило, является безизлучательным. Энергия при этом идет на нагревание рабочего тела. При достаточной интенсивности накачки на уровне 2. удается получить больше атомов, чем их остается на основном уровне, т.е. возникает инверсия населенностей для рабочей пары уровней.
В активных средах, описываемых четырехуровневой схемой (см .рис. 71,б), переход 3-2 является рабочим, верхний уровень так же, как в трехуровневой схеме, представляет собой широкую полосу. Второй уровень находится от основного на энергетическом расстоянии, значительно большем kT. Поэтому при термодинамическом равновесии он практически не заселен. Большинство частиц, попавших на уровень 4 , затем переходит безизлучательным путем на уровень 3 , что при соответствующих условиях приводит к инверсии населенностей для пары уровней 3-2.
В четырехуровневой системе по сравнению с трехуровневой легче создать инверсию населенностей, так как нижний рабочий уровень не заселен. Для этого необходимо перевести незначительное количество частиц с основного уровня на верхний рабочий. В трехуровневой системе для получения инверсии требуется перебросить на верхний рабочий уровень с основного по крайней мере половину частиц.
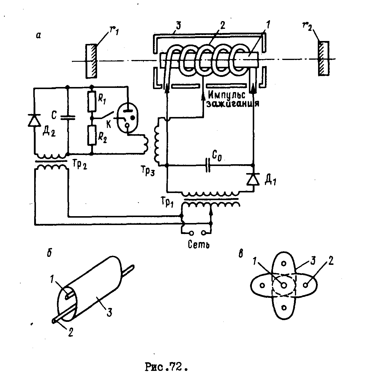
На рис.72, а приведена схема ОКГ на твердом теле. Она включает оптический резонатор, рабочее тело 1 , лампу накачки 2 с отражателем 3 , систему ее питания и зажигания разряда. Оптический резонатор образован зеркалами r1 и r2. Обычно в них используются многослойные интерференционные диэлектрические отражающие покрытия, в которых показатель преломления переменно меняется от слоя к слою. Слои наносят вакуумным напылением или химическим путем, они имеют толщину, равную четверти длины волны в диэлектрике на рабочей частоте. С увеличением количества слоев коэффициент отражения возрастает. При n=15 и больше он превышает 99%.
И
ногда в качестве отражающих покрытий используются серебряные пленки, но они позволяют получать коэффициент отражения не выше 95-96% и в отличие от интерференционных диэлектрических покрытий имеют большое поглощение, а потому часто выгорают в процессе работы. Одно из зеркал резонатора делается полупрозрачным для вывода энергии. Коэффициент пропускания выходного зеркала выбирается так, чтобы вывести из ОКГ максимальную энергию. При малом коэффициенте пропускания будет выводиться лишь незначительная доля энергии из резонатора. В случае большого пропускания ухудшаются условия возбуждения колебаний. При некотором пропускании выходного зеркала генерация срывается, так как не выполняются пороговые условия. Оптимальный коэффициент пропускания, при котором выводится максимальная энергия генерации, зависят от качества кристалла, его длины, энергии накачки. Оптимальное пропускание выходного зеркала для большинства твердотельных ОКГ составляет 20-60%.
Рабочее тело выполняют в форме стержня с хорошо обработанными торцевыми поверхностями, имеющими плоскопараллельную или сферическую форму. Точность отклонения обработки торцевых поверхностей от заданной формы лежит в пределах десятых долей длины волны. Параллельность плоских торцов выдерживается с точностью до нескольких угловых минут.
Иногда вместо внешних зеркал используются отражающие покрытия, нанесенные непосредственно на торцы рабочего тела. Боковая поверхность рабочих стержней частично или полностью делается матовой, чтобы предотвратить возбуждение типов колебаний, распространяющихся с отражением от боковых поверхностей.
Инверсия населенностей в рабочем теле создается методом оптической накачки. Как отмечено выше, пороговая мощность накачки имеет величину до сотен ватт на кубический сантиметр рабочего вещества ОКГ. Столь высокая плотность мощности накачки приводит к сильному нагреванию рабочих тел ОКГ. Это вызывает трудности, часто непреодолимые, в реализации непрерывного режима накачки твердотельных ОКГ. Поэтому ОКГ на твердом теле, как правило, работают в режиме одиночных или периодически повторяющихся импульсов. Источником накачки служат газоразрядные лампы. Наиболее часто используются импульсные ксено-новые лампы, обладающие наилучшей эффективностью преобразования электрической энергии в световое излучение, спектральный состав которого соответствует линиям поглощения используемых активных сред.
Лампы конструктивно выполняются в виде прямой или свитой в спираль трубки с введенными на концах электродами. Для инициации разряда в лампах предусматривается специальный внутренний или внешний поджигающий электрод. Лампы и рабочий стержень размещают внутри отражателя, обеспечивающего эффективность передачи световой энергии накачки в активную среду. При использовании спиральных ламп рабочее тело помещается внутри них, а отражатель, выполняемый в виде кругового цилиндра, охватывает лампу.
Более эффективны системы с прямыми лампами и отражателями в виде эллиптического цилиндра (рис.72, б), обеспечивающего фокусировку излучения ламп на рабочий образец. Для этого рабочее тело и лампы размещаются вдоль фокусных осей цилиндра.(Рис. 72,в иллюстрирует систему, в которой содержатся несколько ламп и одно рабочее тело.) Столь же эффективной оказывается более простая система, в которой лампа и активное тело находятся рядом внутри узкого отражателя с круглым или овальным сечением. Отражатель выполняется из серебряной или алюминиевой фольги. В конструкциях систем накачки очень часто предусматриваются охлаждение рабочего тела и ламп путем обдува их воздухом ахи обтекания хладоагентом.
Питание ламп осуществляется от батареи конденсаторов Со(см.рис.72,а ), заряжаемых часто от сети переменного напряжения через повышающий трансформатор Тр. и выпрямительный элемент Д. . Нормальное напряжение заряда конденсаторов должно быть меньше напряжения самопробоя импульсной лампы накачки. Зажигание разряда в лампе осуществляется подачей на поджигапщий электрод высоковольтного инициирующего импульса от управляющей схемы. На рис.72,а последняя состоит из конденсатора С , заряжаемого от сети через диод Д2, тиратрона с холодным катодом и импульсного трансформатора Тр1. При замыкании кнопки К тиратрон зажигается, конденсатор с разряжается через первичную обмотку трансформатора и на вторичной обмотке появляется высоковольтный импульс.
Рубиновые ОКГ
Были первыми практически осуществленными оптическими квантовыми генераторами. В настоящее время ОКГ на рубине - наиболее распространенные и широко используемые в практике. Это объясняется следующими достоинствами рубиновых ОКГ: излучение происходит в удобном спектральном диапазоне (в видимой области), обеспечивается большая Энергия генерации, рубиновые кристаллы легко получить высокого качества, они имеют высокую прочность и не требуют охлаждения Рубив представляет собой кристалл корунда Аl203,в котором часть ионов Al3+ замещена трехвалентными ионами хрома Сг3- Активными частицами, определяющими генерацию, являются ионы хрома. В ОКГ используют кристаллы розового рубина о массовой концентрацией Сr2О3 относительно Al2O3 , примерно равной 0,05 массы что составляет 1,6*1019 ионов хрома в I см3.
На рис.73 приведена система нижних энергетических уровней ионов хрома. Она существенно отличается от системы уровней свободных ионов, что связано со взаимодействием ионов с сильными

полями кристаллической решетки. Обозначения уровней, приведенные на рис.73, заимствованы из теории групп, которая используется при расчете, и не связаны непосредственно с принятыми обозначениями уровней свободных ионов. Рабочим является переход 2Е->4А2. Состояние 2Е является метастабильным. При комнатной температуре его время жизни составляет около 3 мс. Уровень 2E в действительности состоит из двух подуровней Е и 2А , разделенных промежутком 29 см-1. Переходы с этих подуровней в основное состояние 4А2 соответствуют линиям излучения света R1 и R2 с длиной волны 694,3 и 692,9 нм при температуре 300°С.
Уровень 4F2 состоит из шести подуровней, которые из-за неоднородности кристаллического поля настолько уширены, что перекрывают друг друга, превращая его в полосу. Уровень 4F1 также представляет собой полосу (см.рис.73).
Обычно генерация происходит на R1 -линии, для которой легче реализуются пороговые условия. Это связано с тем, что между ионами, находящимися на подуровнях Е и 2-4 , ответственных за линии ^ и Rn , существует интенсивный обмен. В результате населенности подуровней Е и 2А устанавливаются в соответствии с законом Больцмана и нижний подуровень имеет большую населенность. Возникновение генерации на частоте R1 - линии предотвращает возбуждение генерации на R2-линии, так как интенсивные релаксационные процессы вызывают переход ионов с 2A на Е и населенность уровня 2А не может достигнуть порогового значения.
Рубиновые ОКГ работают, как правило, в режиме разовых и периодических импульсов. Имеются лишь отдельные разработки генераторов непрерывного действия. Для рубиновых ОКГ характерна длительность импульсов порядка миллисекунд, частота следования обычно не превышает сотни герц. Ее ограничивает нагревание кристалла и ламп накачки.
Важной характеристикой импульсного твердотельного ОКГ является пороговая энергия накачки. Под ней понимают минимальную величину энергии питания ламп за одну вспышку, при которой возникает генерация. Пороговая энергия накачки зависит от размеров кристалла, его температуры, типа используемой лампы, конструкции системы накачки, добротности резонатора и т.д.
Обычно пороговая энергия рубиновых ОКГ составляет десятки и coтни джоулей. С увеличением энергии накачки энергия ОКГ ограничивается возможностями системы накачки, размерами кристалла, его качеством, световой прочностью зеркал и другими факторами.
В ОКГ с кристаллом диаметром 2 см и длиной 30 см генерируемая за импульс энергия достигает десятков джоулей. При длительности импульса ~ I мс пиковая мощность генерации составляет десятки киловатт. В ОКГ о модулированной добротностью (будут рассмотрены далее) импульсная мощность достигает десятков и более мегаватт. Коэффициент полезного действия, определяемый как отношение излучаемой энергии ОКГ к потребляемой им электрической энергии, для рубиновых ОКГ равен единицам процентов. Малый КПД связан во многом с низкой эффективностью системы накачки. Используемые в настоящее время импульсные газоразрядные лампы накачки преобразуют в свет около 50% потребляемой электрической энергии. Примерно 30% световой энергии ламп, т.е. 15% электрической энергии, соответствует полосам поглощения рубина. Оптическая часть системы накачки обеспечивает передачу в рубин приблизительно 00% полезной энергии. Так что реально всего несколько процентов расходуемой электрической энергии идет непосредственно на накачку рубина.

И 
На рис.75 приведены осциллограммы интен-сивностей накачки (а) и выходного излучения (б).
На характер этого режима влияют многие факторы, в частности конфигурация резонатора, распределение интенсивности накачки по объему кристалла, его температура, однородность и т.д. Так, эксперимент показывает, что хаотичность пульсации излучения значительно уменьшается вплоть до регулярного следования пичков при использовании в ОКГ открытых резонаторов, характеризующихся большим числом высоко-добротных типов колебаний (например, резонатора с одинаковыми сферическими зеркалами, расположенными на расстоянии, меньшем их удвоенного радиуса кривизны). Получению режима регулярных пульсации излучения способствует также однородное распределение интенсивности накачки в рабочем кристалле и понижение его
температуры.
Важной характеристикой работы ОКГ является картина распределения поля по площади сечения выходного пучка. Она определяет диаграмму направленности выходного излучения. Минимальная ширина диаграммы направленности соответствует основному поперечному ТЕМ00q типу колебаний. В случае использования плоских круглых зеркал ширина диаграммы направленности по уровню половинной мощности для ТЕМ00q типа равна Т = 0,63 Л/d рад ( d - диаметр пятна на зеркале; Л - длина волны). При d = I см, Л = 0,6943 мкм Т = 4«10~4 рад, т.е. примерно 1,5'. Практически ширина диаграммы излучения для рубиновых ОКГ превышает величину, вычисленную по этой формуле, раз в десять .Столь сравнительно большая ширина диаграммы направленности связана с возбуждением высших типов колебаний, оптическим несовершенством реальных рубиновых кристаллов (наличием в них центров рассеяния и градиентов преломления по площади сечения образца). Распределение поля по площади зеркала часто имеет весьма сложную мозаичную картину, которая в процессе генерации меняется от пичка к пичку.
Излучение рубиновых ОКГ обычно частично иди полностью поляризовано. Поляризация излучения определяется анизотропией рубиновых кристаллов, и ее характер зависит от угла ориентации оптической оси кристалла относительно геометрической оси стержня, вдоль которой распространяется свет в резонаторе. Обычно используются рубиновые стержни с ориентацией оси 60 или 90°. Излучение в ОКГ с такими стержнями имеет линейную поляризацию с электрическим вектором, перпендикулярным плоскости, в которой лежат оптическая ось ж ось стержня. В ОКГ с кристаллом 0-градусной ориентации излучение неполяризовано.
Оптические к вантовые генераторы на стекле
Активированном неодимом, находят такое же широкое распространение, как рубиновые.Это обусловлено достоинствами стекла: простотой изготовления образцов больших размеров (до нескольких сантиметров в диаметре и длиной до метра и более), высокой оптической однородностью, возможностью введения рабочих частиц в необходимых концентрациях с равномерным распределением по объему.
Недостатком стекла является низкая теплопроводность, что затрудняет создание генераторов большой средней мощности и ограничивает его работу режимом одиночных импульсов.
Средняя мощность в импульсе генерации достигает единиц мегаватт. Коэффициент полезного действия таких генераторов составляет доли процента, их выходное излучение, так же как и у рубиновых ОКГ, носит пичковый характер. Ширина спектра излучения при больших уровнях накачки достигает 20 нм. Излучение ОКГ на неодимовом стекле неполяризовано. Это связано с хаотической ориентацией ионов неодима и оптической однородностью стекла.
Угловая расходимость выходного луча ОКГ на неодимовом стекле достигает обычно единиц угловых минут, что значительно меньше величины расходимости излучения рубиновых ОКГ. Это обусловлено более высокой оптической однородностью стекла.
Газовые оптические квантовые генераторы
В газовых ОКГ, как следует из названия, активной усиливающей средой является газ. Рабочими частицами, переходы между энергетическими состояниями которых определяют генерацию, служат атомы, ионы или молекулы. В соответствии с этим говорят об атомных, молекулярных и ионных ОКГ.
В настоящее время предложено множество методов создания инверсии населенвостей в газовых средах, использувдих электрический разряд, энергию химических реакций, оптическую накачку и т.д.
Наиболее часто инверсия в газовых ОКГ осуществляется в результате электрического разряда, создаваемого непосредственно в самой рабочей среде. Основными механизмами, приводящими к избыточной населенности верхних энергетических уровней в газоразрядных ОКГ, являются следующие процессы:
I. Неупругие столкновения электронов с частицами газа (соударения первого рода), сопровождаемые передачей кинетической энергии движения электронов частицам, которые переходят в возбужденное состояние. Символически такой процесс обозначают
![]()
Соударения первого рода приводят не только к прямому возбуждению, но и определяют ступенчатое возбуждение частиц. При не-yupyl'их столкновениях электрона е с возбужденной частицей А* последняя переводится в более высокое энергетическое состояние А**:
![]()
Процессы возбуждения частиц путем электронных неупругих соударений первого рода играют основную роль во всех газоразрядных ОКГ.
2. Соударения второго рода между разнородными атомами смеси двух газов. При соударении атомов, один из которых - А* -находятся в возбужденном состоянии, а другой - В - в основном, происходит передача возбуждения от первого атома ко второму. При этом первоначально возбужденный атом переходит в основное состояние, а партнер по соударению - в возбужденное состояние :
![]()
Подобные работы: