Кабельные линии
1. ИСПЫТАНИЯ КАБЕЛЬНЫХ ЛИНИЙ.
НАЗНАЧЕНИЕ, ОБЪЕМ И ПЕРИОДИЧНОСТЬ ИСПЫТАНИЙ КАБЕЛЬНЫХ ЛИНИЙ
Кабельные линии непосредственно после их сооружения и в процессе эксплуатации подвергаются разнообразным испытаниям, с помощью которых выявляются ослабленные места или дефекты в изоляции и защитных оболочках кабелей, соединительной и концевой арматуры и других элементах кабельных линий.
Причины возникновения таких ослабленных мест весьма различны. Они могут возникать при изготовлении кабеля и арматуры на заводе из-за конструктивных недостатков кабеля и арматуры, при небрежной прокладке кабельных линий, при некачественном выполнении монтажных работ. Ослабленные места выявляются в процессе эксплуатации КЛ, так как со временем наблюдается старение изоляции кабелей и коррозия их металлических оболочек. Кабельные линии, проложенные в земляной траншее, невзирая на дополнительную защиту в виде покрытия кирпичом и систематическое наблюдение за состоянием трассы линий, весьма подвержены внешним механическим повреждениям, которые могут возникать при прокладке и ремонте других городских подземных сооружений, проходящих по трассе КЛ.
За исключением прямых механических повреждений, ослабленные места и дефекты КЛ имеют скрытый характер. Своевременно не выявленные испытаниями они могут с той или иной скоростью развиваться под воздействием рабочего напряжения. При этом возможно полное разрушение элементов КЛ в ослабленном месте с переходом линии в режим короткого замыкания и ее отключение с соответствующим нарушением электроснабжения потребителей.
Полный перечень испытаний КЛ в зависимости от их напряжения и назначения регламентируется “Нормами испытания электрооборудования”.
Таблица 1. Силовые кабельные линии
К, Т или М — производятся в сроки, устанавливаемые системой ППР, но не реже: К — 1 раза в 5 лет, Т или М --1 раза в 3 года (исключения см. в указаниях пп. 1.2- 1.3. 1.7 и 1.9).
| Наименование испытания | Вид испытания | Нормы испытания | Указания | |||
| 1,1, Определение целости жил и фазировки | К, Т | Все жилы должны быть целыми и сфазированными | Производится после окончания монтажа, перемонтажа муфт или отсоединения жил кабеля | |||
| 1.2. Испытание повышенным выпрямленным напряжением: | Результаты испытания кабеля считаются удовлетворительными, если не наблюдалось скользящих разрядов, толчков тока утечки или нарастания установившегося значения и если сопротивление изоляции, измеренное мегаомметром, после испытания осталось прежним. Сопротивление изоляции до и после испытания не нормируется | До и после испытания кабелей на напряжение выше 1 кВ повышенным выпрямленным напряжением производится измерение сопротивления изоляции мегаомметром на напряжение 2500 В | ||||
| 1) кабелей напряжением выше 1 кВ (кроме резиновых кабелей 3—10 кВ) | К, Т | Групповые кабели на подстанциях могут испытываться без отсоединения от шин. Испытание повышенным напряжением выпрямленного тока кабелей, расположенных в пределах одного распределительного устройства или здания, рекомендуется производить не более 1 раза в год | ||||
| 2) кабелей 3—10 кВ с резиновой изоляцией (например, марок КИЭВГ, ЭВТ) | К | Испытываются напряжением 2Uном в течение 5 мин | __ | |||
| 1.3. Измерение сопротивления изоляции | Проверяется мегаомметром на напряжение 2500 В в течение 1 мин. Сопротивление изоляции должно быть не ниже 0,5 МОм | __ | ||||
| 1) кабелей 3—10кВ с резиновой изоляцией | Т, М | Производится после мелких ремонтов, не связанных с перемонтажем кабеля, перед наступлением сезона (в сезонных установках) и не реже 1 раза в год в стационарных установках | ||||
| 2) кабелей напряжением до 1 кВ | К | __ | ||||
Продолжение таблицы | ||||||
| Наименование испытания | Вид испытания | Нормы испытания | Указания | |||
| 1.4. Контроль осушения вертикальных участков | М | Разность нагрева отдельных точек должна быть в пределах 2—3°С. Контроль осушения можно производить также путем снятия кривых tg =f (U) на вертикальных участках | Производится на кабелях 20— 35 кВ путем измерения и сопоставления температур нагрева оболочки в разных точках вертикального участка | |||
| 1.5. Определение сопротивлений заземлений | К | Производится у металлических концевых заделок на линиях всех напряжений, кроме линий до 1000 В с заземленной нейтралью, а на линиях напряжением 110—220 кВ также у металлических конструкций кабельных колодцев и подпиточных пунктов | ||||
| 1.6. Измерение токораспределения по одножильным кабелям | К | Неравномерность распределения токов на кабелях должна быть не более 10% (особенно если это приводит к перегрузке отдельных фаз) | ||||
| 1.7. Измерение блуждающих токов | М | Опасными считаются токи на участках линий в анодных и знакопеременных зонах в следующих случаях: 1) бронированные кабели, проложенные в малоагрессивных грунтах (удельное сопротивление почвы р>20 Ом.м), при среднесуточной плотности тока утечки в землю более 15 мА/м2; 2) бронированные кабели, проложенные в агрессивных грунтах (р< <20 Ом-м), при любой плотности тока утечки на землю; 3) кабели с незащищенными металлическими оболочками, с разрушенными броней и защитными покрытиями; 4) стальные трубопроводы линий высокого давления независимо от агрессивности окружающего грунта и видов изоляционных покрытий на них | Производится у кабелей, проложенных в районах нахождения электрифицированного транспорта (метрополитена, трамвая, железной дороги), 2 раза в первый год эксплуатации кабеля или электрифицированного транспорта, далее—согласно местным инструкциям. Измеряются потенциалы и токи на оболочках кабелей в контрольных точках, а также параметры установки электрозащит | |||
Продолжение таблицы | ||||||
| Наименование испытания | Вид испытания | Нормы испытания | Указания | |||
| 1.8. Определение химической коррозии | М | Оценку коррозионной активности грунтов и естественных вод рекомендуется производить по данным химического анализа среды или методом потери массы металла | Производится, если имеет место повреждение кабелей коррозией и нет сведений о коррозионных условиях трассы | |||
| 1.9. Измерение нагрузки | М | Токовые нагрузки должны удовлетворять требованиям ПУЭ | Должно производиться ежегодно не менее 2 раз, в том числе 1 раз в период максимальной нагрузки линии | |||
| 1.10. Измерение температуры | М | Температура кабелей не должна превышать допустимых значений | Производится по местным инструкциям на участках трассы. где имеется опасность перегрева кабелей | |||
| 1.11. Проверка срабатывания защиты линии до 1000 В с заземленной нейтралью | К, М | При замыкании на корпус концевой заделки должен возникнуть ток однофазного короткого замыкания, превышающий номинальный ток плавкой вставки ближайшего предохранителя или расцепителя автоматического выключателя. Превышение должно быть не меньше, чем указано в ПУЭ | Производится у металлических концевых заделок непосредственным измерением тока однофазного короткого замыкания на корпус с помощью специальных приборов или измерением полного сопротивления петли фаза — нуль с последующим определением тока однофазного короткого замыкания. Полученный ток сравнивается с номинальным током защитного аппарата линии с учетом коэффициентов ПУЭ | |||
Рассмотрим особенности испытания кабельных линий повышенным напряжением.
Применение выпрямленного напряжения для испытания КЛ весьма эффективно. Для этих целей применяются транспортабельные испытательные установки ограниченной мощности и габаритов. Последнее определяется тем, что параметры таких установок зависят от тока утечки и изоляции КЛ, в то время как при использовании повышенного переменного напряжения параметры установок определяются емкостью линий, которая для КЛ весьма значительна. При этом выпрямленное напряжение, по сравнению с таким же по величине напряжением, оказывает малое воздействие на неповрежденную изоляцию кабельных линий.
Испытание выпрямленным напряжением, к сожалению, выявляет не все ослабленные места изоляции КЛ. В частности, не выявляются: электрическое старение изоляции; осушение изоляции из-за перемещения или стекания пропиточного состава; высыхания изоляции из-за тяжелого теплового режима работы кабельных линий.
Испытания повышенным напряжением являются разрушающими, так как при приложении испытательного напряжения изоляция КЛ в месте дефекта доводится до полного разрушения (пробоя). После пробоя необходим ремонт линии в том или ином объеме. Разрабатываемые в последнее время методы специальной дефектоскопии электрооборудования, с помощью которых ослабленное место испытуемого объекта выявляется без его разрушения, к сожалению, не затрагивают испытания кабельных линий.
Различаются приемосдаточные испытания (П), испытания при капитальном (К) и текущем (Т) ремонтах, а также межремонтные испытания (М). Для кабельных линий городских сетей характерны испытания П,К и М. При этом испытания К и М согласно принятой терминологии носят названия профилактических испытаний (ПИ).
Таблица 2
Испытательное выпрямленное напряжение для кабельных линий
| Напряжение линии, кВ | Испытательное напряжение, кВ, для кабелей | |
| С бумажной изоляцией | С пластмассовой изоляцией | |
<1 6 10 35 110 220 | 2.5 36-45 60 175 250 500 | 2.5 36 60 -- -- -- |
Значения испытательного выпрямленного напряжения для КЛ при профилактических испытаниях приведены в табл. 1-2. Для линий напряжением до 1кВ вместо испытания повышенным напряжением допускается проверка их мегомметром напряжением 2500 В. Испытательное напряжение при приемосдаточных испытаниях, в отличие от данных табл. 1-2, для линий до 1 кВ составляет 6 кВ, для линий 6 кВ ровно 36 кВ. Время приложения испытательного напряжения для КЛ напряжением до 35 кВ принимается равным 10 мин при приемосдаточных испытаниях и 5 мин для линий, находящихся в эксплуатации. Для линий 110-220 кВ время приложения напряжения составляет 15 мин.
При испытаниях повышенным напряжением необходимо учитывать характер изменения токов утечки, которые для КЛ с удовлетворительной изоляцией, как правило, весьма стабильны. Для кабелей с бумажной изоляцией напряжением до 10 кВ ток утечки находится в пределах 300 мкА, для кабелей 35 кВ около 800 мкА. При этом абсолютное значение тока утечки не является браковочным показателем. Асимметрия токов утечки по фазам КЛ не должна превышать восьми-десяти при условии, что абсолютные значения токов утечки не превышают допустимые.
До и после испытания линий повышенным напряжением производится измерение сопротивления изоляции линии с помощью мегомметра. При этом сопротивление изоляции КЛ до 1 кВ должно быть не ниже 0,5 МОм. Для линий других напряжений сопротивление изоляции не нормируется. Проверка мегомметром позволяет также выявить серьезные повреждения КЛ , в частности, заземление и обрыва жил, замыкания между жилами и т.п.
Профилактические испытания (ПИ) делятся на плановые и внеплановые. Периодичность плановых испытаний устанавливается руководством ПЭС с учетом местных условий. При этом автоматизированные линии могут испытываться реже, чем неавтоматизированные. Однако ПИ кабельных линий 6-35 кВ должны производиться не реже одного раза в три года. Линии, имеющие по опыту эксплуатации недостаточно удовлетворительное состояние изоляции или работающие в неблагоприятных условиях (частные земляные раскопки на трассе линий, активная коррозия и т.п.), рекомендуется подвергать более частым испытаниям. Внеочередные испытания назначаются после производства земляных работ на трассе КЛ. ее перекладки или капитального ремонта, при наличии осадки или размыва грунта на трассе и т.п. Рекомендуется также через месяц производить повторное испытание таких линий. Периодичность испытания кабельных линий 110-220 кВ устанавливается по местным условиям.
Профилактические испытания КЛ могут производиться двумя методами: с выводом из работы линий и их всесторонним отключением на время проведения испытания; без вывода из работы линий с наложением испытательного напряжения на участок сети, находящейся под рабочим напряжением и под нагрузкой нормального режима (испытания “под нагрузкой”).
Для испытаний применяются специальные высоковольтные выпрямительные установки, размещаемые, как правило, в передвижных электролабораториях. При испытании отрицательный полюс установки присоединяется к жиле кабельной линии, а положительный полюс заземляется. Для трехжильных кабелей с поясной изоляцией испытательное напряжение прикладывается поочередно к каждой жиле, в то время как две другие жилы вместе с металлическими оболочками кабеля заземляются. При этом испытывается междуфазовая изоляция и изоляция жилы по отношению к земле. Для кабелей с изолированными жилами в отдельной металлической оболочке или экране испытательное напряжение прикладывается поочередно к каждой жиле, с одновременным заземлением двух других жил и всех металлических оболочек и экранов.
Наибольшее применение имеет способ испытания, при котором полностью отключается кабельная линия (рис 1-1,а). при высокой эффективности этот способ достаточно трудоемкий, так как процесс испытания требует поочередного вывода линий из работы. При этом нарушается нормальный режим сети, что ведет к увеличению потерь энергии в сети и снижается надежность электроснабжения потребителей. Отключение и обратное включение линий происходит при высоком напряжении, т.е. необходимо обеспечить безопасность персонала, выполняющего эти операции.

Рис. 1-1. Схемы испытания кабельных линий:
а – с отключением линий; б – без отключения линий
Перед началом установка заземляется и производится осмотр всех элементов КЛ. При наличии видимых дефектов последние устраняются. В зависимости от схемы присоединения линии вместе с ней может испытываться то или иное концевое электрооборудование (опорные изоляторы линейного разъединителя и т.п.). допускается производить испытание одновременно нескольких участков распределительной линии при условии, что силовые трансформаторы и трансформаторы напряжения в ТП, находящийся в схеме линии, на это время отключаются.
После присоединения испытательной установки к линии повышенное напряжение увеличивают плавно со скоростью не более 1-2 кВ в секунду до необходимого значения (см.табл. 1-2) и затем поддерживают в течение установленного времени. При этом ведется наблюдение за током утечки, а на последней минуте испытания записывается показание микроамперметра. Линия является выдержавшей испытание, если не произошло пробоя или перекрытия концевых муфт, не наблюдалось роста тока утечки или его резких скачков в период испытания. Кабельная линия после испытания значительное время сохраняет электрический заряд, который в последующем снимается разрядным устройством.
Как отмечалось, точки утечки и их неравномерность по фазам не рассматриваются в качестве браковочных показателей. Однако они характеризуют состояние изоляции кабельной линии и, главным образом, изоляции концевых муфт. При заметном нарастании тока утечки или при появлении скачков тока продолжительность испытания следует увеличить до 10-20 мин и довести испытание до пробоя линии. Если линия не пробивается, она может быть включена в работу с повторным испытанием через месяц. В дальнейшем такие линии рекомендуется испытывать не реже 1 раза в год. Если значения токов утечки стабильны, но превосходят 300 мкА при относительной влажности окружающей среды до 80% и 500 мкА при влажности более 80% для линий до 10 кВ, а также 800 и 1500 мкА соответственно для линий 35 кВ, кабельная линия после испытания может быть включена в работу, но с сокращением срока следующего испытания.
Кабельные линии с плохим состоянием изоляции рекомендуется испытывать в летний период, линии с подводными переходами – до начала ледостава или ледохода. Результаты испытания (среди них значения тока утечки) записываются в паспортную карту КЛ и сопоставляются с результатами предыдущих испытаний для суждения об изменении состояния изоляции линии.
Образец кабеля, имеющий дефекты, при пробое рекомендуется вырезать и обследовать в стационарных установках. Это необходимо с целью определения причин возникновения дефекта и разработки соответствующих мероприятий, исключающих такие дефекты. Результаты обследования оформляются соответствующим протоколом и записываются в карту КЛ. При наличии заводских дефектов составляется рекламация, которая предъявляется заводу-изготовителю кабеля и арматуры.
Второй способ испытания повышенным напряжением в настоящее время разработан только для КЛ напряжением 6 кВ. Применение способа приводит к удешевлению испытаний за счет значительного сокращения числа переключателей в сети и сокращения трудозатрат, связанных с производством самих испытаний. В данном случае испытанию подвергается участок сети, находящийся в нормальном режиме. Как правило, испытания проводятся в период минимальной нагрузки, с предварительным уведомлением потребителей испытываемого участка сети.
По сравнению с первым способом метод испытания под нагрузкой имеет меньшую эффективность. Однако при таком испытании изоляция КЛ поддерживается на необходимом уровне, который предохраняет сеть от многочисленных повреждений, возникающих при перенапряжениях в сети по различным причинам.
При испытании сети под нагрузкой испытывается изоляция всех кабельных линий, трансформаторов и оборудования путем подачи в нулевую точку работающей сети 6 кВ выпрямленного напряжения 20-24 кВ. в результате изоляция сети по отношению к земле во время испытания находится под пульсирующим напряжением с максимальным значением 29 кВ (выпрямленное напряжение плюс рабочее переменное). Схема испытания “под нагрузкой” указана на рис.1-1,б. Испытательная установка присоединяется, как правило, к нулевому выводу трансформатора собственных нужд понижающей подстанции. На время испытания дугогасящая катушка (если она есть на подстанции) отключается.
Применение метода ограничивается, как отмечено, сетями напряжения 6 кВ, емкостный ток испытываемого участка сети должен быть не более 20 А, на участке не должно быть электродвигателей 6 кВ или они должны отключаться во время испытания, электроприемники I категории участка должны быть оборудованы устройствами АВР.
В связи с уменьшением значения испытательного напряжения испытания рекомендуется проводить 2-6 раз в год. Продолжительность испытания составляет 3 мин. При появлении скачков тока утечки с целью предотвращения перехода замыкания на землю в двухфазное (трехфазное) короткое замыкание число подъемов испытательного напряжения должно быть не более двух, с общей выдержкой сети под повышенным напряжением не более 5 мин. во время испытаний необходимо присутствие специальной бригады для быстрого обнаружения и локализации возникающих дефектов в КЛ и в оборудовании сети. При этом может использоваться специальный прибор типа ВС направленного действия. Поскольку по данному методу не испытывается междуфазовая изоляция, рекомендуется один раз в два-три года производить дополнительные испытания по двухполярной схеме с отключением линий. Величина испытательного напряжения устанавливается в зависимости от местных условий.
1-2. ВИДЫ ПОВРЕЖДЕНИЙ И ПРОЖИГАНИЕ КАБЕЛЬНЫХ ЛИНИЙ
После пробоя КЛ по причине отказа или в результате испытания, за исключением прямых механических повреждений, возникает необходимость в определении места повреждения линии. В настоящее время имеются совершенные методы, с помощью которых место повреждения, как правило, устанавливается с достаточной точностью и в ограниченное время.
Каждый метод имеет свою область использования, которая определяется характером повреждения КЛ и, в том числе, переходным сопротивлением, возникающем в месте повреждения. В связи с этим перед определением места повреждения необходимо определить характер повреждения, а также произвести при необходимости прожигание кабеля с целью снижения переходного сопротивления в месте повреждения его изоляции до требуемого уровня.
Повреждения КЛ имеют различный характер: повреждение изоляции с замыканием одной жилы на землю; повреждение изоляции с замыканием двух или трех жил на землю, двух или трех жил между собой в одном или в разных местах; обрыв одной, двух или трех жил с заземлением и без заземления жил; заплывающий пробой изоляции; сложные повреждения, содержащие указанные виды повреждений. Наиболее распространенный случай – это повреждение между жилой и оболочкой кабеля, т.е. однофазные повреждения, особенно для кабелей с жилами в самостоятельных оболочках.
Все измерения на КЛ производятся с их полным отключением и выполнением необходимых мер техники безопасности. Как правило, определение характера повреждения производится с помощью мегомметра на 2500 В, которым измеряется сопротивление изоляции каждой жилы по отношению к земле и сопротивление изоляции между жилами. Целостность жил проверяется с обоих концов линии путем поочередной установки закоротки на концах линии. Для кабельных линий 0,38 кВ могут использоваться приборы типа МС-0,5, МС-0,8, ТТ-1 и т.п. При определении характера сложного повреждения используются измерители неоднородностей кабельных линий типов Р5-1А, Р5-5, Р5-9, а при необходимости характер уточняется с помощью поочередного испытания выпрямленным напряжением изоляции каждой жилы по отношению к оболочке и между жилами.
В процессе определения характера повреждения, как отмечалось, устанавливается необходимость прожигания изоляции КЛ в месте повреждения. Значение переходного сопротивления, до которого необходимо вести процесс прожигания изоляции, указан ниже. Процесс прожигания кабеля достаточно трудоемкий и требует специальной аппаратуры, которая должна иметь достаточную мощность и широкие диапазоны ее регулирования. Процесс характеризуется многократным повторением электрического пробоя изоляции кабеля в месте его повреждения, что позволяет постепенно снизить переходное сопротивление в месте повреждения до требуемого значения. При этом по мере снижения сопротивления напряжение пробоя уменьшается и одновременно возрастают ток в цепи пробоя и мощность установки для прожигания.
Прожигание КЛ может производиться с использованием переменного или выпрямленного напряжения. При этом использование резонансных установок не рекомендуется.
Рекомендуется так называемый ступенчатый способ ведения прожигания, в процессе которого меняются источники питания по мере уменьшения напряжения пробоя и переходного сопротивления в месте повреждения. На первой и второй ступенях прожигания используется выпрямленное напряжение. Напряжение установки на первой ступени принимается 30-50 кВ при максимальном токе 0,1-0,5 А, (установка для испытания КЛ). на второй ступени применяется более мощная установка напряжением 5-8 кВ и максимальным током 5-10 А. на третьей ступени используется генератор высокой частоты, позволяющий регулировать напряжение на выходе до 0,05-0,5 кВ при максимальном токе до 10 А.
К кабелю

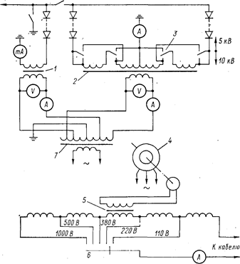
Рис. 1-2. Принципиальная схема установки прожигания КЛ
1 – трансформатор выпрямителя ВП-60, 0,22/42,5 кВ; 2 - трансформатор выпрямителя ВП-5/10, 7 кВ А; 3 – переключатель ВП-10/5; 4 – генератор звуковой частоты АТО-8; 5 – трансформатор согласующий 8 кВ А, 1000/500/380/110 В; 6 – переключатель; 7 – регулировочный трансформатор напряжения 250 В.
Указанный принцип реализован в установке для прожигания, разработанной Московской кабельной сетью. Принципиальная схема устройства приведена на рис. 1-2. Используется выпрямитель ВП-60 (1) для испытания и предварительного прожигания изоляции кабеля, выпрямитель ВП-10/5 (3) для дожигания изоляции до малых переходных сопротивлений и генератор (4) звуковой частоты АТО-8 с согласующим трансформатором (1000-500-380-270-110 В) для окончательного дожигания места повреждения. Генератор применяется также для индукционного способа определения места повреждения кабеля. Выпрямитель ВП-60 обеспечивает выпрямленное напряжение 60 кВ при среднем значении тока 50-75 мА. Выпрямитель ВП-10/5 имеет напряжение 10 кВ при токе 3 А.
Прожигание начинают выпрямителем ВП-60 и ведут в режиме допустимой мощности (75 мА) до тех пор, пока напряжение не снизится до 15 кВ, после чего подключают выпрямитель ВП-10/5 и ведут прожигание с использованием обоих выпрямителей. Когда напряжение пробоя уменьшится до 10 кВ и нагрузка выпрямителя ВП-10/5 достигнет 1 А, выпрямитель ВП-60 отключают. При снижении напряжения пробоя до 5 кВ обмотки выпрямителя ВП-10/5 переключают с последовательного на параллельное соединение с помощью высоковольтного переключателя (10) и продолжают прожигание при напряжении 5 кВ. Когда напряжение пробоя достигнет нулевого значения, включают рубильник 2 на землю. Если показание амперметра ВП-10/5 не меняется, переходное сопротивление в месте повреждения доведено до малой величины. Прожигание до нулевых значений переходного сопротивления с целью использования импульсного метода определения места повреждения, который требует металлического соединения жилы с оболочкой кабеля, выполняется с использованием генератора звуковой частоты при изменении напряжения в пределах 1000-100 В.
В зависимости от характера повреждения и состояния КЛ процесс прожигания изоляции происходит по-разному. Обычно после нескольких минут прожигания на первой ступени разрядное напряжение снижается до значения, позволяющего перейти на вторую ступень. После 10-15 минут работы на второй ступени напряжение снижается до нуля, переходное сопротивление – до 20-30 Ом, после чего включается третья ступень. Если сопротивление возрастает, вновь возвращаются к прожиганию на второй ступени и, по мере снижения сопротивления, на третьей ступени.
При повреждении подводной КЛ или линии, имеющей увлажненную изоляцию, прожигание изоляции требует большего времени. После повторения пробоев на первой ступени в течение нескольких минут и снижения напряжения работа на второй ступени происходит более длительно, характеризуется устойчивым током и переходное сопротивление не снижается менее чем до 2-3 кОм. Несколько часов может протекать прожигание соединительной муфты при наличии так называемого заплывающего пробоя, когда переходное сопротивление может резко изменяться включая восстановление изоляции после пробоев на сниженном напряжении.
1-3. МЕТОДЫ ОПРЕДЕЛЕНИЯ МЕСТ ПОВРЕЖДЕНИЯ КАБЕЛЬНЫХ ЛИНИЙ
При определении мест повреждения кабельных линий необходимо соблюдать серьезные требования: погрешность не должна превышать 3 м (при этом учитываются трудности производства земляных работ на городских проездах с усовершенствованным покрытием); выполнение ОМП должно ограничиваться несколькими часами; должны соблюдаться правила безопасности персонала. Указанные требования усиливаются необходимостью быстрейшего ремонта КЛ при ее повреждении, так как при выводе линии в ремонт нарушается надежность электроснабжения потребителей и возрастают потери электроэнергии в сети. Для кабельных линий, проложенных в земляной траншее, следует учитывать опасность проникновения влаги в изоляцию в результате нарушений герметичности, возникающих в месте повреждения. Проникновение влаги может быть весьма интенсивным и распространяться на значительную длину вдоль линии.
При быстром определении места повреждения ремонт линии ограничивается заменой участка кабеля длиной 3—5 м и монтажом двух соединительных муфт, в благоприятных случаях может быть установлена одна муфта. Если работы по определению места повреждения затягиваются, что ведет к проникновению влаги, то возникает необходимость замены участка кабеля с увлажненной изоляцией длиной уже в несколько десятков метров, Это, в свою очередь, увеличивает объем земляных работ и ведет к удорожанию ремонта линии.
В соответствии с установившейся практикой определяют место повреждения в два приема: сначала определяют зоны повреждения кабельной линии, затем уточняется место повреждения в пределах зоны. На первом этапе определение места повреждения производится с конца линии, на втором этапе — непосредственно на трассе линии. В связи с этим методы соответственно разделяются на дистанционные (относительные) и топографические (абсолютные). Ориентировочно область использования методов определения места повреждения, приведена в табл. 3. При сложных повреждениях возможно сочетание различных методов определения мест повреждений.
К дистанционным методам относятся; импульсный, колебательного разряда и мостовой, а к топографическим — индукционный, акустический и метод накладной рамки.
При импульсном методе в КЛ посылается так называемый зондирующий электрический импульс и измеряется время между моментом посылки зондирующего импульса и моментом прихода импульса, отраженного от места повреждения. При этом учитывается, что скорость распространения электромагнитных колебаний в КЛ с бумажной изоляцией находится в пределах 160 м/мкс. Время сдвига между зондирующим и отраженным импульсами определяется при помощи электронно-лучевой трубки.
Для измерений используются известные приборы ИКЛ-4, ИКЛ-5, Р5-1А, Р5-5, более совершенные Р5-9, Р5-10. Прибор присоединяется к одному концу линии (схема присоединения выбирается в зависимости от характера повреждения). На экране электронно-лучевой трубки нанесена линия масштаба времени, цена деления которого устанавливается в зависимости от диапазона измерения. Для удобства отсчета на индикаторе экрана имеется сетка. На экране трубки виден отраженный импульс, вершина которого при обрыве жил направлена вверх, при замыкании жил — вниз. Кроме того, отражается изменение волнового сопротивления линии за счет соединительных муфт, изменения сечения линии и т. д.
Импульсный метод может быть применен в КЛ любых конструкций при однофазных и многофазных повреждениях устойчивого характера (Rп<50/100 Ом), при обрывах жил (Rц> >106 Ом) и при сложных повреждениях.
Таблица 3
Рекомендуемые методы определения места повреждения кабельных линий
| Вид повреж-дения | Схема повреждения | Переходное сопротивление, Ом | Дистанционный метод | Топографический метод | |
| Замыка-ниние на обо-лочку кабеля | Rп<50 | импульсный | акустический | ||
100 | МОСТОВОЙ | акустический, накладная рамка | |||
| Rп<=50 | импульсный | акустический, индукционный, при Rп= 0— накладная рамка | |||
100 | МОСТОВОЙ | акустический | |||
| Rп<=50 | импульсный | акустический | |||
100 | МОСТОВОЙ | акустический, индукционный | |||
| Замыка-ние между фазами | Rп<=100 | импульсный | индукционный | ||
| Обрыв жил заземле-нием и без заземле-ния | Rп>106 | импульсный, колебательного разряда | акустический, индукционный, накладная рамка, при Rп= О—индукционный | ||
Rп > 106 | импульсный, колебательного разряда | акустический при Rп= 500 - индукционный | |||
0 | импульсный | акустический, индукционный | |||
| Заплы-вающий пробой | Rп>106 | колебательный разряд | акустический |
Метод колебательного разряда базируется на измерении периода (полупериода) собственных электрических колебаний, которые возникают в КЛ в момент ее пробоя, т. е. при разряде электрической дуги в месте повреждения. Для определения места повреждения по данному методу линию необходимо доводить до пробоя в момент измерений. Последнее предусматривается за счет подачи на линию повышенного напряжения (ниже испытательного). Метод предназначен для определения места повреждения кабельных линий при наличии “заплывающего” пробоя или в тех случаях, когда в месте повреждения отмечаются электрические разряды. “Заплывающий” пробой характеризуется следующими друг за другом пробоями с разными промежутками времени под воздействием повышенного напряжения. При снижении напряжения пробои прекращаются. В некоторых случаях поврежденная линия начинает выдерживать более высокое напряжение, вплоть до испытательного, т. е. изоляция линии временно восстанавливается. Это наблюдается преимущественно в муфтах.
Для измерения расстояния до места повреждения применяются приборы ЭМКС-58М и Ш-4120 с емкостным делителем напряжения, присоединяемые к линии с помощью испытательной ус