Новый многодисковый вариатор с «мягкой» рабочей характеристикой
Нурбей Гулиа, Сергей Юрков
В последнее время, в связи с развитием инверторной техники и частотного регулирования электромашин, нередко высказывается мнение о неперспективности вариаторного привода от электродвигателей с постоянной частотой вращения. Действительно, с помощью инверторной техники можно изменять частоту вращения электродвигателей или получать постоянную частоту тока от генераторов, вращающихся с переменной угловой скоростью. Но электромашины с инверторным регулированием отнюдь не заменяют собой их же, но с вариаторным приводом.
Дело здесь в том, что электромашины при инверторном регулировании должны выбираться исходя из максимального крутящего момента, проходящего через них. При заданной мощности это означает, что работа на минимальных частотах вращения требует электромашин с самыми большими габаритно-массовыми показателями. Усугубляет положение пониженная эффективность работы большинства электромашин на низких частотах тока.
Анализ показывает, что привод с электромашиной постоянной частоты вращения и вариатором существенно эффективнее привода от электромашин с частотным регулированием и машин постоянного тока, особенно по массе агрегата, и, разумеется, стоимости. Так, например, получить максимальный крутящий момент около 100Нм при интервале рабочих частот вращения 200...2200об/мин можно с помощью мотор-вариатора с асинхронным электродвигателем мощностью 2,2кВт общей массой 30кг, электродвигателя постоянного тока с последовательным возбуждением мощностью 3кВт и массой 125кг, а также асинхронного электродвигателя с частотным регулированием мощностью 30кВт с инвертором общей массой около 200кг. При этом КПД установок с асинхронным электродвигателем соизмерим и колеблется между 0,7 и 0,8 в зависимости от крутящего момента, а у электродвигателя постоянного тока он сильно падает, примерно до 0,3 при максимальном моменте.
Преимущество вариаторного привода наиболее отчетливо наблюдается при больших мощностях привода, когда массы агрегатов существенны, либо когда имеются жесткие ограничения к массам агрегатов. Например, согласно расчетам, наличие вариатора вместо инверторного регулирования на мощных, порядка мегаватта и более, ветроустановках позволяет снизить массу генератора в 2...3 раза, а она сейчас порядка 10 тонн и выше. Масса же генератора существенно влияет на массу и стоимость вышки ветроустановки высотой около 120м. К тому же ветроустановки обычно работают при мощностях менее 25% от установочной, а КПД инверторов при таких недогрузках гораздо меньше, чем у описываемого вариатора с оптимизированным, зависящим от мощности нажимом (сказанное относится к германским ветроустановкам, с которыми авторы знакомы по работе).
Очень полезен в понимании этого вопроса пример из автомобильной техники. Известно, что двигатель автомобиля, также как и электромашина с частотным регулированием, позволяет менять частоту вращения в широких пределах регулировкой подачи топлива. Однако попытка обойтись в приводе автомобиля без коробки передач, безразлично, ступенчатой или бесступенчатой, привела бы к хорошо понятному результату – двигатель стал бы иметь массу, соизмеримую с остальной частью автомобиля. Или автомобиль стал бы разгоняться с интенсивностью товарного поезда.
Прототипом нового вариатора является с нашей точки зрения наиболее перспективный планетарный дисковый вариатор по патенту Великобритании №1384679, F16H15/50, 19.02.75г. долгое время успешно выпускаемый, в частности, германской фирмой «Lenze» под названием «Disco» (рис.1).

Рис. 1. Вариатор «Disco» фирмы «Lenze»: 1 – ведомый вал; 2 – неподвижное кольцо муфты; 3 – диск сателлитов; 4 – нажимное кольцо муфты; 5 – ось сателлита; 6 – сателлит; 7 – упорное кольцо; 8 – внутреннее солнечное колесо; 9 – пакет пружин; 10 – вал электродвигателя
На валу 10 электродвигателя установлено внутреннее солнечное колесо 8, вращающееся с практически постоянной угловой скоростью. Наружное солнечное колесо состоит из упорного кольца 7 и нажимного кольца муфты 4. Между внутренним и наружным солнечными колесами находятся сателлиты 6, установленные на осях 5. Сателлиты свободно перемещаются в радиальном направлении в гнездах диска 3, через который крутящий момент передается на ведомый вал 1.
Изменение передаточного отношения в вариаторе «Disco» производится при работающей передаче принудительно, путем вращения через винтовую или червячную передачу. При вращении нажимного кольца муфты, имеющего как и неподвижное кольцо 2, волнообразный профиль, происходит его перемещение в осевом направлении, вследствие чего изменяется зазор между нажимным и упорным кольцами. При уменьшении зазора сателлиты выдавливаются к центру, сжимая пакет пружин 9. Передаточное отношение вариатора при этом уменьшается. При вращении нажимного кольца в другую сторону зазор увеличивается и промежуточные конические диски под действием пакета пружин устремляются на периферию, повышая передаточное отношение.
Следует заметить, что последние серии вариаторов «Disco» снабжены сервосистемой с дополнительным двигателем и приводом для автоматического изменения передаточного отношения, например, в зависимости от момента сопротивления на выходном валу.
Планетарная схема вариатора кроме высокой компактности обеспечивает повышенные значения КПД, особенно на малых передаточных отношениях, близких к единице (напомним, что при передаточном отношении, равном единице весь планетарный механизм работает как одно целое без потерь на прокручивание). Это свойство особенно важно для автомобилей, так как наибольшие мощность двигателя и время работы здесь происходит именно на таких передаточных отношениях, называемых в автомобилестроении «высшими». Следует отметить, что именно дисковый вариатор, в отличие от вариаторов других типов, наилучшим образом подходит для планетарной схемы, так как все его рабочие элементы вращаются в одной плоскости и не подвержены весьма высоким гироскопическим воздействиям, пагубно влияющим на подшипники сателлитов. Вариаторы же с гибкой связью практически непригодны для использования по планетарной схеме. По своей несущей способности и эксплуатационным показателям – это один из лучших вариаторов.
Однако вариаторам «Disco» присущи следующие существенные недостатки, анализ которых необходим для понимания работы нового вариатора.
Невозможность повышения передаваемого крутящего момента и мощности путем простого увеличения числа рядов дисков, так, как это делается в многодисковых вариаторах. Это происходит из-за того, что внешние и внутренние центральные фрикционные диски при изменении передаточного отношения перемещаются в противоположных направлениях. Например, при сближении внешних дисков, внутренние раздвигаются, и наоборот.
Внешние и внутренние фрикционные диски представляют собой жесткие, практически недеформируемые в осевом направлении элементы, из-за чего усилие нажима воспринимают при шести сателлитах лишь 70% точек контакта. Это вызывает падение КПД и допускаемых контактных напряжений, повышает вероятность заеданий и требует весьма точного выполнения дисков-сателлитов по толщине (жесткий допуск на разнотолщинность), что повышает стоимость изделия.
Весьма неблагоприятные условия нажима фрикционных дисков, связанные со способом регулирования передаточного отношения. Нажимы во внешнем и во внутреннем фрикционных контактах без учета центробежных воздействий в этих вариаторах одинаковы, причем они повышаются при увеличении частоты вращения выходного вала, то есть при уменьшении передаточного отношения («выдавливании» сателлитов к центру). В этом же положении максимальны центробежные эффекты сателлитов, дополнительно существенно нагружающие их зоны контактов с внутренними дисками. Анализ показывает, что требуемые, то есть оптимальные нажимные усилия прямо противоположны имеющимся, из-за чего при малых передаточных отношениях сильно – в десятки раз – перегруженными оказываются контакты сателлитов с внешними дисками. Следствия этих пережимов видны из рис.2, на котором приведены экспериментальные зависимости КПД вариатора «Disco» и нового планетарного дискового прогрессивного вариатора от частоты вращения выходного вала. Наибольшее падение КПД наблюдается у вариаторов «Disco» в наиболее используемом, особенно для автомобилей, режиме максимальных частот вращения выходного вала (минимальных передаточных отношений).

Рис. 2. Экспериментальные графики зависимости КПД от частоты вращения выходного вала: 1 – нового планетарного дискового прогрессивного вариатора; 2 – вариатора «Disco» фирмы «Lenze»
Способ регулирования передаточного отношения вариаторов «Disco», определяемый их конструкцией, неприменим для их использования на автомобилях и других машинах с динамичным изменением режимов работы. Помимо неблагоприятных условий нажима дисков, вызываемых этим способом, даже при наличии сервосистемы изменения передаточного отношения, системы датчиков и электронного блока управления, реакция механизма на увеличения усилия прижима внешних дисков (а именно так происходит изменение передаточного отношения) наступает весьма нескоро. Перемещение сателлитов происходит из-за упругих деформаций стальных жестких дисков и осуществляется очень медленно – до 250 секунд. Оперативного изменения передаточного отношения путем непосредственного перемещения сателлитов здесь осуществить нельзя.
Между тем сама планетарная схема дискового вариатора настолько перспективна по сравнению с другими вариаторами, что авторы сочли целесообразным создать на этой основе вариатор, лишенный отмеченных недостатков и обеспечивающий следующие полезные свойства.
Многодисковость конструкции при совмещении по оси внешних и внутренних рядов фрикционных дисков. Это позволит повышать несущую способность вариатора пропорционально числу рядов дисков при незначительном увеличении его габаритов по длине.
Равномерность прижима всех зон контактов при любом числе сателлитов, что позволяет избежать заеданий при высоких значениях контактных напряжений, допустимых для точечного исходного контакта. Достигается это использованием упруго-податливых центральных фрикционных дисков, компенсирующих разнотолщинность сателлитов.
Оптимизированный автоматический прижим фрикционных дисков, зависящий от передаточного отношения вариатора. Это позволяет учитывать изменяющийся коэффициент упругогидродинамического (УГД) трения во фрикционных контактах, также зависящий от передаточного отношения вариатора. Анализ показывает, что для большого числа важнейших применений вариаторов этот способ прижима фрикционных элементов наиболее подходит.
Это относится, например, к приводам от электромашин переменного тока с практически постоянной частотой вращения. Обеспечивая наилучшие показатели при максимальной мощности, такой способ прижима практически не снижает эффективности и при уменьшении потребляемой мощности в 2...3раза, так как пережим в это число раз очень незначительно снижает КПД (сравните с пережимом в десятки раз у вариаторов «Disco»).
Это же относится к наиболее массовому и перспективному потребителю вариаторов – автомобилю. Не вдаваясь в нюансы этого достаточно сложного вопроса, отметим, что на режимах полной подачи топлива, а именно на этих режимах работают современные системы автомобильных трансмиссий с вариаторами, зависимость прижима дисков от передаточного отношения наиболее эффективна. На частичных режимах подачи топлива предполагается работать только в редких случаях, да и при этом КПД самого двигателя снижается настолько резко, что незначительное снижение КПД вариатора из-за пережима дисков здесь окажется практически незаметным.
На таких потенциально массовых потребителях вариаторов с высоким КПД как ветроэлектростанции, предполагаемый способ нажима наилучший, так как здесь все силовые параметры вариатора, в том числе и нажим, зависят от частоты вращения ветроколеса, а это при постоянной частоте вращения генератора означает, что и от передаточного отношения вариатора.
Главное, на наш взгляд, свойство – это саморегулируемость, адаптивность, или используя применяемый для вариаторов термин – «прогрессивность». Это свойство особенно ценно тогда, когда оно достигается не использованием дополнительных сложных, дорогих и ненадежных силовых сервосистем с датчиками, электронными блоками управления и серводвигателями с исполнительными механизмами, а органически свойственно данной конструкции вариатора. Это достигается в конструкции нового вариатора объединением систем нажима и изменения передаточного отношения. К тому же предусмотрена возможность принудительного (по желанию оператора) изменения на ходу степени этой прогрессивности или «мягкости» зависимости частоты вращения от момента сопротивления на выходе. Разумеется, предусмотрено и непосредственное принудительное изменение передаточного отношения, в том числе в ряде случаев и на неподвижном вариаторе, что принципиально невозможно на вариаторах «Disco» и на подавляющем большинстве других фрикционных вариаторов.
Эти свойства нового вариатора, работа над которым ведется в Московском государственном индустриальном университете (МГИУ) около 20 лет, отражены в патентах России (1, 2).
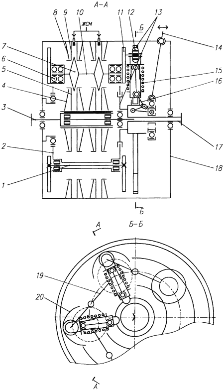
Принципиальная схема вариатора представлена на рис.3. На этой схеме вариатор включает всего два ряда центральных фрикционных дисков – неподвижных внешних 9, установленных в корпусе 18, и внутренних 5с зажатыми между ними сателлитами 7 при помощи тарельчатых (или просто плоских дисковых) пружин 4 и 8, соответственно. Однако по схеме понятно, что этих рядов может быть сколь угодно много, сколько выдержат по прочностным и жесткостным показателям оси сателлитов 10, и их подшипники 6. Не исключаются и промежуточные поддерживающие опоры на осях 10, преимущественно при числе рядов выше четырех. Число сателлитов в одном ряде преимущественно шесть, как и в вариаторах «Disco», хотя для мощных устройств с малым диапазоном варьирования (например, для мощных ветроустановок), их может быть до 12. Подшипники 6 осей 10 находятся на одном конце поворотных рычагов 19, на других концах которых размещены противовесы 11, одна группа которых снабжена роликами 12, находящимися в фасонных прорезях 20 диска 13, связанного с выходным валом 17.

Рис. 3. Схема нового планетарного дискового прогрессивного вариатора: 1 – ось поворотных рычагов; 2 – водило; 3 – входной вал; 4 – тарельчатая пружина; 5 – внутренний центральный фрикционный диск; 6 – подшипники сателлитов; 7 – сателлит; 8 – плоская дисковая пружина; 9 – неподвижный внешний центральный фрикционный диск; 10 – ось сателлитов; 11 – противовес; 12 – ролик; 13 – прорезной диск; 14 – рычаг; 15 – пружина; 16 – рычажный механизм; 17 – выходной вал; 18 – корпус-эпицикл; 19 – поворотный рычаг; 20 – фасонная прорезь прорезного диска; ЖСМ – жидкий смазочный материал.
Поворотные рычаги 19 сидят на осях 1, закрепленных в водиле 2. Ролики 12 отжимаются на периферию пружинами 15, усилие которых может изменяться принудительно с помощью рычажного механизма 16, воздействие на который осуществляется рычагом 14. Рычаг может передвигаться как вручную (например, с помощью винтового механизма, если нужно принудительно устанавливать нужные передаточные отношения), так и с помощью усилителей, имеющих упругую характеристику (например, пневмокамер, управляемых от пневмосистемы). Следует отметить, что вариатор является прогрессивным и без механизма изменения усилия пружин. Но тогда он будет иметь всего одну «мягкую» рабочую характеристику, например, как у гидротрансформатора или электродвигателя постоянного тока с последовательным возбуждением. Описанный механизм изменения усилия пружин (как в сторону его уменьшения, так и увеличения) изменяет лишь степень «мягкости» характеристики вариатора, позволяя работать на любом режиме, что особенно важно для автомобильной автоматической трансмиссии. В таком случае рычаг 14 будет связан с педалью управления скоростью автомобиля, с дополнительным усилителем или без него.
При изменении крутящего момента на выходном валу 17, ролик 12, находящийся до этого в прорези 20 в уравновешенном состоянии, под действием усилий пружин 4, 8, 15, тангенциальных усилий рабочего момента и других усилий в механизме вариатора, изменяет свое положение в прорези, меняя при этом передаточное отношение. Нажимные пружины 4 и 8 при этом упруго деформируются за счет расклинивающего действия сателлитов, что при вращении фрикционных дисков связано с ничтожным сопротивлением трению, и имея специально подобранные характеристики «сила-деформация», обеспечивают оптимальный по КПД нажим фрикционных дисков, с запасом β=1,25...1,5. Прорезь 20 может быть выполнена и такого профиля, когда она лишь уменьшает или полностью устраняет усилие перевода ролика 12 при изменении передаточного отношения. Таким образом, свойство прогрессивности является как бы «врожденным» свойством, присущим конструкции вариатора, и достигается лишь подбором формы прорези 20 и жесткости пружины 15.
Опытный образец описанного вариатора в виде мотор-вариатора был рассчитан и спроектирован авторами данной работы и изготовлен на АМО ЗИЛ по совместному тематическому плану с Московским государственным индустриальным университетом (МГИУ). При расчете вариатора были использованы созданные при участии авторов методики и программы (3). Проектирование вариатора осуществлялось в системе трехмерного моделирования CATIA (рис.4). Заметим, что опытный образец мотор-вариатора, имеющий самостоятельное значения для общепромышленного назначения, для АМО ЗИЛ является первым этапом создания автоматической бесступенчатой коробки передач, в частности для автобуса ЗИЛ-3250.

Рис. 4. Изометрия мотор-вариатора
Для испытаний мотор-вариатор был снабжен тормозным устройством с водяным охлаждением тормозного барабана и с возможностью регулирования тормозного момента (рис.5).

Рис. 5. Общий вид мотор-вариатора с тормозным устройством
Испытания опытного образца показали, что вариатор действительно является прогрессивным, имея «мягкую» характеристику, представленную на рис.6.

Рис. 6. Зависимость крутящего момента на выходе Мвых от частоты вращения выходного вала n2 и передаточного отношения i мотор-вариатора
При этом на высоких передаточных отношениях, в данном случае кинематическом, равном i=9, а реальном около i=13, проскальзывание достигало 35%, а значение передаваемого крутящего момента все возрастало. Эту необыкновенную «живучесть» фрикционного вариатора мы объясняем высоким значением фактора верчения при высоких передаточных отношениях данного вариатора. Похожий эффект возрастания коэффициента УГД-трения при высоких значениях проскальзывания и фактора верчения был получен проф. H.Vojacek в трибологической лаборатории в г. Гмунде, Германия (4). Как известно, при малых значениях фактора верчения уже небольшие значения скольжения вызывают падение коэффициента УГД-трения и буксование фрикционной передачи, что показано многочисленными испытаниями на роликовых стендах.
Концепция нового прогрессивного вариатора в его автомобильном назначении в качестве автоматической бесступенчатой коробки передач была описана в (5, 6), в качестве составной части автомобильного гибрида в (7, 8), и в качестве нового перспективного типа движителя автомобиля, где вариатор встроен в ступицу ведущего колеса – вариоколеса, в (9).
Наиболее крупной спроектированной конструкцией на основе разработанного вариатора является вариатор-мультипликатор для ветроустановки мощностью 680кВт. Следует заметить, что сдвоенный вариатор такой мощности с одним механизмом управления, расположенным в середине, может передать мощность 1,5МВт, что достаточно для самой распространенной в перспективе модели ветроустановки. Следует отметить, что как мощность, передаваемая через каждую зону контакта при этом, так и особенно мощность потерь, переходящая в тепло, здесь значительно меньшие, чем способна передать зона контакта даже меньшего размера, что показано испытаниями на стендах (10).
В качестве жидкого смазочного материала (ЖСМ) предполагается использование как моторного масла (например, для коробки передач к автобусу ЗИЛ-3250, имеющей большой запас по мощности), так и специально разработанных трактантов «Santotrac» и «Variotrac», широко выпускаемых в США и Германии, а также отечественного трактанта ВТМ-1. Заметим, что использование трактантов существенно повышает несущую способность, долговечность и КПД вариаторов и перспективы их применения сомнений не вызывают.
Многодисковый планетарный вариатор / Н.В.Гулиа. – Патент России №2140028; 26.05.98.
Автоматическая бесступенчатая передача / Н.В.Гулиа. – Патент России №2138710; 16.06.98.
Гулиа Н.В., Юрков С.А., Петракова Е.А., Ковчегин Д.А., Волков Д.Б.Методика расчета основных параметров фрикционного дискового вариатора // Справочник. Инженерный журнал. – 2001. – №1. – С.30...39.
Vojacek H., Traktionsfluide Struktur und Eigenschaften vor alle Reibungsverhalten, Elmatik GmbH, 8036 Herrsching 2/BRD, 1985.
Отрохов В.П., Гулиа Н.В., Петракова Е.А., Юрков С.А.Бесступенчатая коробка передач для ЗиЛ-5301 // Автомобильная промышленность. – 1998. –№7. – С.16...18.
Гулиа Н.В., Власов А.Е., Юрков С.А.Механическая бесступенчатая передача для грузовых автомобилей и автобусов. Перспективы использования // Грузовик & Автобус, троллейбус, трамвай. – 1999. – №12. – С.7...12.
Гулиа Н.В., Юрков С.А.Гибридные силовые агрегаты для городских автобусов // Грузовик & Автобус, троллейбус, трамвай. – 2000. – №1. – С.10...14.
Гулиа Н.В., Юрков С.А.Новая концепция электромобиля // Автомобильная промышленность. – 2000. – №2. – С.14...17.
Гулиа Н.В., Мартин Ф., Юрков С.А.Вариоколесо и его перспективы для автомобилей // Автомобильная промышленность. – 2000. – №10. – С.19...21.
Елманов И.М., Колесников В.И.Термовязкоупругие процессы трибосистем в условиях упругогидродинамического контакта. – Ростов-на-Дону: Центр Высшей школы, 1999. – 173с.