Электрический ток в неметаллах
- Электролиты. Электролиз.
- Законы электролиза
Электролиты - вещества, растворы или расплавы которых проводят электрический ток. Электролиты - класс проводников, в которых электрический ток всегда сопровождается их химическими изменениями. К электролитам относят, например, растворы солей, кислот и щелочей. Электролитами также являются в ряде случаев расплавы каких-либо веществ или соединений.
Электролиз - выделение вещества на электродах при прохождении через раствор (электролит) электрического тока.
Законы электролиза.
Законы электролитической проводимости были экспериментально установлены Фарадеем в 1836 г. этих законов два.
Первый закон Фарадея относится к связи между количеством выделившегося вещества на электроде, силой тока и временем прохождения тока через электролит. Этот закон имеет следующий смысл: масса выделившегося на электроде вещества M пропорциональна силе тока I и временем его прохождения через электролит t.
,
где k-коэффициент пропорциональности, зависящий только от рода выделившегося вещества и электролита.
Произведение силы тока I на время t представляет собой количество вещества Q, прошедшее через электролит:
It=Q,
откуда первому закону Фарадея можно придать вид:
M=kQ,
т.е. масса выделившегося вещества M пропорциональна прошедшему через электролит количеству электричества Q. Коэффициент k называется электрохимическим эквивалентом выделяемого вещества.
Так как при Q=1 численно имеем:
M=k,
то, следовательно, электрохимический эквивалент численно равен массе вещества, выделившегося при прохождении через электролит единицы количества вещества.
Второй закон Фарадея определяет величину электрохимического эквивалента k.
Химическим эквивалентом элемента называется безразмерная величина, численно равная массе данного элемента, выраженная в граммах, которая замещает в химических соединениях 1,0078 г водорода.
Второй закон Фарадея состоит в том, что электрохимические эквиваленты элементов пропорциональны их химическим эквивалентам.
,
где А – атомный вес вещества
п – его валентность
С – коэффициент пропорциональности, одинаковый для всех элементов.
Обычно вместо коэффициента С вводят величину, обратную:
![]()
тогда второй закон Фарадея примет вид:
![]()
Величина F называется числом Фарадея. Подставляя значение электрохимического эквивалента k из этой формулы в выражение для первого закона Фарадея, получим формулу, объединяющую оба закона Фарадея:
![]()
отсюда следует, что если выделяется один грамм-эквивалент вещества, т.е. масса М, численно равная А/п, то Q должно численно равняться F.
Таким образом, число Фарадея F численно равно количеству электричества Q, при прохождении которого через электролит на электроде выделяется один грамм-эквивалент вещества.
![]()
1.2. Применение электролиза
Как известно, два одинаковых металлических электрода, погруженных в электролит, после прохождения через них электрического тока поляризуются и образуют гальванический элемент, который сам некоторое время может служить источником электрического тока. Таким образом, создавая систему из двух одинаковых проводников первого рода (электролита), мы получим аккумулятор.
Однако чтобы аккумулятор оказался практически ценным, он должен удовлетворять двум условиям:
а) поляризация электродов должна быть устойчива,
б) процессы, происходящие в аккумуляторе, должны быть обратимы.
Первый технический аккумулятор представлял собой две свинцовые пластины, погруженные в водяной раствор серной кислоты
(Н
SO
). Свинцовые пластины, вступая в реакцию с серной кислотой, покрываются слоем сернокислового свинца PbSO
. При пропускании через него ток от внешнего источника (зарядка) отрицательные ионы SO
перемещаются к аноду и превращают сульфат в перекись свинца:
PbSO
+SO
+2H
O = PbO
+2H
SO
+2e
Положительные водородные ионы перемещаются к катоду и восстанавливают сульфат в металлический синец:
PbSO
+2H +2e = Pb + H
SO
.
Таким образом, создается резкая несимметрия электродов: один из них свинцовый, другой – из перекиси свинца. Аккумулютор «заряжен», и представляет собой гальванический элемент, способный служить источником тока.
Давая ток во внешнюю цепь, аккумулятор разряжается, процессы протекают в нем в обратном порядке. В конце разряжения обе пластины оказываются покрытыми одинаковыми слоями сульфата свинца, и Э.Д.С. аккумулятора спадает до нуля.
- Электрический ток в газах
2.1. Ионизация газов
Газы в естественном состоянии не проводят электричества. Если поместить в сухом атмосферном воздухе хорошо изолированное заряженное тело, например заряженный электрометр с хорошей изоляцией, то заряд электрометра долгое время практически остается неизменным.
Однако, подвергая газ различным внешним воздействиям, можно вызвать в нем электропроводность. Так, например, помещая вблизи заряженного электрометра пламя горелки, можно видеть, что заряд электрометра быстро уменьшается. Мы сообщили газу электропроводность, создавая в нем высокую температуру. Если бы вместо пламени горелки мы поместили вблизи электрометра подходящий источник света, мы также наблюдали бы утечку зарядов с электрометра.
Это показывает, что в газах под влиянием высокой температуры и различных излучений появляются заряженные частицы. Они возникают потому, что от атомов газа отщепляется один или несколько электронов, в результате чего вместо нейтрального атома возникают положительный ион и электроны. Часть образовавшихся электронов может быть при этом захвачена другими нейтральными атомами, и тогда появятся еще и отрицательные ионы.
Отрыв электрона от атома (ионизация атома) требует затраты определенной энергии - энергии ионизации. Она зависит от строения атома и поэтому различна для разных веществ.
После прекращения действия ионизатора число ионов в газе с течением времени уменьшается и конце концов ионы исчезают вовсе. Исчезновение ионов объясняется тем, что ионы и электроны участвуют в тепловом движении и поэтому соударяются друг с другом. При столкновении положительного иона и электрона они воссоединяются в нейтральный атом. Точно так же при столкновении положительного и отрицательного ионов отрицательный ион может отдать свой избыточный электрон положительному иону и оба они превратятся в нейтральные атомы. Это процесс взаимной ионизации ионов называется рекомбинацией ионов.
При рекомбинации положительного иона и электрона или двух ионов высвобождается определенная энергия, равная энергии, затраченной на ионизацию. Она излучается в виде света, и поэтому рекомбинация ионов сопровождается свечением (свечение рекомбинации). Если концентрация положительных и отрицательных ионов велика, то и число ежесекундно происходящих актов рекомбинации будет большим, и свечение рекомбинации может быть очень сильным. Излучение света при рекомбинации является одной из причин свечения многих форм газового разряда.
Ионизация электронными ударами.
В явлениях электрического разряда в газах большую роль играет ионизация атомов электронными ударами. Процесс заключается в том, что движущийся электрон, обладающий достаточной кинетической энергией, при соударении с нейтральным атомом выбивает из него один или несколько атомных электронов, в результате чего нейтральный атом превращается в положительный ион, а в газе появляются новые электроны.
Опыты Джеймса Франка и Густава Герца. Исследуемый газ при давлении порядка 0,1 - 0,01 мм рт.ст. вводится в стеклянную трубку, которая сначала откачивается до высокого вакуума (для удаления других газов). Трубка имеет накаливаемый катод , сетку и коллектор ионов . На сетку подается положительный ( относительно катода) потенциал, который можно изменять при помощи делителя напряжения и измерять вольтметром . На коллектор ионов накладывается отрицательный потенциал, на 0,5 - 1,0 В больший, чем потенциал катода. Эта небольшая разность потенциалов снимается с делителя напряжения, положительный конец которого соединен с катодом.
Расстояние катод-сетка в таких трубках делают значительно меньшим, чем расстояние сетка-коллектор, и подбирают давление газа так, чтобы средняя длина свободного пробега электронов в газе была больше расстояния между сеткой и катодом. Поэтому электроны, испущенные катодом, движутся в пространстве катод-сетка практически без соударений, и если разность потенциалов (выраженная в вольтах), между сеткой и катодом равна, то каждый электрон приобретает кинетическую энергию (выраженную в электрон-вольтах). Электроны, ускоренные сеткой, испытывают затем соударения с атомами газа в пространстве между сеткой и коллектором.
Так как потенциал коллектора ниже, чем потенциал катода, то в отсутствии ионизации все электроны тормозятся, не долетая до коллектора, и поэтому ток через гальванометр равен нулю. Если, однако, постепенно повышать разность потенциалов между сеткой и катодом , то, когда энергия электронов сделается равной энергии ионизации, то в пространстве сетка - коллектор появятся положительный ионы. Поэтому, измеряя наименьший потенциал сетки, при котором впервые появляется ток коллектора, можно найти энергию ионизацию атомов исследуемого газа.
Метод Франка и Герца не является единственным методом измерения энергии ионизации. Она может быть определена также из исследования линейчатых спектров свечения разреженных газов и паров, причем с довольно большой точностью. Значения энергии ионизации, найденные по спектрам, хорошо совпадают с ее значениями, определенными методом электронных ударов.
2.2. Самостоятельный и несамостоятельный разряд
2.2.1. Тлеющий разряд
Тлеющий разряд удобно наблюдать при пониженном давлении газа. Если к электродам, впаянным в стеклянную трубку длиной 30-50 см, приложить постоянное напряжение в несколько сот ампер и затем постепенно откачивать воздух из трубки, то наблюдается следующее явление : при атмосферном давлении приложенное напряжение недостаточно для пробоя газа и трубка остается темной. При уменьшении давления газа в некоторый момент в трубке возникает разряд, имеющий вид светящегося шнура. При дальнейшем уменьшении давления этот шнур расширяется и заполняет все сечение трубки.
Особое значение в тлеющем разряде имеют только две его части - катодное темное пространство и тлеющее свечение, в которых и происходят основные процессы, поддерживающие разряд.
Характерным для тлеющего разряда является особое распределение потенциала по длине трубки. Его можно определить, впаивая в трубку ряд дополнительных электродов - зондов, расположенных в различных местах трубки, и присоединяя между катодом и соответствующим зондом вольтметр с большим сопротивлением. Почти все падения потенциала в разряде приходятся на область катодного темного пространства. Эта разность потенциалов между катодом и границей тлеющего свечения получила название катодного падения потенциала.
Существование катодного темного пространства объясняется тем, что электроны начинают сталкиваться с атомами газа не сразу, а лишь на некотором расстоянии от катода. Ширина катодного темного пространства приблизительно равна средней длине свободного пробега электронов : она увеличивается с уменьшением давления газа. Следовательно, в катодном темном пространстве электроны движутся практически без соударения.
Катодное падение потенциалов необходимо для поддержания тлеющего разряда. Именно благодаря его наличию положительные ионы приобретают необходимую энергию для образования интенсивной вторичной электронной эмиссии с катода, без которой тлеющий разряд не мог бы существовать. Поэтому катодное падение потенциала есть наиболее характерный признак тлеющего разряда, отличающий эту форму газового разряда от всех других форм.
Тлеющий разряд широко используют в качестве источника света в различных газоразрядных трубках. В лампах дневного света излучение тлеющего разряда поглощается слоем специальных веществ, нанесенных на внутреннюю поверхность трубки, которые под действием поглощенного излучения в свою очередь начинают светиться. Такие трубки оказываются более экономичными нежели обычные лампы накаливания.
Газоразрядные трубки применяются также для рекламных и декоративных целей, для чего им придают очертания различных фигур и букв. Наполняя трубки различными газами, можно получить свечение разной окраски.
В лабораторной практике используют тлеющий разряд для катодного распыления металлов, так как вещество катода в тлеющем разряде постепенно переходит в парообразное состояние и оседает в виде металлического налета на стенках трубки.
2.2.2. Искровой разряд
При достаточно большой напряженности поля (около 3 МВ/м) между электродами появляется электрическая искра, имеющая вид ярко светящегося извилистого канала, соединяющего оба электрода. Газ вблизи искры нагревается до высокой температуры и внезапно расширяется, отчего возникают звуковые волны, и мы слышим характерный треск.
Описанная форма газового разряда носит название искрового разряда или искрового пробоя газа. При наступлении искрового разряда газ внезапно утрачивает свои диэлектрические свойства и становится хорошим проводником. Напряженность поля, при которой наступает искровой пробой газа, имеет различное значение у разных газов и зависит от их состояния (давления, температуры). Чем больше расстояние между электродами, тем большее напряжение между ними необходимо для наступления искрового пробоя газа. Это напряжение называется напряжением пробоя.
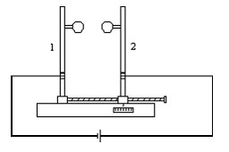
Зная, как зависит напряжение пробоя от расстояния между электродами какой-либо определенной формы, можно измерить неизвестное напряжение по максимальной длине искры. На этом основано устройство искрового вольтметра для грубой больших напряжений.
|
Он состоит из двух металлических шаров, закрепленных на стойках 1 и 2, 2-я стойка с шаром может приближаться или удаляться от первой при помощи винта. Шары присоединяют к источнику тока, напряжение которого требуется измерить, и сближают их до появления искры. Измеряя расстояние при помощи шкалы на подставке, можно дать грубую оценку напряжению по длине искры (пример: при диаметре шара 5 см и расстоянии 0,5 см напряжение пробоя равно 17,5 кВ, а при расстоянии 5 см – 100 кВ).
Возникновение пробоя объясняется следующим образом: в газе всегда есть некоторое число ионов и электронов, возникающих от случайных причин. Однако, число их настолько мало, что газ практически не проводит электричества. При достаточно большой напряженности поля кинетическая энергия, накопленная ионом в промежутке между двумя соударениями, может сделаться достаточной, чтобы ионизировать нейтральную молекулу при соударении. В результате образуется новый отрицательный электрон и положительно заряженный остаток – ион.
Свободный электрон 1 при соударении с нейтральной молекулой расщепляет ее на электрон 2 и свободный положительный ион. Электроны 1 и 2 при дальнейшем соударении с нейтральными молекулами снова расщепляет их на электроны 3 и 4 и свободные положительные ионы, и т.д.
Такой процесс ионизации называют ударной ионизацией, а ту работу, которую нужно затратить, чтобы произвести отрывание электрона от атома – работой ионизации. Работа ионизации зависит от строения атома и поэтому различна для разных газов.
Образовавшиеся под влиянием ударной ионизации электроны и ионы увеличивает число зарядов в газе, причем в свою очередь они приходят в движение под действием электрического поля и могут произвести ударную ионизацию новых атомов. Таким образом, процесс усиливает сам себя, и ионизация в газе быстро достигает очень большой величины. Явление аналогично снежной лавине, поэтому этот процесс был назван ионной лавиной.
Образование ионной лавины и есть процесс искрового пробоя, а то минимальное напряжение, при котором возникает ионная лавина, есть напряжение пробоя.
Таким образом, при искровом пробое причина ионизации газа заключается в разрушении атомов и молекул при соударениях с ионами (ударная ионизация).
2.2.3. Электрическая дуга
Если после зажигания искового разряда постепенно уменьшат сопротивление цепи, то сила тока в искре будет увеличиваться. Когда сопротивление цепи станет достаточно малым, возникает новая форма газового разряда, называемая дуговым разрядом. При этом сила тока резко увеличивается, а напряжение на разрядном промежутке уменьшается до нескольких десятков вольт. Это показывает, что в разряде возникают новые процессы, сообщающие газу очень большую проводимость.
В настоящее время электрическую дугу чаще всего получают между специальными угольными электродами. Наиболее горячим местом дуги является углубление, образующееся на положительном электроде и называемое «кратером дуги». Его температура равна 4000 К, а при давлении в 20 атм превышает 7000 К.
Дуговой разряд возникает во всех случаях, когда вследствие разогревания катода основной причиной ионизации газа становится термоэлектронная эмиссия. Например, в тлеющем разряде положительные ионы, бомбардирующие катод, не только вызывают вторичную эмиссию электронов, но и нагревают катод. Поэтому, если увеличивать силу тока в тлеющем разряде, то температура катода увеличивается, и когда она достигает такой величины, что начинается заметная термоэлектронная эмиссия, тлеющий разряд переходит в дуговой. При этом исчезает и катодное падение потенциала.
Электрическая дуга является мощным источником света и широко применяется в проекционных, прожекторных и других установках. Расходуемая ею удельная мощность меньше, чем у ламп накаливания.
В качестве источников света употребляют также дуговые лампы высокого давления. Зажигание дуги производится разрядом от источника высокого напряжения с помощью третьего электрода. Вследствие высокой температуры дуги ее применяют для сварки и резанья металлов. Автоэлектронные дуги с ртутным катодом применяют для выпрямления переменного электрического тока.
2.2.4. Коронный разряд
Разряд, получивший такое название, наблюдается при сравнительно высоких давлениях газов в сильно неоднородном поле. Для получения значительной неоднородности поля электроды должны иметь очень неодинаковую поверхность, то есть, один - очень большую, другой - очень малую.
Линии напряженности электрического поля сгущаются по мере приближения к проволоке, а, следовательно, напряженность поля возле проволоки имеет наибольшее значение. Когда она достигает приблизительно 3*106 В/м, между проволокой и цилиндром зажигается разряд и в цепи появляется ток. При этом возле проволоки возникает свечение, имеющее вид оболочки или короны, окружающей проволоку, откуда и произошло название разряда.
Коронный разряд возникает как при отрицательном потенциале на проволоке (отрицательная корона), так и при положительном (положительная корона), а также при переменном напряжении между проволокой и цилиндром. При увеличении напряжения между проволокой и цилиндром растет и ток в коронном разряде. При этом увеличивается толщина светящегося слоя короны.
Процессы внутри короны сводятся к следующему: если проволока заряжена отрицательно, то по достижении напряженности пробоя у поверхности проволоки зарождаются электронные лавины, которые распространяются от проволоки к цилиндру. В случае положительной короны электронные лавины зарождаются на внешней поверхности короны и движутся по направлению к проволоке.
Коронный разряд возникает не только возле проволок, но и возле любых проводников с малой поверхностью. Корона возникает также в природе под влиянием атмосферного электрического поля и появляется на верхушках деревьев, корабельных мачт и т.п.
- Термоэлектрические явления и их применение
- Явление Зеебека
Температура — один из важнейших контролируемых параметров технологических процессов практически во всех отраслях народного хозяйства. Большая часть всех температурных измерений приходится на долю термоэлектрических преобразователей, принцип действия которых основан на явлении Зеебека.
В 1821 году немецкий ученый, уроженец г. Ревеля (ныне Таллин), Т. Й. Зеебек (1770-1831) обнаружил, что если спаи двух разнородных металлов, образующих замкнутую электрическую цепь, имеют неодинаковую температуру, то в цепи протекает электрический ток. Изменение знака у разности температур спаев сопровождается изменением направления тока.
Этот факт послужил основой для создания устройства, чувствительным элементом которого является термопара — два проводника из разнородных материалов, соединенных между собой на одном (рабочем) конце, другие два (свободные) конца проводников подключаются в измерительную цепь или непосредственно к измерительному прибору, причем температура свободных концов заранее известна. Термопара образует устройство (или его часть), использующее термоэлектрический эффект для измерения температуры. Под термоэлектрическим эффектом понимается генерирование термоэлектродвижущей силы (термоЭДС), возникающей из-за разности температур между двумя соединениями различных металлов и сплавов (рис. 1), образующих часть одной и той же цепи.

рис. 1.
Термо ЭДС термопары обусловлена тремя причинами . Первая заключается в зависимости уровня Ферми энергии электронов в проводнике от температуры, что приводит к неодинаковым скачкам потенциала при переходе из одного металла в другой в спаях термопары, находящихся при разных температурах. Во-вторых, при наличии градиента температуры электроны в области горячего конца проводника приобретают более высокие энергии и подвижность. Вдоль проводника возникнет градиент концентрации электронов с повышенными значениями энергии, что повлечет за собой диффузию более быстрых электронов к холодному концу, а более медленных к горячему. Но диффузионный поток быстрых электронов будет больше. Кроме того, при наличии градиента температуры вдоль проводника возникает дрейф фотонов — квантов энергии колебаний кристаллической решетки. Сталкиваясь с электронами, фотоны сообщают им направленное движение от более нагретого конца проводника к более холодному. Последние два процесса приводят к избытку электронов вблизи холодного конца и недостатку их вблизи горячего конца. В результате внутри проводника возникает электрическое поле, направленное навстречу градиенту температуры. Таким образом, термо ЭДС термопары возникает только из-за наличия продольного градиента температуры в проводниках, составляющих пару.
Эффект Пельте обратен явлению Зеебека.
При протекании тока в цепи из различных проводников, в местах контактов, в дополнение к теплоте Джоуля, выделяется или поглощается, в зависимости от направления тока, некоторое количество теплоты Q
, пропорциональное протекающему через контакт количеству электричества (то есть силе тока I и времени t): Q
=П/t. Коэффициент П зависит от природы находящихся в контакте материалов и температуры (коэффициент Пельте).
Эффект Томсона, один из термоэлектрических явлений. Он состоит в том, что если вдоль проводника, по которому проходит электрический ток, существует перепад температур, то в дополнение к теплоте, выделяемой в соответствии с законом Джоуля-Ленца, в объёме проводника выделяется или поглощается (в зависимости от направления тока) дополнительное количество теплоты Q (теплота Томсона), пропорциональная силе тока I, времени t, перепаду температур (T2—T1): Q= t (T2—T1) lt. Открыт У. Томсоном (лордом Кельвином) в 1856. Коэффициент Томсона t зависит от природы материала.
- Эмиссионные явления, их применение
- Термоэлектрическая эмиссия
Вакуум является хорошим диэлектриком, так как в нем нет свободных носителей зарядов. Чтобы через вакуум прошел ток в него нужно внести свободную заряженную частицу. Это можно сделать с помощью термоэлектронной эмисии.
Рассмотрим это явление на примере лампы. В лампу впаивается металлический проводник по нему пропускается электрический ток, проводник нагревается и из него вылетают электроны. Происходит и обратный процесс – электроны возвращаются в проводник – процесс рекомбинации.
Если в лампу впаять анод, то электроны начнут двигаться к аноду, в лампе пойдет ток.
Вывод: ток в вакууме представляет собой направленное движение заряженных частиц (электронов).
Работа лампы диода основана на управлении движения электронами.
Лампа диод состоит из :
- Катод
- Анод.
При подачи на анод положительного заряда по лампе пойдет ток. Если увеличить напряжение на аноде, ток увеличится, так как увеличится количество электронов движущихся в сторону катода и увеличивается скорость движения электронов.
Но ток увеличивается не до бесконечности, начиная с некоторого напряжения U
сколько бы не увеличивать напряжение на аноде, величина тока в лампе остается постоянным, возникает ток насыщения. Это объясняется тем, что при данных условиях катод (+) выделяет примерно одинаковое количество электронов, и все они движутся к аноду (-).
Ток насыщения можно увеличить несколькими способами:
- Увеличить температуру подогревателя (сгорит подогрев).
- Покрывают катод оксидом Ba или Sr, эти вещества легко выделяют электроны.
Лампа диод обладает односторонней проводимостью (когда на анод подают положительный заряд) поэтому лампу диод применяют в качестве выпрямителя.
Работа лампы триода основана на управлении током в лампе, для этого внутри лампы ставится сетка.
Триод состоит из:
- Сетка
- Анод
- Катод
- Подогрев.
Сетка всегда заряжена отрицательно и ставится ближе к катоду, так чтобы при малых напряжениях на сетке поле между катодом и сеткой было достаточно большим.
На сетку можно подать такое напряжение, что ни один электрон не пройдет до анода. Такое напряжение называется запирающим. С уменьшением напряжения на сетке ток в лампе возрастает. Если на сетке «0», в лампе возникает ток насыщения. Напряжение на сетке регулируют при помощи сигнала. При не больших изменениях напряжения на сетке сильно изменяется ток в лампе. Чтобы снять с лампы большое напряжение ставится нагрузочное сопротивление – резистор.
| По закону Ома: U Лампа увеличивает напряжение примерна в 100 раз. Применяется в качестве усилителя.
Сетка всегда должна быть заряжена отрицательно или произойдет искажение сигнала. |
4.2. Фотоэлектрическая эмиссия
Явление внешнего фотоэффекта состоит в испускании (эмиссии) электронов с поверхности тела под действием света; для этого явления экспериментально установленные зависимости объединяются квантовой теорией света. Свет есть поток квантов; кванты света, попадая в вещество, поглощаются им; избыточнаяэнергия передается электронами, которые получают возможность покинуть это вещество - конечно, если энергия кванта больше, чем работы выхода электрона (см. "Электронная эмиссия"). Заметим, что квантовый характер света проявляющийся в явлении фотоэффекта, не следует понимать как отрицание волновых свойств света; свет есть и поток квантов, и электромагнитная волна - просто в зависимости от конкретного явления проявляются или квантовые, или волновые свойства. На основе внешнего фотоэффекта создан ряд фотоэлектронных приборов (фотоэлементы различного назначения, фото катоды, фото умножители и т.д.). Внешний фотоэффект играет большую роль в развитии электрических зарядов; фотоэффект в газах определяет распространение электрического заряда в газах при больших давлениях обуславливая высокую скорость распространения стримерной формы разряда
4.3. Вторичная электрическая эмиссия
Вторичная электронная эмиссия, испускание электронов поверхностью твёрдого тела при её бомбардировке электронами. Открыта в 1902 немецкими физиками Аустином и Г. Штарке. Электроны, бомбардирующие тело, называются первичными, испущенные - вторичными. Часть первичных электронов отражается телом без потери энергии (упруго отражённые первичные электроны), остальные - с потерями энергии (неупруго отражённые электроны), расходуемой в основном на возбуждение электронов твёрдого тела, переходящих на более высокие уровни энергии. Если их энергия и импульс оказываются достаточно большими для преодоления потенциального барьера на поверхности тела, то электроны покидают поверхность тела (истинно вторичные электроны). Все три группы электронов присутствуют в регистрируемом потоке вторичных электронов.
Количественно В. э. э. характеризуется коэффициентом В. э. э. σ = iвт/iп , где - iвт ток, образованный вторичными электронами, iп - ток первичных электронов, коэффициент упругого r = ir/iп и неупругого η = iη/iп отражения электронов, а также коэффициентом эмиссии истинно вторичных электронов δ = iδ/iп (ir, iη, iδ - токи, соответствующие упруго отражённым, неупруго отражённым и истинно вторичным электронам, iвт = ir + iδ + iδ).
Коэффициент σ, r, η и δ зависят как от энергии первичных электронов Eп и угла их падения, так и от химического состава, метода изготовления и состояния поверхности облучаемого образца. В металлах, где плотность электронов проводимости велика, образовавшиеся вторичные электроны имеют малую вероятность выйти наружу. В диэлектриках, где концентрация электронов проводимости мала, вероятность выхода вторичных электронов больше. Вместе с тем вероятность выхода электронов зависит от высоты потенциального барьера на поверхности. В результате у ряда неметаллических веществ (окислы щёлочноземельных металлов, щелочно-галоидные соединения) σ > 1. У специально изготовленных эффективных эмиттеров (интерметаллические соединения типа сурьмяно-щелочных металлов, специальным образом активированные сплавы CuAlMg, AgAlMg, AgAlMgZi и др.) s 1. У металлов же и собственных полупроводников значение сравнительно невелико. У углерода (сажи) и окислов переходных металлов σ < 1 ,и они могут применяться как анти эмиссионные покрытия.
4.4. Авто электрическая эмиссия
Автоэлектронная эмиссия - квантово-механическое явление. Ее эмиссионная способность в миллионы раз больше, чем у всех других известных видов эмиссии. Сейчас это явление переживает второе рождение в связи с его замечательными применениями в микроскопии, электронной голографии атомного разрешения, наноэлектронике.
Под электронной эмиссией понимается испускание электронов из твердого тела или какой-либо другой среды. Наибольший интерес представляет эмиссия электронов в вакуум. Тело, из которого испускаются электроны, называется катодом. Электроны не могут самопроизвольно покинуть поверхность катода, так как для этого надо совершить работу против внутренних сил, удерживающих их на границе раздела катод-вакуум. Таким образом, для того чтобы высвободить электроны из катода, необходимо затратить энергию. По способу, которым эта энергия передается катоду, эмиссионные процессы называются термоэмиссией, когда энергия передается электронам при нагревании катода за счет тепловых колебаний решетки; вторичной электронной эмиссией, когда эта энергия передается другими частицами (электронами или ионами, бомбардирующими катод); фотоэлектронной эмиссией, при которой электроны выбиваются квантами света, и т.п.
Автоэлектронной эмиссией называется явление испускания электронов в вакуум с поверхности твердого тела или другой среды под действием очень сильного электрического поля напряженностью F = 107-108 В/см. Для того чтобы создать такие сильные электрические поля, к обычным макроскопическим электродам необходимо было бы прикладывать напряжения в десятки миллионов вольт. Практически автоэлектронную эмиссию можно возбудить при гораздо меньших напряжениях, если придать катоду форму тонкого острия с радиусом вершины в десятые или сотые доли микрона. Сейчас реализованы условия, когда при микроскопических расстояниях катод-анод, равных единицам или долям микрона, и очень малых радиусах кривизны катода r = 20-50 Б (1 Б = 10- 8 см) авто эмиссию удается получать при напряжениях всего в сотни и даже десятки вольт. Среди эмиссионных явлений авто эмиссия занимает особое место, так как это чисто квантовый эффект, при котором для высвобождения электронов из катода не требуется затрат энергии на сам эмиссионный акт в отличие от термо-, фото- и вторичной эмиссии.
Работа против сил, удерживающих электрон внутри катода, обычно представляется в виде энергетической диаграммы. Совершение работы против удерживающих сил равнозначно тому, что электрону требуется преодолеть потенциальный барьер U, созданный этими силами. Основными силами, удерживающими электрон на поверхности катода, являются так называемые силы зеркального изображения, связанные с тем, что электрон, покидающий катод, поляризует электронный газ внутри твердого тела таким образом, как будто он создает внутри положительный заряд, равный по абсолютной величине заряду эмитированного электрона. Взаимодействие между этими зарядами осуществляется по закону Кулона.

